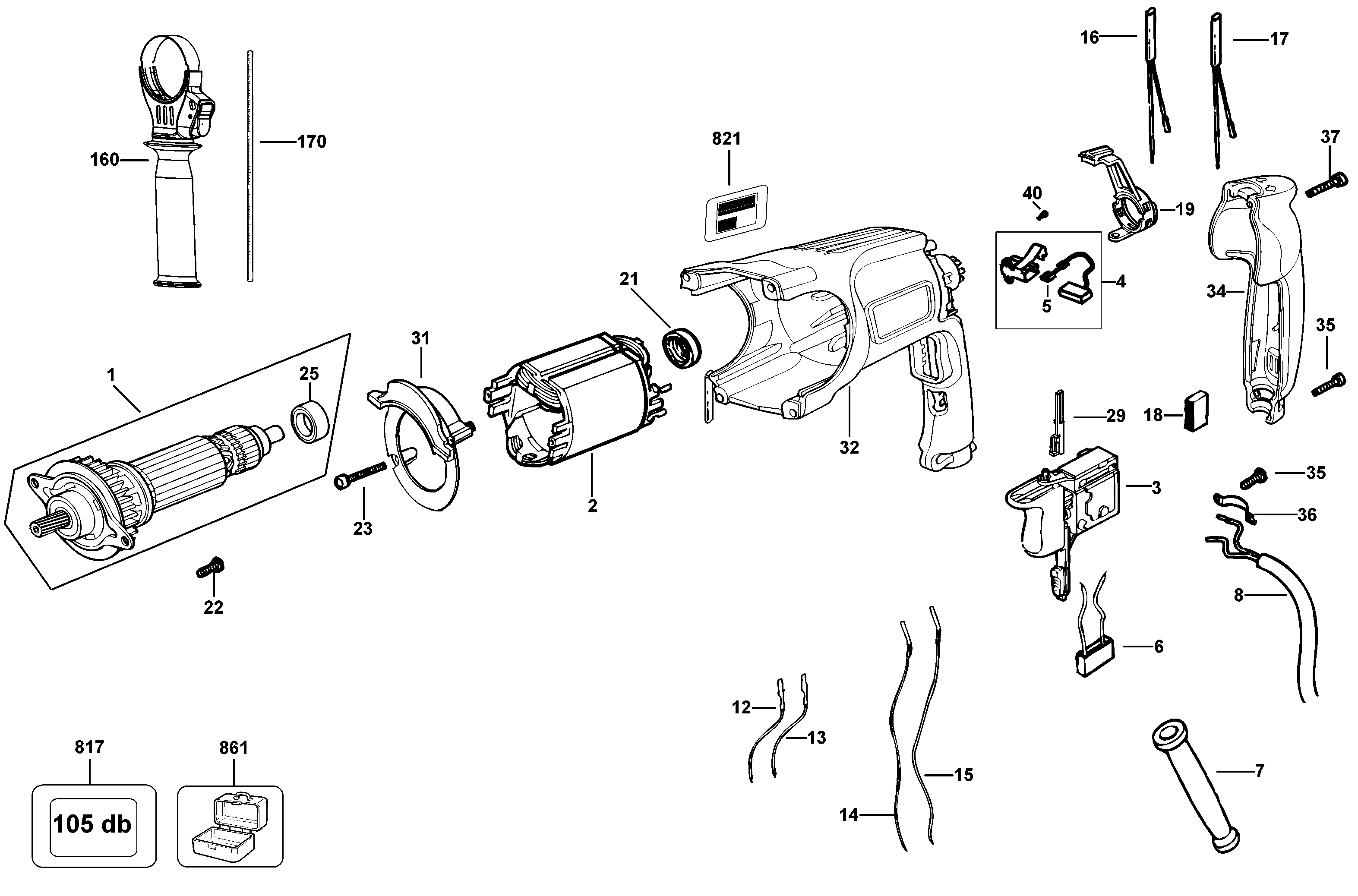
D25113K ROTARY HAMMER Type 2 | Drawings
Documents
| Item No. | Product Number | Qty Per | Product Description | General Description | Other Info | Markets | Product Status |
|---|---|---|---|---|---|---|---|
| 1 | 496248-00 | 1 | ARMATURE 230V | BR | |||
| 2 | 576690-05 | 1 | FIELD 230V | BR | |||
| 3 | 583748-09 | 1 | SWITCH | BR | |||
| 4 | 577830-02 | 2 | BRUSH HOLDER SA | Prior to D/C 2010-07 | BR | ||
| 4 | N028619 | 1 | BRUSH HOLDER SA | After D/C 2010-07 | BR | ||
| 5 | N058083 | 1 | BRUSH PAIR 230V | 230V | After D/C 2010-07 | BR | |
| 5 | 585475-00 | 1 | BRUSH PAIR 230V | Prior to D/C 2010-07 | BR | ||
| 7 | 584090-00 | 1 | CORD PROTECTOR | BR | |||
| 8 | 582573-10 | 1 | CORDSET | BR | |||
| 12 | 584304-00 | 1 | LEAD WHITE | BR | |||
| 13 | 584304-10 | 1 | LEAD BLUE | BR | |||
| 14 | 584304-04 | 1 | LEAD BLACK | BR | |||
| 15 | 584304-05 | 1 | LEAD VIOLET | BR | |||
| 16 | 584304-06 | 1 | LEAD RED | BR | |||
| 17 | 584304-07 | 1 | LEAD YELLOW | BR | |||
| 18 | 930026-01 | 1 | BUMPER | BR | |||
| 19 | 479818-00 | 1 | LEVER | BR | |||
| 21 | 870052 | 1 | SLEEVE | BR | |||
| 22 | 324006-14 | 2 | SCREW | BR | |||
| 23 | 326519-03 | 4 | SCREW | BR | |||
| 25 | 330003-19 | 1 | BEARING | BR | |||
| 29 | 584551-00 | 1 | INSERT | BR | |||
| 31 | 577826-00 | 1 | BAFFLE FAN | BR | |||
| 32 | 577810-00 | 1 | FIELDCASE | BR | |||
| 34 | 479817-00 | 1 | HANDLE COVER | BR | |||
| 35 | 330065-06 | 4 | SCREW | BR | |||
| 36 | 821070 | 1 | CORD CLAMP | BR | |||
| 37 | 330065-09 | 1 | SCREW | BR | |||
| 40 | 330065-25 | 4 | SCREW | BR | |||
| 45 | 577791-00 | 1 | O RING | BR | |||
| 50 | 585480-00 | 1 | INTERSHAFT SA | BR | |||
| 51 | 580907-00 | 1 | O RING | BR | |||
| 52 | 578271-00 | 1 | PLATE | BR | |||
| 53 | 579564-00 | 1 | HOLDER | BR | |||
| 54 | 1006437-00 | 1 | SELECTOR | BR | |||
| 55 | 584638-00 | 1 | O RING | BR | |||
| 56 | 1006434-00 | 1 | KNOB | BR | |||
| 57 | 324007-15 | 1 | SCREW | M4 X 20; M4 X 25 | BR | ||
| 58 | 1006435-00 | 1 | TRIGGER | BR | |||
| 59 | 1008957-00 | 1 | SPRING | BR | |||
| 60 | 582865-00 | 1 | FILTER | BR | |||
| 62 | 583981-00 | 3 | SCREW | BR | |||
| 70 | N031253 | 1 | HOUSING SA | BR | |||
| 71 | 330003-31 | 1 | BEARING | BR | |||
| 72 | 578229-00 | 1 | SEAL | BR | |||
| 73 | 577801-00 | 1 | BEARING BLOCK | BR | |||
| 74 | 577802-00 | 2 | WASHER SHIM | BR | |||
| 75 | 496246-00 | 1 | PISTON | BR | |||
| 76 | 579699-00 | 1 | O RING | BR | |||
| 77 | 496245-00 | 1 | RAM | BR | |||
| 78 | N042808 | 1 | BEARING BUSH | BR | |||
| 79 | 324006-15 | 3 | SCREW | BR | |||
| 90 | 577793-00 | 1 | CLIP | BR | |||
| 91 | 584426-00 | 1 | BUSH | BR | |||
| 92 | 580990-00 | 1 | O RING | BR | |||
| 93 | 577135-00 | 2 | O RING | BR | |||
| 94 | 584425-00 | 1 | DAMPER | BR | |||
| 95 | N082142 | 1 | BEAT PIECE | BR | |||
| 96 | 584423-00 | 1 | BEARING & SEAL | BR | |||
| 97 | 577139-00 | 1 | SEAL | BR | |||
| 100 | N031251 | 1 | LEVER KIT | BR | |||
| 110 | 577797-00 | 1 | WASHER | BR | |||
| 111 | 577744-00 | 1 | O RING | BR | |||
| 112 | 587482-00 | 1 | CLUTCH SA | BR | |||
| 113 | 579178-00 | 1 | SPRING | BR | |||
| 114 | 584422-00 | 1 | CYLINDER SA | BR | |||
| 115 | 577814-00 | 1 | WASHER | BR | |||
| 116 | 330065-05 | 2 | SCREW | BR | |||
| 117 | 580291-00 | 1 | LOCKING DEVICE | BR | |||
| 118 | 585483-00 | 1 | HOUSING SA | BR | |||
| 121 | 330065-28 | 4 | SCREW | BR | |||
| 130 | 579212-00 | 1 | RING | BR | |||
| 132 | 871690 | 1 | SPRING | BR | |||
| 133 | 578387-00 | 1 | WASHER | BR | |||
| 134 | 583890-00 | 1 | BALL | BR | |||
| 135 | N542554 | 1 | TUBE | BR | |||
| 136 | 323489-00 | 1 | CAP | BR | |||
| 160 | 494661-00 | 1 | HANDLE SIDE SA | BR | |||
| 170 | 495699-00 | 1 | DEPTH STOP | BR | |||
| 800 | 870889-02 | 1 | GREASE | BR | |||
| 801 | 487130-04 | 1 | GREASE | GLK FLUID 249 NLGI 000 (10G SERVICE) | BR | ||
| 821 | N045779 | 1 | RATING PLATE | BR | |||
| 846 | 585499-00 | 1 | SERVICE KIT 230V | Prior to D/C 2010-07 | BR | ||
| 846 | N058085 | 1 | SERVICE KIT 230V | 230V | After D/C 2010-07 | BR | |
| 861 | 577646-01 | 1 | KITBOX | BR |