D25123K ROTARY HAMMER Type 10 | Drawings
Documents
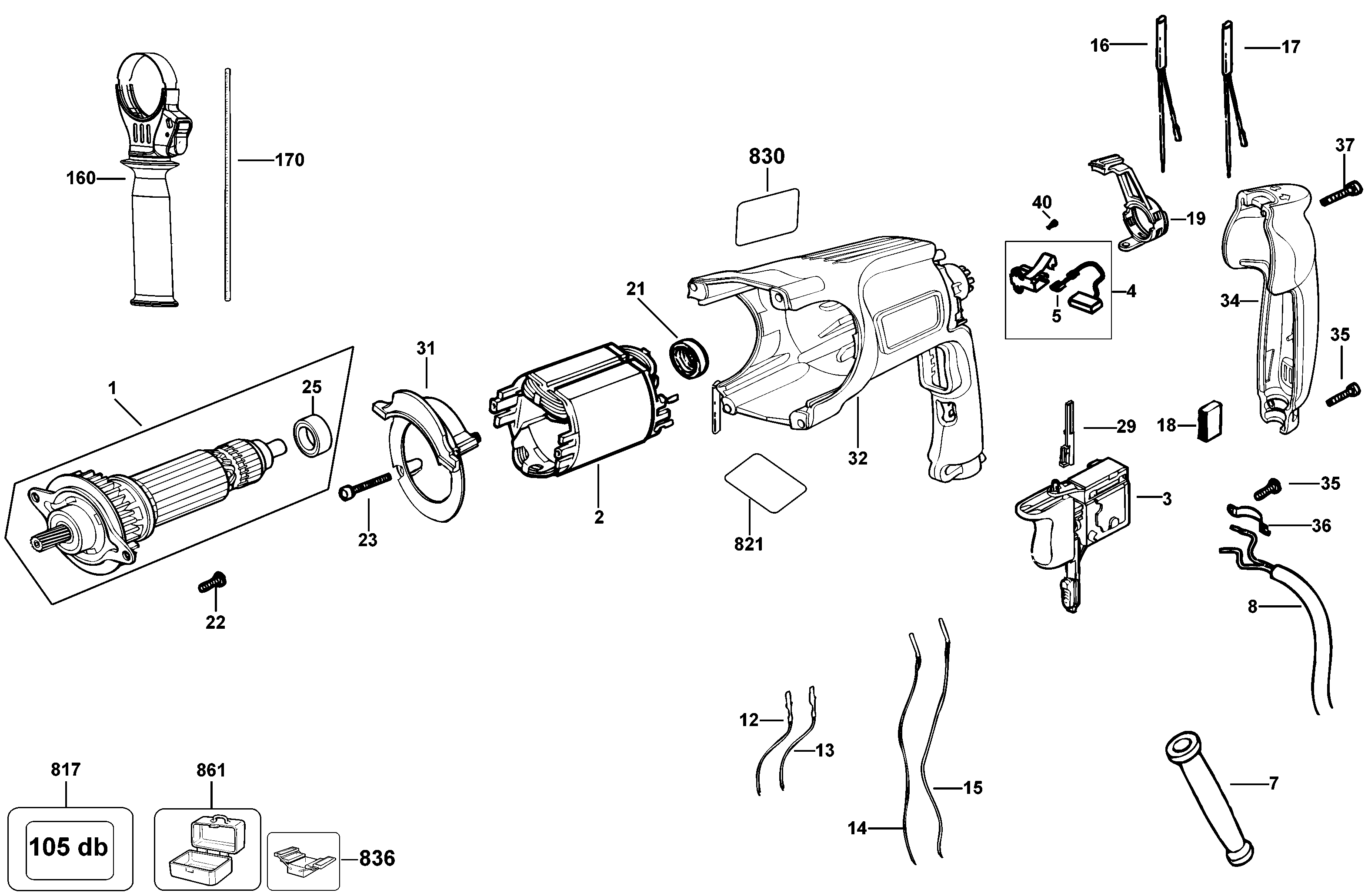
| Item No. | Product Number | Qty Per | Product Description | General Description | Other Info | Markets | Product Status |
|---|---|---|---|---|---|---|---|
| 1 | N081737 | 1 | ARMATURE 230V | AR | |||
| 2 | N081739 | 1 | FIELD 230V | AR | |||
| 3 | 583748-09 | 1 | SWITCH | AR | |||
| 4 | N081986 | 2 | BRUSH HOLDER PAIR | AR | |||
| 5 | N081988 | 1 | BRUSH PAIR 230V | AR | |||
| 7 | 584090-00 | 1 | CORD PROTECTOR | AR | |||
| 8 | 573379-15 | 1 | CORDSET | AR | |||
| 12 | 584304-00 | 1 | LEAD WHITE | AR | |||
| 13 | 584304-10 | 1 | LEAD BLUE | AR | |||
| 14 | 584304-04 | 1 | LEAD BLACK | AR | |||
| 15 | 584304-05 | 1 | LEAD VIOLET | AR | |||
| 16 | 584304-06 | 1 | LEAD RED | AR | |||
| 17 | 584304-07 | 1 | LEAD YELLOW | AR | |||
| 18 | 930026-01 | 1 | BUMPER | AR | |||
| 19 | 479818-00 | 1 | LEVER | AR | |||
| 21 | 870052 | 1 | SLEEVE | AR | |||
| 22 | 324006-14 | 2 | SCREW | AR | |||
| 23 | 326519-05 | 4 | SCREW | AR | |||
| 25 | 330003-19 | 1 | BEARING | AR | |||
| 29 | 584551-00 | 1 | INSERT | AR | |||
| 31 | 577826-00 | 1 | BAFFLE FAN | AR | |||
| 32 | 577810-03 | 1 | FIELDCASE | AR | |||
| 34 | 479817-00 | 1 | HANDLE COVER | AR | |||
| 35 | 330065-06 | 4 | SCREW | AR | |||
| 36 | 821070 | 1 | CORD CLAMP | AR | |||
| 37 | 330065-09 | 1 | SCREW | AR | |||
| 40 | 330065-25 | 4 | SCREW | AR | |||
| 50 | N081985 | 1 | INTERSHAFT SA | AR | |||
| 52 | N029727 | 1 | PLATE | AR | |||
| 53 | N042799 | 1 | SPRING | AR | |||
| 55 | N093371 | 1 | LEVER SA | AR | |||
| 56 | N093371 | 1 | LEVER SA | AR | |||
| 57 | 330065-05 | 1 | SCREW | AR | |||
| 58 | N034136 | 1 | LOCK BUTTON | AR | |||
| 59 | N074923 | 1 | SPRING | AR | |||
| 60 | 1005811-00 | 1 | SEAL | AR | |||
| 61 | N034134 | 1 | COVER | AR | |||
| 62 | 324006-14 | 2 | SCREW | AR | |||
| 63 | 581836-00 | 1 | LOCKING RING | AR | |||
| 64 | N081742 | 1 | RING | AR | |||
| 65 | N081984 | 1 | GEAR | AR | |||
| 66 | N029717 | 1 | SPRING | AR | |||
| 67 | 577814-00 | 1 | WASHER | AR | |||
| 68 | N081515 | 1 | FELT | AR | |||
| 70 | N081983 | 1 | HOUSING SA | AR | |||
| 72 | 578229-00 | 1 | SEAL | AR | |||
| 73 | 577801-00 | 1 | BEARING BLOCK | AR | |||
| 74 | N074454 | 2 | WASHER | AR | |||
| 75 | N081750 | 1 | PISTON | AR | |||
| 76 | 579699-00 | 1 | O RING | AR | |||
| 77 | N081751 | 1 | RAM SA | AR | |||
| 78 | N029731 | 1 | BEARING BUSH | AR | |||
| 79 | 324006-15 | 3 | SCREW | AR | |||
| 80 | N038257 | 1 | FELT | AR | |||
| 81 | N042496 | 1 | O RING | AR | |||
| 90 | N361759 | 1 | CLIP | AR | |||
| 90 | 577793-00 | 1 | CLIP | AR | |||
| 91 | N082141 | 1 | BUSH | AR | |||
| 92 | 580990-00 | 1 | O RING | AR | |||
| 93 | 577135-00 | 2 | O RING | AR | |||
| 94 | N082144 | 1 | DAMPER | AR | |||
| 95 | N082142 | 1 | BEAT PIECE | AR | |||
| 96 | N082145 | 1 | BEARING & SEAL | AR | |||
| 97 | 577139-00 | 1 | SEAL | AR | |||
| 100 | N093350 | 1 | LEVER KIT | AR | |||
| 101 | 1005844-00 | 1 | WASHER | AR | |||
| 103 | N029726 | 1 | PINION GEAR | AR | |||
| 104 | N029725 | 1 | COLLAR | AR | |||
| 105 | 329794-00 | 1 | SCREW | AR | |||
| 110 | N059509 | 1 | WASHER | AR | |||
| 114 | N386323 | 1 | SPINDLE SA | AR | |||
| 115 | 577814-00 | 1 | WASHER | AR | |||
| 116 | N082143 | 1 | BEARING NEEDLE | AR | |||
| 117 | 577812-00 | 1 | SEAL | AR | |||
| 118 | N081754 | 1 | HOUSING SA | AR | |||
| 121 | 330019-81 | 4 | SCREW | AR | |||
| 132 | 871690 | 1 | SPRING | AR | |||
| 133 | 578387-00 | 1 | WASHER | AR | |||
| 134 | 583890-00 | 1 | BALL | AR | |||
| 135 | N542554 | 1 | TUBE | AR | |||
| 135 | N774198 | 1 | TUBE SA | AR | |||
| 135 | N542554 | 1 | TUBE | AR | |||
| 136 | 323489-00 | 1 | CAP | AR | |||
| 138 | 579212-00 | 1 | RING | AR | |||
| 160 | 1008956-00 | 1 | HANDLE SIDE SA | AR | |||
| 170 | 495699-00 | 1 | DEPTH STOP | AR | |||
| 800 | 870889-02 | 1 | GREASE | AR | |||
| 801 | 487130-04 | 1 | GREASE | GLK FLUID 249 NLGI 000 (10G SERVICE) | AR | ||
| 817 | 496620-00 | 1 | LABEL | AR | |||
| 821 | N075278 | 1 | RATING PLATE | AR | |||
| 830 | N074584 | 2 | BRAND LABEL | AR | |||
| 836 | 1003926-99 | 1 | S.T.INSERT | AR | |||
| 836 | 1003925-99 | 1 | S.T.CIRCLIP INSERTER | AR | |||
| 836 | 596005-99 | 1 | S.T.CIRCLIP REMOVER | AR | |||
| 836 | 1003924-99 | 1 | S.T.CIRCLIP REMOVER | AR | |||
| 846 | N093352 | 1 | SERVICE KIT 230V | AR | |||
| 861 | N328939 | 1 | KITBOX | AR |