DWD024 DRILL Type 2 | Drawings
Documents
| Item No. | Product Number | Qty Per | Product Description | General Description | Other Info | Markets | Product Status |
|---|---|---|---|---|---|---|---|
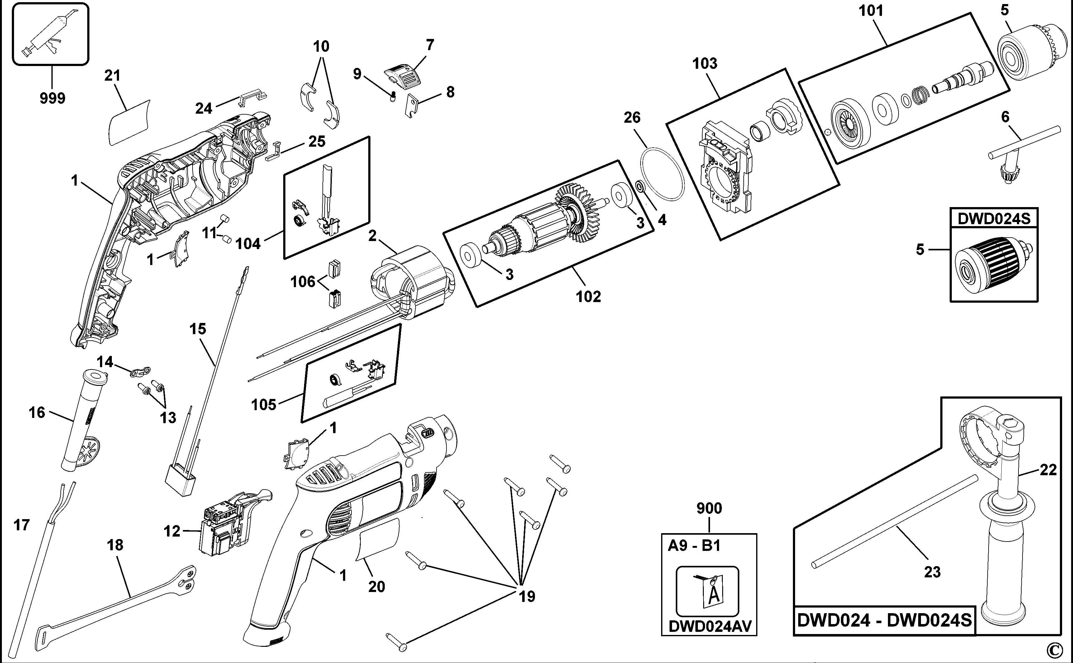
| 1 | N174162 | 1 | CLAMSHELL SET | KR | |||
| 2 | N704599 | 1 | FIELD SA | >=WK35 2017 | KR | ||
| 2 | N535720 | 1 | SERVICE KIT 230V | | KR |
| ||
| 3 | 605040-55 | 2 | BEARING 608 | KR | |||
| 4 | 464292-00 | 1 | DEFLECTOR | KR | |||
| 5 | 584925-02 | 1 | CHUCK 13MM | DWD024, DWD024KS | KR | ||
| 6 | N022653 | 1 | CHUCK KEY | DWD024, DWD024KS | KR | ||
| 7 | 658934-00 | 1 | SELECTOR | KR | |||
| 8 | 658859-00 | 1 | SELECTOR | KR | |||
| 9 | 326467-00 | 1 | DETENT | KR | |||
| 10 | N013010 | 2 | SEAL | KR | |||
| 11 | N015397 | 2 | PLUG | KR | |||
| 12 | N483616 | 1 | SWITCH SA | KR | |||
| 13 | N017542 | 2 | PLASTIC SCREW | KR | |||
| 14 | 821070 | 1 | CORD CLAMP | KR | |||
| 15 | N016548 | 1 | CAPACITOR | KR | |||
| 16 | 401751-00 | 1 | CORD PROTECTOR | KR | |||
| 17 | N474085 | 1 | CORDSET | KR | |||
| 18 | 065288-02 | 1 | HOLDER | KR | |||
| 19 | 330065-31 | 7 | PLASTIC SCREW | KR | |||
| 20 | N481532 | 1 | RATING LABEL | KR | |||
| 21 | 660853-00 | 1 | BRAND LABEL | KR | |||
| 22 | N483618 | 1 | HANDLE SIDE SA | KR | |||
| 23 | 372814-00 | 1 | DEPTH STOP | KR | |||
| 24 | N036617 | 1 | RUBBER SEAL | KR | |||
| 25 | N036618 | 1 | RUBBER SEAL | KR | |||
| 26 | N435939 | 1 | SEAL | KR | |||
| 101 | N044176 | 1 | SPINDLE SA | KR | |||
| 102 | N704594 | 1 | ARMATURE SA | >=WK35 2017 | KR | ||
| 102 | N535720 | 1 | SERVICE KIT 230V | | KR |
| ||
| 103 | N044177 | 1 | PLATE SA | KR | |||
| 104 | N022040 | 1 | BRUSHBOX SA | KR | |||
| 105 | N022039 | 1 | BRUSHBOX SA | KR | |||
| 106 | N483620 | 1 | BRUSH PAIR 230V | KR |