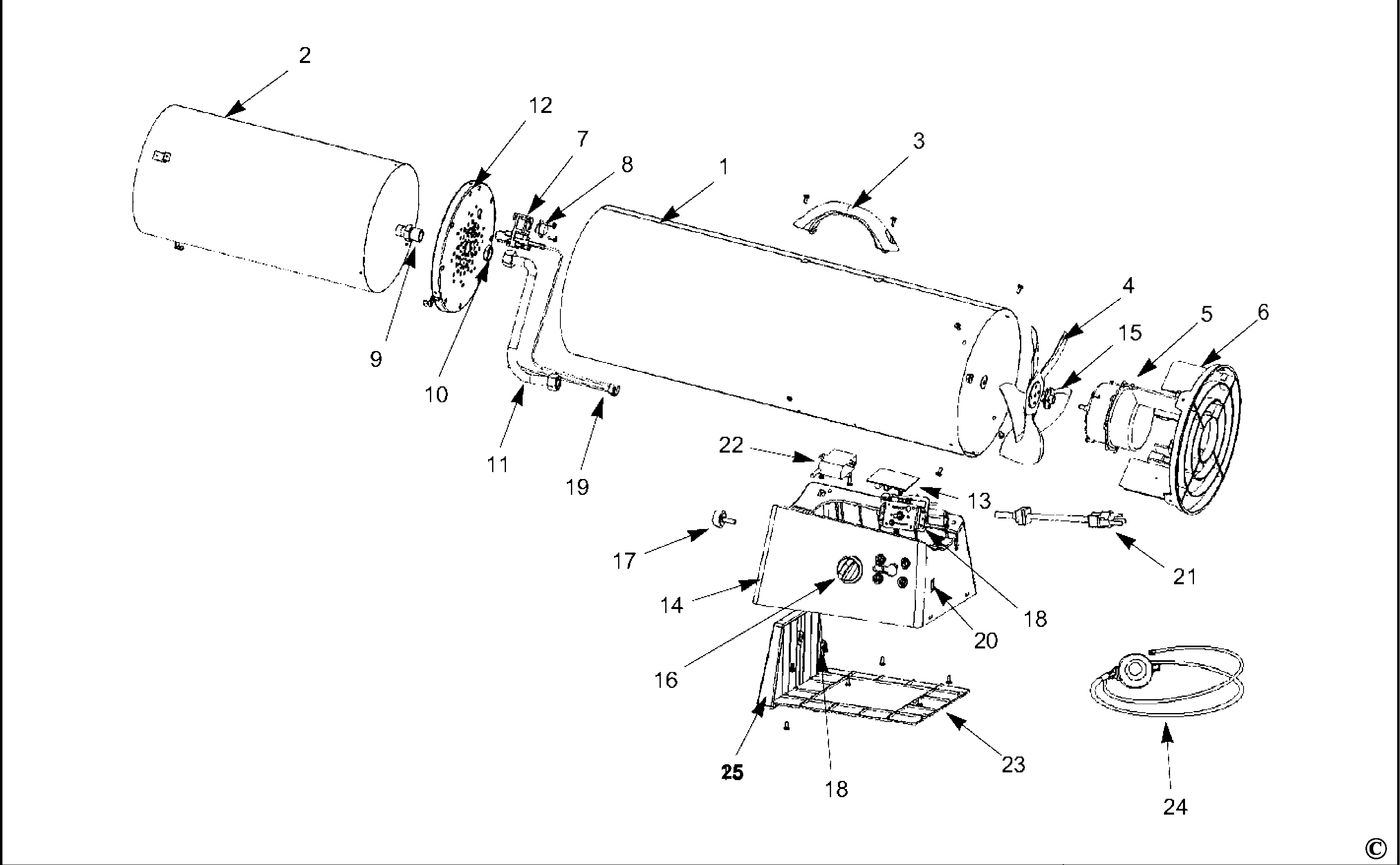
ST-60VGFAE RISCALDATORE Type 1 | Disegni
Documenti
Si prega di visualizzare il menu a tendina dal momento che alcuni prodotti potrebbero avere più disegni
| Item No. | Product Number | Qty Per | Product Description | INFORMAZIONI | Altre informazioni | Markets | Product Status | Guida ai prezzi | 
|---|
* I prezzi indicati possono subire variazioni e non sono inclusivi di IVA ed eventuali spese di trasporto. Ci riserviamo la possibilità di variare i prezzi e le condizioni senza preavviso.
 
             
                 Elenco Ricambi
Elenco Ricambi
                         
        
                                         Stampabile
Stampabile
                         Visualizza Pagina intera
Visualizza Pagina intera
                        
 
     
    