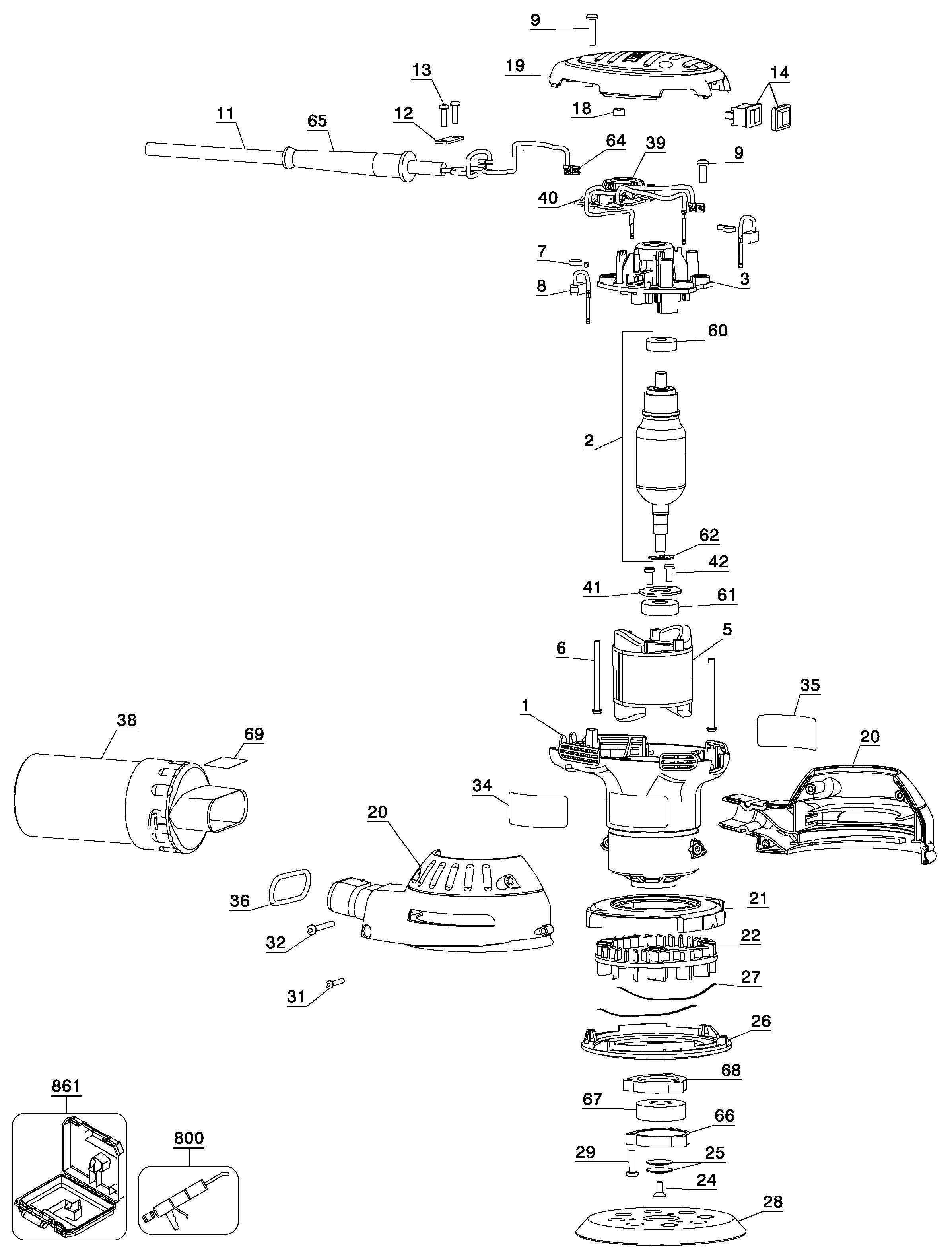
D26453K 5 RO SANDER Type 1 | Drawings
Documents
| Item No. | Product Number | Qty Per | Product Description | General Description | Other Info | Markets | Product Status |
|---|---|---|---|---|---|---|---|
| 1 | 623832-00 | 1 | FIELDCASE | XE | |||
| 2 | 624309-01SV | 1 | ARMATURE SA | XE | |||
| 3 | 627401-00SV | 1 | BEARING SUPPORT | XE | |||
| 5 | N378009 | 1 | FIELD SA | 230v | XE | ||
| 6 | 330019-09 | 2 | SCREW | M3.63x50 T15 | XE | ||
| 7 | 445860-00 | 2 | BRUSH SPRING | XE | |||
| 8 | 445861-20 | 2 | BRUSH 115V | XE | |||
| 9 | 330019-11 | 7 | SCREW | M4.55x13 T20 | XE | ||
| 11 | 444469-26 | 1 | CORDSET | AUSTRALIA | Also order two item #64 | XE | |
| 12 | 329301-00 | 1 | CORD CLAMP | XE | |||
| 13 | 330019-02 | 2 | SCREW | XE | |||
| 14 | 656494-00 | 1 | SWITCH | XE | |||
| 18 | 067356-00 | 1 | PLUG | XE | |||
| 19 | 623990-00 | 1 | CAP | XE | |||
| 20 | 628817-00 | 1 | SHROUD | XE | |||
| 21 | 624240-00 | 1 | BAFFLE | XE | |||
| 22 | 624235-01 | 1 | FAN | XE | |||
| 24 | 098012-11 | 1 | SCREW | XE | |||
| 25 | 151652-00 | 2 | WASHER | XE | |||
| 26 | 624302-00 | 1 | BRAKE | XE | |||
| 27 | 151442-02 | 2 | LEAF SPRING | XE | |||
| 28 | 151281-08 | 1 | PAD | H&L, 5IN, MEDIUM | XE | ||
| 29 | 146929-01 | 3 | SCREW | 8-32x5/8 THD FMG | XE | ||
| 31 | 330019-24 | 1 | SCREW | XE | |||
| 32 | 330019-59 | 3 | SCREW | XE | |||
| 34 | 398399-00 | 1 | BRAND LABEL | XE | |||
| 35 | 639528-00 | 1 | RATING PLATE | XE | |||
| 36 | 56194-00 | 1 | O RING | XE | |||
| 38 | 624307-00 | 1 | DUSTBAG | XE | |||
| 39 | 624971-00 | 1 | KNOB | XE | |||
| 40 | N270339 | 1 | CONTROL MODULE SA | XE | |||
| 41 | 632116-00 | 1 | BEARING PLATE | XE | |||
| 42 | 330019-01 | 2 | SCREW | XE | |||
| 60 | 605040-05 | 1 | BEARING | XE | |||
| 61 | 330003-17 | 1 | BEARING | XE | |||
| 62 | 151669-00 | 1 | CIRCLIP | XE | |||
| 64 | 445964-00 | 2 | TERMINAL | XE | |||
| 65 | 330005-01 | 1 | CORD PROTECTOR | XE | |||
| 66 | 603637-00 | 1 | RETAINER | XE | |||
| 67 | N110363 | 1 | BEARING | XE | |||
| 68 | 603664-00 | 1 | RETAINER | XE | |||
| 69 | 624299-00 | 1 | WARNING LABEL | XE | |||
| 800 | 761995-01 | 1 | GREASE | 180 Grams | XE | ||
| 800 | 283484-01 | 1 | GREASE | 32oz, EXXON CVJ | XE | ||
| 861 | 625383-00 | 1 | KITBOX | XE |