DCS7485 TABLE SAW Type 1 | Drawings
Documents
| Item No. | Product Number | Qty Per | Product Description | General Description | Other Info | Markets | Product Status |
|---|---|---|---|---|---|---|---|
| 1 | N475526 | 1 | GUARD SA | GB | ![]() |
||
| 2 | 1004549-04 | 1 | O RING | GB | ![]() |
||
| 3 | N459141 | 1 | PLATE SA | GB | ![]() |
||
| 4 | 5140032-03 | 6 | NUT M6 | SQUARE M6x1.0 | GB | ![]() |
|
| 5 | 5140032-02 | 6 | PIN | GB | ![]() |
||
| 6 | N433458 | 1 | RAIL | GB | ![]() |
||
| 8 | 1004549-00 | 2 | SCREW.SPECIAL | GB | ![]() |
||
| 9 | 1004708-08 | 1 | INDICATOR | GB | ![]() |
||
| 10 | 5140179-60 | 2 | RAIL SA | GB | ![]() |
||
| 11 | 1002765-00 | 8 | SCREW.SPECIAL | M5 X 16 W/WASHER | GB | ![]() |
|
| 14 | N433468 | 1 | TABLE | GB | ![]() |
||
| 15 | N433459 | 1 | RAIL | GB | ![]() |
||
| 17 | 5140179-65 | 1 | ROLL PIN | M4x18 | GB | ![]() |
|
| 18 | 5140032-15 | 1 | WASHER M8 | M8 x 16mm x 1.5 Thk. | GB | ![]() |
|
| 19 | 5140134-75 | 1 | SPRING | GB | ![]() |
||
| 20 | 5140032-17 | 1 | ADJUSTER | HEX | GB | ![]() |
|
| 23 | 5140032-21 | 1 | PIN | 4mm x 22mm | GB | ![]() |
|
| 25 | 5140179-62 | 1 | SHAFT SA | FRONT | GB | ![]() |
|
| 26 | N440620 | 1 | LOCK HANDLE | RAIL LOCK | GB | ![]() |
|
| 27 | 5140032-24 | 1 | WASHER M6 | M6 | GB | ![]() |
|
| 28 | 5140032-25 | 1 | NUT M6 | M6 HEX | GB | ![]() |
|
| 29 | 429901-00 | 1 | LOCK NUT | GB | ![]() |
||
| 30 | 1004708-11 | 1 | SHAFT SA | GB | ![]() |
||
| 31 | 429901-00 | 2 | LOCK NUT | GB | ![]() |
||
| 32 | 5140032-27 | 3 | WASHER M10 | M10 | GB | ![]() |
|
| 33 | 5140032-28 | 1 | FENCE KNOB | GB | ![]() |
||
| 34 | 5140032-29 | 2 | PINION GEAR | GB | ![]() |
||
| 35 | 1002767-00 | 4 | SCREW.SPECIAL | M5 | GB | ![]() |
|
| 36 | 5140032-31 | 2 | BRACKET | GB | ![]() |
||
| 37 | 5140118-01 | 2 | GUARD | GB | ![]() |
||
| 38 | 5140032-33 | 2 | LOCKING RING | GB | ![]() |
||
| 39 | 5140032-34 | 2 | PIN | M4X16MM | GB | ![]() |
|
| 40 | N455273 | 1 | CONNECTING ROD | GB | ![]() |
||
| 41 | 5140032-36 | 2 | BEARING BLOCK | GB | ![]() |
||
| 42 | 5140032-37 | 2 | SPRING | GB | ![]() |
||
| 48 | 5140179-71 | 1 | GUARD | LEFT | GB | ![]() |
|
| 49 | 1002769-00 | 4 | SCREW.SPECIAL | M6 WITH WASHER | GB | ![]() |
|
| 51 | 5140135-60 | 3 | SCREW.SPECIAL | M5x 0.8 x22mm w/Lock | GB | ![]() |
|
| 53 | 1004549-07 | 1 | WHEEL SA | GB | ![]() |
||
| 54 | N434678 | 1 | SHAFT | HEIGHT ADJUST | GB | ||
| 55 | 5140032-50 | 1 | KEY | 4mm x 4mm x 8mm | GB | ![]() |
|
| 55 | 5140032-50 | 1 | KEY | 4mm x 4mm x 8mm | GB | ![]() |
|
| 56 | 5140118-05 | 1 | BEVEL GEAR | GB | ![]() |
||
| 56 | 5140118-05 | 1 | BEVEL GEAR | GB | ![]() |
||
| 57 | 5140032-52 | 1 | RING | S-RING STW-10 | GB | ![]() |
|
| 57 | 5140032-52 | 1 | RING | S-RING STW-10 | GB | ![]() |
|
| 58 | 429898-00 | 1 | NUT | GB | ![]() |
||
| 59 | 1002773-00 | 1 | SCREW.SPECIAL | M5 X 10 W WASHER | GB | ![]() |
|
| 60 | N436291 | 1 | HANDLE | GB | ![]() |
||
| 62 | 5140032-57 | 1 | WASHER LOCK | M10 | GB | ![]() |
|
| 64 | 1002774-00 | 1 | RING | STW-09 | GB | ![]() |
|
| 65 | 1002775-00 | 21 | SCREW.SPECIAL | M5 X 10 | GB | ![]() |
|
| 66 | 5140135-25 | 1 | BRACKET SA | GB | ![]() |
||
| 67 | 1002776-00 | 4 | SCREW.SPECIAL | GB | ![]() |
||
| 68 | N434812 | 1 | GUARD LOWER | GB | ![]() |
||
| 69 | 1002778-00 | 1 | WASHER PLASTIC | 10.5 X 32 X 1.5 | GB | ![]() |
|
| 70 | N434696 | 1 | GUARD | REAR | GB | ![]() |
|
| 71 | 5140135-30 | 1 | BRACKET SA | GB | ![]() |
||
| 72 | 1002779-00 | 2 | SCREW.SPECIAL | M5 | GB | ![]() |
|
| 76 | N447167 | 1 | WASHER OUTER CLAMP | EURO | GB | ||
| 77 | 429989-94 | 1 | NUT | 5/8-18 | GB | ![]() |
|
| 79 | N434670 | 1 | SHAFT | GB | |||
| 80 | 5140032-72 | 2 | WASHER THRUST | M10 x 18mm x 0.8 Thk | GB | ![]() |
|
| 81 | 5140032-73 | 1 | BLOCK | ELEVATION SCREW | GB | ![]() |
|
| 82 | N434666 | 1 | SHAFT | FRONT | GB | ||
| 83 | 5140032-75 | 1 | WASHER BOW | CURVED, 10.1 x 17mm | GB | ![]() |
|
| 84 | N434667 | 1 | SHAFT | REAR | GB | ||
| 85 | 5140032-77 | 2 | PLATE | FIX | GB | ![]() |
|
| 86 | N435108 | 1 | MITRE FENCE | SHEET METAL | GB | ||
| 86 | N272579 | 1 | MITRE FENCE | PLASTIC | GB | ![]() |
|
| 92 | 5140135-74 | 4 | SCREW.SPECIAL | M6x 1.0x18mm Locking | GB | ![]() |
|
| 93 | 5140032-84 | 4 | BUMPER | TABLE | GB | ![]() |
|
| 94 | 5140032-85 | 4 | PLATE | GB | ![]() |
||
| 95 | N460151 | 1 | CAGE | GB | ![]() |
||
| 101 | N464191 | 1 | WASHER BOW | CURVED | GB | ||
| 102 | N436199 | 2 | SPANNER | GB | |||
| 104 | 5140032-95 | 1 | WING NUT | M10 | GB | ![]() |
|
| 107 | N435982 | 1 | PANEL FRONT | GB | |||
| 114 | N441179 | 2 | CAM | GB | ![]() |
||
| 115 | N442868 | 1 | SUPPORT PLATE | FRONT | GB | ||
| 120 | 5140135-17 | 2 | SCREW | M5 x 0.8P x 16mm | GB | ![]() |
|
| 121 | 5140135-91 | 2 | SCREW | M5 x 0.8P x 8mm | GB | ![]() |
|
| 122 | 5140135-89 | 3 | SCREW | M4 x 0.7P x 6mm | GB | ![]() |
|
| 123 | 5140033-40 | 2 | DOWEL | 4mm x 12mm | GB | ![]() |
|
| 124 | 5140179-72 | 1 | PLATE | GEAR CASE | GB | ![]() |
|
| 126 | 5140179-69 | 1 | BAR | CANVAS, RIGHT SIDE | GB | ![]() |
|
| 129 | 1004695-90 | 1 | DUST PORT | GB | ![]() |
||
| 131 | 5140179-73 | 1 | PLATE | RAIL LOCK FIXING | GB | ![]() |
|
| 132 | 5140179-70 | 1 | BAR | CANVAS, CRADLE SIDE | GB | ![]() |
|
| 133 | 5140179-68 | 1 | BAR | RIGHT | GB | ![]() |
|
| 135 | N436323 | 1 | LOCK SCREW | GB | |||
| 137 | 5140033-42 | 2 | WASHER | ID 12.3 OD18.7 x 1.0 | GB | ![]() |
|
| 144 | N435910 | 28 | SCREW | GB | |||
| 148 | 5140179-66 | 1 | SCREW.SPECIAL | M5x0.8x12, NYLOCK | GB | ![]() |
|
| 150 | N436310 | 1 | PLATE | GB | |||
| 152 | N464932 | 1 | LOCK NUT | GB | |||
| 160 | 5140135-36 | 4 | WASHER | GB | ![]() |
||
| 161 | 5140135-37 | 2 | SPRING | GB | ![]() |
||
| 162 | N452849 | 2 | BRACKET | GB | ![]() |
||
| 163 | 5140032-80 | 19 | SCREW | M5x2.12x12 | GB | ![]() |
|
| 164 | N437343 | 1 | GUARD | GB | ![]() |
||
| 165 | 5140095-74 | 8 | NUT M5 | M5 | GB | ![]() |
|
| 166 | 5140135-64 | 8 | SCREW.SPECIAL | M5 x 0.8P x 43mm | GB | ![]() |
|
| 167 | N444103 | 4 | FOOT | GB | ![]() |
||
| 168 | N444104 | 4 | FOOT | GB | ![]() |
||
| 169 | N441177 | 2 | PLATE | CARRY HANDLE | GB | ||
| 170 | N446306 | 1 | HANDLE | GB | ![]() |
||
| 171 | 5140179-76 | 1 | BRACKET | GB | ![]() |
||
| 172 | N437337 | 1 | PANEL | GB | |||
| 173 | N434671 | 1 | COVER | CRADLE | GB | ![]() |
|
| 174 | 5140135-79 | 5 | SCREW | M5x0.8Px35mm PAN HD | GB | ![]() |
|
| 175 | 5140032-13 | 2 | NUT M5 | HEX M5 | GB | ![]() |
|
| 176 | N438026 | 1 | BRACKET | RIVING KNIFE STORAGE | GB | ![]() |
|
| 177 | 1004708-12 | 2 | WASHER | GB | ![]() |
||
| 178 | N450979 | 1 | BRACKET | GB | ![]() |
||
| 179 | N450980 | 1 | KNOB | GB | ![]() |
||
| 180 | N451161 | 1 | BOLT | GB | ![]() |
||
| 181 | 5140135-73 | 1 | SPRING | GB | ![]() |
||
| 182 | N435470 | 1 | WASHER | GB | |||
| 183 | 5140032-13 | 2 | NUT M5 | HEX M5 | GB | ![]() |
|
| 184 | N447488 | 1 | SCREW | GB | |||
| 185 | N440766 | 1 | INDICATOR | GB | ![]() |
||
| 186 | N454261 | 1 | WASHER LOCK | GB | ![]() |
||
| 187 | 5140179-78 | 1 | DAMPER | GB | ![]() |
||
| 188 | N461705 | 1 | KNOB SA | GB | ![]() |
||
| 189 | N461707 | 1 | PLATE | GB | |||
| 190 | 5140179-63 | 1 | SCREW | M5x0.8x30 | GB | ![]() |
|
| 191 | 5140179-64 | 1 | SPACER | GB | ![]() |
||
| 192 | N437875 | 1 | RIVING KNIFE | NON-THRU CUT | GB | ![]() |
|
| 193 | N448945 | 2 | SCREW | GB | |||
| 194 | 1004708-13 | 1 | COVER | GB | ![]() |
||
| 195 | 1004708-14 | 1 | PISTON | GB | ![]() |
||
| 196 | N448939 | 2 | SCREW | GB | |||
| 197 | N448940 | 1 | SPRING | GB | ![]() |
||
| 198 | N434803 | 1 | MOUNT | GB | ![]() |
||
| 199 | 5140135-11 | 3 | SCREW.SPECIAL | M5 x 0.8P x 8mm | GB | ![]() |
|
| 213 | N441334 | 1 | SUPPORT | GB | |||
| 231 | N441023 | 1 | LABEL | BEVEL SCALE | GB | ![]() |
|
| 232 | N463969 | 1 | BRAND LABEL | GB | ![]() |
||
| 235 | N471048 | 1 | RATING PLATE | GB | |||
| 250 | N455463 | 1 | FENCE SA | GB | ![]() |
||
| 253 | 5140134-61 | 2 | SCREW | M4x 0.7 x8mm Locking | GB | ![]() |
|
| 254 | 5140134-58 | 2 | PIN | 4mm x 45mm | GB | ![]() |
|
| 255 | 5140134-57 | 2 | SPRING | GB | ![]() |
||
| 256 | 5140134-56 | 2 | PADDLE | GB | ![]() |
||
| 257 | 1004696-26 | 2 | PIN | GB | ![]() |
||
| 258 | 5140134-62 | 1 | STRAP | nylon | GB | ![]() |
|
| 259 | 5140134-60 | 1 | CLIP | GB | ![]() |
||
| 271 | 5140033-53 | 4 | SCREW | M4 X 8 SELF TAP | GB | ![]() |
|
| 273 | 5140033-54 | 1 | SCREW | M4 X 16 SELF TAP | GB | ![]() |
|
| 274 | 5140033-55 | 1 | CAM | GB | ![]() |
||
| 280 | 5140033-44 | 1 | PUSHROD | GB | ![]() |
||
| 290 | N458905 | 1 | SCALE | METRIC | GB | ||
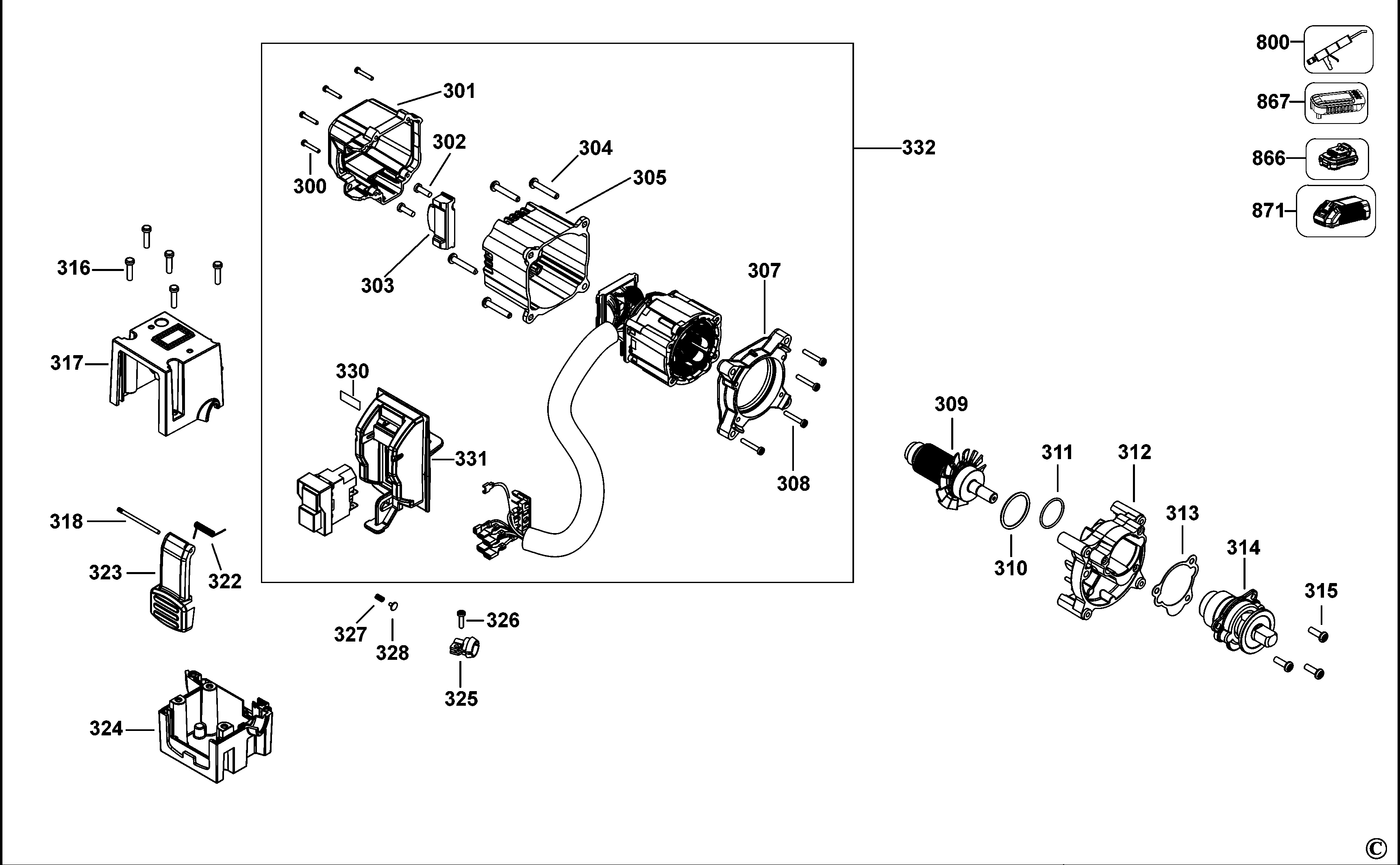
| 300 | 330019-24 | 4 | SCREW | GB | ![]() |
||
| 301 | N436880 | 1 | END CAP | GB | ![]() |
||
| 302 | 330019-12 | 2 | SCREW | GB | ![]() |
||
| 303 | N448564 | 1 | CORDCLAMP | GB | |||
| 304 | 330045-17 | 4 | SCREW | M5x30 MTL THD FMG | GB | ![]() |
|
| 305 | N436481 | 1 | FIELDCASE | GB | ![]() |
||
| 307 | N440777 | 1 | BAFFLE | GB | ![]() |
||
| 308 | 330019-12 | 4 | SCREW | GB | ![]() |
||
| 309 | N469850 | 1 | ROTOR SA | GB | ![]() |
||
| 310 | N453643 | 1 | O RING | GB | ![]() |
||
| 311 | 700248-00 | 1 | SEAL | GB | ![]() |
||
| 312 | N434675 | 1 | GEARCASE | GB | ![]() |
||
| 313 | N442722 | 1 | GASKET | GB | ![]() |
||
| 314 | N469847 | 1 | ARBOR SA | GB | ![]() |
||
| 315 | 330045-14 | 3 | SCREW | GB | ![]() |
||
| 316 | 330019-13 | 5 | SCREW | M4X19 T20 | GB | ![]() |
|
| 317 | N435741 | 1 | HOUSING UPPER | UPPER | GB | ![]() |
|
| 318 | N440456 | 1 | PIN | GB | |||
| 322 | N448766 | 1 | SPRING | GB | |||
| 323 | N445218 | 1 | PADDLE | GB | |||
| 324 | N435742 | 1 | HOUSING LOWER | LOWER | GB | ![]() |
|
| 325 | N449833 | 1 | CORD CLAMP | GB | ![]() |
||
| 326 | 330019-03 | 1 | SCREW | GB | ![]() |
||
| 327 | N461735 | 1 | SPRING | GB | ![]() |
||
| 328 | N122099 | 1 | BLOCK | GB | ![]() |
||
| 330 | N471558 | 1 | LABEL | ON-OFF | GB | ![]() |
|
| 331 | N445217 | 1 | HOUSING SWITCH | GB | ![]() |
||
| 332 | N474607 | 1 | STATOR SA | INCL. SWITCH | GB | ![]() |
|
| 800 | 583534-00 | 1 | GREASE | 50 GRAMS - NYE RHEOLUB 380G1 | GB | ![]() |
|
| 866 | N473851 | 1 | BATTERY 3 X18V-6.0AH-108WH | Li-Ion - DCB546-XJ | DCS7485T2 | GB | ![]() |
| 867 | N462141 | 1 | SAFETY CAP | GB | ![]() |
||
| 871 | N473855 | 1 | CHARGER GB | DCB118-GB | DCS7485T2 | GB | ![]() |

