D25124K КОМБИНИРОВАННЫЙ ПЕРФОРАТОР Type 10 | Чертежи
Документы
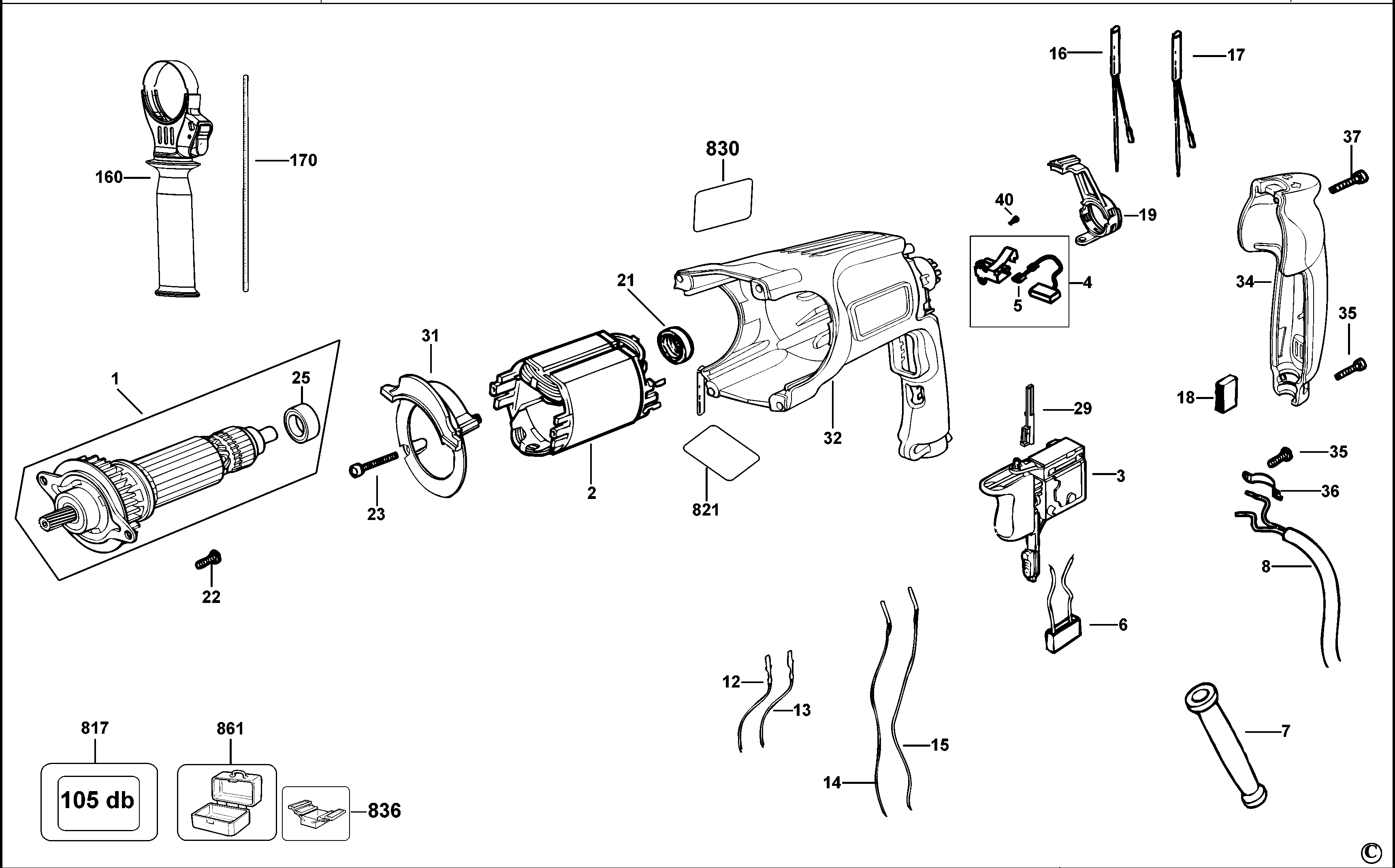
Пожалуйста, просмотрите ниспадающее меню, так как для некоторых продуктов может быть приведено несколько рисунков
| Item No. | Product Number | Qty Per | Product Description | ДОП. ОПИСАНИЕ | Other Info | Markets | Product Status |
|---|---|---|---|---|---|---|---|
| 1 | N081737 | 1 | ЯКОРЬ 230В | RU | ![]() |
||
| 2 | N081739 | 1 | СТАТОР 230В | RU | ![]() |
||
| 3 | 583748-09 | 1 | ВЫКЛЮЧАТЕЛЬ | RU | ![]() |
||
| 4 | N028619 | 2 | ЩЁТКОДЕРЖАТЕЛЬ В СБОРЕ | RU | ![]() |
||
| 5 | N058083 | 1 | ПАРА ЩЁТОК 230В | 230V | RU | ![]() |
|
| 6 | 320842-19 | 1 | КОНДЕНСАТОР | RU | ![]() |
||
| 7 | 403395-00 | 1 | ЧЕХОЛ ШНУРА ПИТАНИЯ | RU | ![]() |
||
| 8 | 582319-31 | 1 | КОМПЛЕКТ ПРОВОДОВ | RU | ![]() |
||
| 12 | 584304-00 | 1 | LEAD WHITE | RU | ![]() |
||
| 13 | 584304-10 | 1 | ПРОВОД СИНИЙ | RU | |||
| 14 | 584304-04 | 1 | LEAD BLACK | RU | ![]() |
||
| 15 | 584304-05 | 1 | LEAD VIOLET | RU | ![]() |
||
| 16 | 584304-02 | 1 | CHOKE LEAD RED | RU | |||
| 17 | 584304-03 | 1 | ВЫВОД ДРОССЕЛЯ | RU | ![]() |
||
| 18 | 930026-01 | 1 | УПОР | RU | ![]() |
||
| 19 | 479818-00 | 1 | РЫЧАГ | RU | ![]() |
||
| 21 | 870052 | 1 | ВТУЛКА | RU | ![]() |
||
| 22 | 324006-14 | 2 | ВИНТ | RU | ![]() |
||
| 23 | 326519-05 | 4 | ВИНТ | RU | |||
| 25 | 1005895-00 | 1 | ПОДШИПНИК | RU | ![]() |
||
| 29 | 584551-00 | 1 | ВСТАВКА | RU | ![]() |
||
| 31 | 577826-00 | 1 | ДЕФЛЕКТОР ВЕНТИЛЯТОРА | RU | ![]() |
||
| 32 | 577810-03 | 1 | КОРПУС СТАТОРА | RU | ![]() |
||
| 34 | 479817-00 | 1 | КРЫШКА РУЧКИ | RU | ![]() |
||
| 35 | 330065-06 | 4 | ВИНТ | RU | ![]() |
||
| 36 | 821070 | 1 | ЗАЖИМ ШНУРА ПИТАНИЯ | RU | ![]() |
||
| 37 | 330065-09 | 1 | ВИНТ | RU | ![]() |
||
| 40 | 330065-25 | 2 | ВИНТ | RU | ![]() |
||
| 50 | N076098 | 1 | ВНУТРЕННИЙ ВАЛ В СБОРЕ | RU | ![]() |
||
| 52 | N029727 | 1 | ПЛАСТИНА | RU | ![]() |
||
| 53 | N042799 | 1 | ПРУЖИНА | RU | ![]() |
||
| 55 | N093371 | 1 | РЫЧАГ В СБОРЕ | Inc 55 + 56 | RU | ||
| 56 | N093371 | 1 | РЫЧАГ В СБОРЕ | Inc 55 + 56 | RU | ||
| 57 | 330065-05 | 1 | ВИНТ | RU | ![]() |
||
| 58 | N034136 | 1 | БЛОКИРОВОЧНАЯ КНОПКА | RU | |||
| 59 | N074923 | 1 | ПРУЖИНА | RU | ![]() |
||
| 60 | 1005811-00 | 1 | УПЛОТНЕНИЕ | RU | ![]() |
||
| 61 | N034134 | 1 | КРЫШКА | RU | ![]() |
||
| 62 | 324006-14 | 2 | ВИНТ | RU | ![]() |
||
| 63 | 581836-00 | 1 | СТОПОРНОЕ КОЛЬЦО | RU | ![]() |
||
| 64 | N081742 | 1 | КОЛЬЦО | RU | |||
| 65 | N081984 | 1 | ШЕСТЕРНЯ | RU | |||
| 66 | N029717 | 1 | ПРУЖИНА | RU | |||
| 67 | 577814-00 | 1 | ШАЙБА | RU | ![]() |
||
| 68 | N081515 | 1 | ВОЙЛОК | RU | ![]() |
||
| 70 | N081983 | 1 | КОЖУХ В СБОРЕ | RU | ![]() |
||
| 72 | 578229-00 | 1 | УПЛОТНЕНИЕ | RU | ![]() |
||
| 73 | 577801-00 | 1 | ОПОРА ПОДШИПНИКА | RU | ![]() |
||
| 74 | N074454 | 1 | ШАЙБА | RU | |||
| 75 | N081750 | 1 | ПОРШЕНЬ | RU | ![]() |
||
| 76 | 579699-00 | 1 | УПЛОТНИТЕЛЬНОЕ КОЛЬЦО | RU | ![]() |
||
| 77 | N081751 | 1 | ПЛУНЖЕР В СБОРЕ | RU | ![]() |
||
| 78 | N029731 | 1 | ВТУЛКА ПОДШИПНИКА | RU | ![]() |
||
| 79 | 324006-15 | 3 | ВИНТ | RU | ![]() |
||
| 80 | N038257 | 1 | ВОЙЛОК | RU | ![]() |
||
| 81 | N042496 | 1 | УПЛОТНИТЕЛЬНОЕ КОЛЬЦО | RU | ![]() |
||
| 90 | 577793-00 | 1 | ЗАЖИМ | RU | ![]() |
||
| 91 | N082141 | 1 | ВТУЛКА | RU | ![]() |
||
| 92 | 580990-00 | 1 | УПЛОТНИТЕЛЬНОЕ КОЛЬЦО | RU | ![]() |
||
| 93 | 577135-00 | 2 | УПЛОТНИТЕЛЬНОЕ КОЛЬЦО | RU | ![]() |
||
| 94 | N082144 | 1 | АМОРТИЗАТОР | RU | |||
| 95 | N403105 | 1 | БОЁК | RU | ![]() |
||
| 96 | N403107 | 1 | ПОДШИПНИК И УПЛОТНЕНИЕ | RU | ![]() |
||
| 97 | 577139-00 | 1 | УПЛОТНЕНИЕ | RU | ![]() |
||
| 100 | N093350 | 1 | КОМПЛЕКТ РЫЧАГА | RU | ![]() |
||
| 101 | 1005844-00 | 1 | ШАЙБА | RU | ![]() |
||
| 103 | N029726 | 1 | ВЕДУЩАЯ ШЕСТЕРНЯ | RU | ![]() |
||
| 104 | N029725 | 1 | ФЛАНЕЦ | RU | ![]() |
||
| 105 | 329794-00 | 1 | ВИНТ | RU | |||
| 110 | N059509 | 1 | ШАЙБА | RU | ![]() |
||
| 114 | N403108 | 1 | ШПИНДЕЛЬ В СБОРЕ | RU | ![]() |
||
| 115 | 577814-00 | 1 | ШАЙБА | RU | ![]() |
||
| 116 | N082143 | 1 | ИГОЛЬЧАТЫЙ ПОДШИПНИК | RU | |||
| 117 | 577812-00 | 1 | УПЛОТНЕНИЕ | RU | ![]() |
||
| 118 | N402303 | 1 | КОРПУС РЕДУКТОРА В СБОРЕ | RU | ![]() |
||
| 119 | 577795-00 | 1 | КОЛЬЦО | RU | ![]() |
||
| 121 | 330019-81 | 4 | ВИНТ | RU | ![]() |
||
| 130 | N416335 | 1 | ШПИНДЕЛЬ | RU | ![]() |
||
| 131 | N403110 | 1 | ЗАЖИМ ШПИНДЕЛЯ | RU | ![]() |
||
| 132 | 871690 | 1 | ПРУЖИНА | RU | ![]() |
||
| 133 | 578387-00 | 1 | ШАЙБА | RU | ![]() |
||
| 134 | 583890-00 | 5 | ШАРИК | RU | ![]() |
||
| 135 | N850185 | 1 | ТРУБА | RU | ![]() |
||
| 136 | 323489-00 | 1 | КОЛПАЧОК | RU | ![]() |
||
| 137 | 579212-00 | 2 | КОЛЬЦО | RU | ![]() |
||
| 138 | 579212-00 | 1 | КОЛЬЦО | RU | ![]() |
||
| 140 | N403111 | 1 | ПАТРОН | RU | ![]() |
||
| 145 | N403112 | 1 | ШПИНДЕЛЬ | RU | ![]() |
||
| 146 | N403284 | 1 | ШПИНДЕЛЬ В СБОРЕ | RU | ![]() |
||
| 147 | 582512-02 | 1 | БЕСКЛЮЧЕВОЙ ПАТРОН | RU | ![]() |
||
| 148 | 605256-02 | 1 | ВИНТ | RU | ![]() |
||
| 150 | N403113 | 1 | ЗАЖИМНОЙ ПАТРОН И ШПИНДЕЛЬ В СБОРЕ | RU | ![]() |
||
| 160 | 1008956-00 | 1 | РУЧКА БОКОВАЯ В СБОРЕ | RU | ![]() |
||
| 170 | 495699-00 | 1 | ОГРАНИЧИТЕЛЬ ГЛУБИНЫ | RU | ![]() |
||
| 800 | 870889-02 | 1 | КОНСИСТЕНТНАЯ СМАЗКА | RU | ![]() |
||
| 801 | 487130-04 | 1 | КОНСИСТЕНТНАЯ СМАЗКА | GLK FLUID 249 NLGI 000 (10G SERVICE) | RU | ![]() |
|
| 817 | 496620-00 | 1 | ЭТИКЕТКА | RU | |||
| 830 | N074584 | 2 | ЯРЛЫК ПРОИЗВОДИТЕЛЯ | RU | |||
| 836 | 1003924-99 | 1 | СПЕЦИНСТРУМЕНТ CIRCLIP REMOVER | RU | ![]() |
||
| 836 | 559662-99 | 1 | СПЕЦИНСТРУМЕНТ CHUCK REMOVAL JIG | RU | |||
| 836 | 596005-99 | 1 | СПЕЦИНСТРУМЕНТ CIRCLIP REMOVER | RU | ![]() |
||
| 836 | 1003925-99 | 1 | СПЕЦИНСТРУМЕНТ CIRCLIP INSERTER | RU | ![]() |
||
| 836 | 1003926-99 | 1 | СПЕЦИНСТРУМЕНТ INSERT | RU | ![]() |
||
| 846 | N093352 | 1 | НАБОР ДЛЯ ТЕХНИЧЕСКОГО ОБСЛУЖИВАНИЯ 230В | RU | |||
| 861 | 577646-07 | 1 | ЯЩИК ДЛЯ ИНСТРУМЕНТА | RU | ![]() |

