DW152 DRILL Type 2 | Drawings
Documents
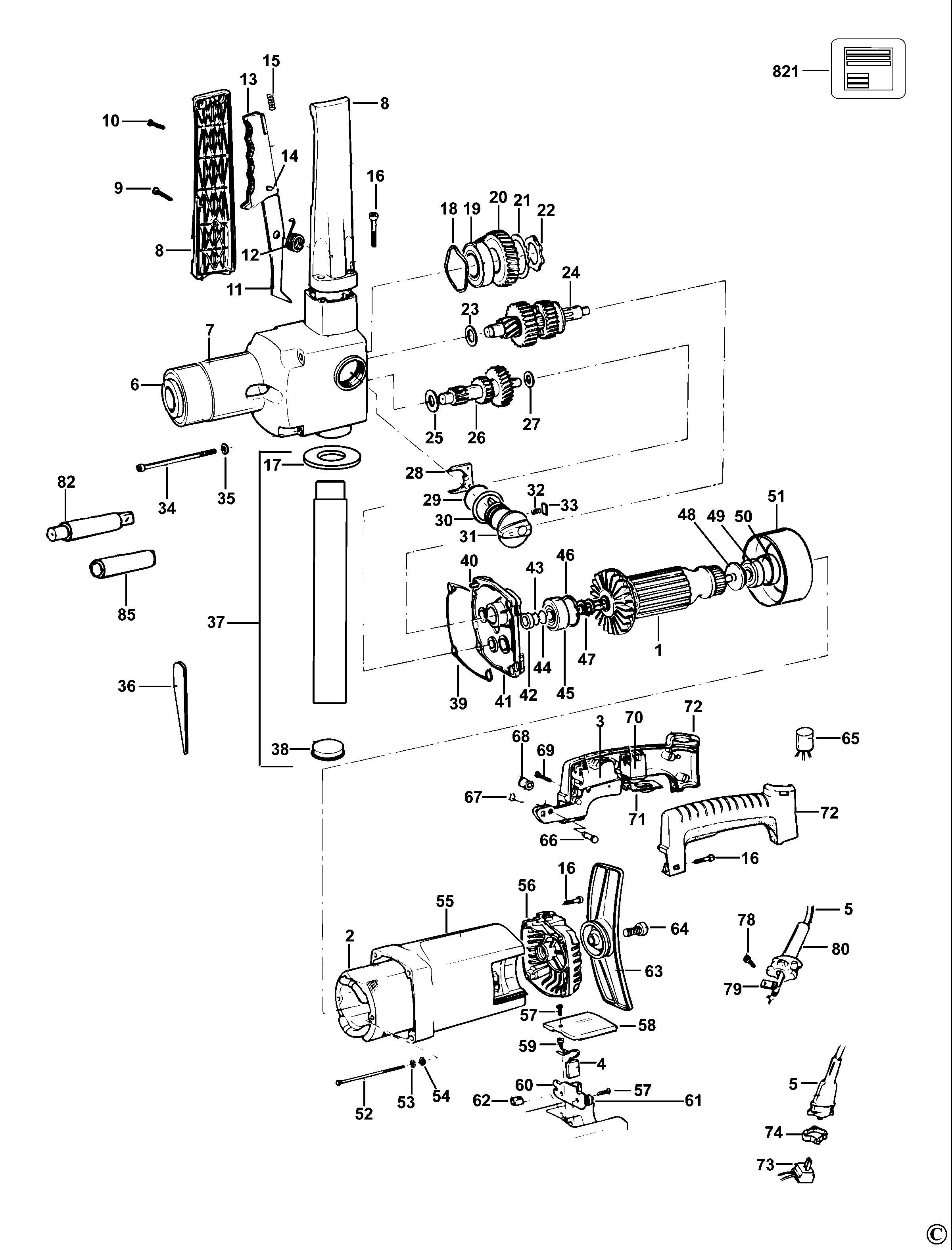
| Item No. | Product Number | Qty Per | Product Description | General Description | Other Info | Markets | Product Status |
|---|---|---|---|---|---|---|---|
| 3 | 932401-00 | 1 | SWITCH | CH | |||
| 6 | 932300-00 | 1 | HOLDER | CH | |||
| 7 | 932418-00 | 1 | GEARCASE SA | CH | |||
| 8 | 935833-02 | 1 | HANDLE SA | CH | |||
| 9 | 949896-14 | 1 | SCREW | CH | |||
| 10 | 949896-13 | 2 | SCREW | CH | |||
| 11 | 932315-00 | 1 | LEVER | CH | |||
| 12 | 932313-00 | 1 | SPRING | CH | |||
| 13 | 932317-00 | 1 | COVER | CH | |||
| 14 | 932314-00 | 1 | PIN | CH | |||
| 15 | 931013-00 | 1 | SPRING | CH | |||
| 16 | 860093-11 | 6 | SCREW | CH | |||
| 17 | 869388-00 | 1 | RING | CH | |||
| 18 | 930614 | 1 | SPACER | CH | |||
| 19 | 930025-00 | 1 | BEARING | CH | |||
| 20 | 932428-00 | 1 | GEAR | CH | |||
| 21 | 932297-00 | 1 | WASHER | CH | |||
| 22 | 932299-00 | 1 | RING | CH | |||
| 23 | 932287-00 | 1 | WASHER | CH | |||
| 24 | 869219-00 | 1 | SPINDLE & GEAR SA | CH | |||
| 25 | 932286-00 | 1 | WASHER | CH | |||
| 26 | 869219-02 | 1 | SPINDLE & GEAR SA | CH | |||
| 27 | 932285-00 | 2 | WASHER | CH | |||
| 28 | 932288-00 | 1 | PLATE | CH | |||
| 29 | 930039 | 1 | SEAL | CH | |||
| 30 | 932289-00 | 1 | WASHER | CH | |||
| 31 | 932265-00 | 1 | LEVER SA | CH | |||
| 32 | 932290-00 | 1 | SPRING | CH | |||
| 33 | 932291-00 | 1 | SPRING | CH | |||
| 34 | 932408-00 | 4 | SCREW | CH | |||
| 35 | 931429-00 | 4 | WASHER | CH | |||
| 36 | 932304-00 | 1 | EJECTOR | CH | |||
| 37 | 948539-02 | 1 | HANDLE SIDE SA | Inc 17 | CH | ||
| 38 | 932308-01 | 1 | CAP | CH | |||
| 39 | 932312-00 | 2 | GASKET | CH | |||
| 40 | 932301-00 | 2 | PIN | CH | |||
| 41 | 943963-00 | 1 | GEARCASE COVER SA | CH | |||
| 42 | 932311-00 | 1 | SEAL | CH | |||
| 43 | 931052-00 | 1 | RING | CH | |||
| 44 | 930940-00 | 1 | RING | CH | |||
| 45 | 868768-05 | 1 | BEARING | CH | |||
| 46 | 949729-02 | 1 | CIRCLIP | CH | |||
| 47 | 932309-00 | 2 | WASHER | CH | |||
| 48 | 930073-00 | 1 | SPACER | CH | |||
| 49 | 868768-00 | 1 | BEARING | CH | |||
| 50 | 934409-00 | 1 | SLEEVE | CH | |||
| 51 | 930072-00 | 1 | BAFFLE | CH | |||
| 52 | 930246-00 | 2 | SCREW | CH | |||
| 53 | 761035-00 | 2 | WASHER | CH | |||
| 54 | 949876-08 | 2 | WASHER | CH | |||
| 55 | 932261-01 | 1 | FIELDCASE | CH | |||
| 56 | 932272-02 | 1 | END CAP SA | CH | |||
| 57 | 930251-01 | 6 | SCREW.TEMP | CH | |||
| 58 | 932306-02 | 2 | COVER BRUSH | CH | |||
| 59 | 930242-00 | 1 | SCREW | CH | |||
| 60 | 930269-00 | 2 | BASEPLATE SA | CH | |||
| 61 | 930099-00 | 2 | SPRING | CH | |||
| 62 | 932307-00 | 2 | BLOCK | CH | |||
| 63 | 932320-00 | 1 | PLATE | CH | |||
| 64 | 932319-00 | 6 | SCREW | CH | |||
| 65 | 932476-00 | 1 | CAPACITOR | CH | |||
| 66 | 932406-00 | 1 | PIN | CH | |||
| 67 | 932268-00 | 2 | RING | CH | |||
| 68 | 932405-00 | 1 | ROLLER | CH | |||
| 69 | 930079-01 | 1 | SCREW | CH | |||
| 70 | 932403-00 | 1 | SWITCH REVERSE | CH | |||
| 71 | 932402-00 | 1 | SLIDER | CH | |||
| 72 | 869395-01 | 1 | HANDLE SA | CH | |||
| 74 | 930331-00 | 1 | RING | CH | |||
| 82 | 932573-01 | 1 | SPINDLE | CH | |||
| 85 | 861907-00 | 1 | ADAPTOR | CH |