STGL2223 РУЧНАЯ МАШИНА ДЛЯ ШЛИФОВАНИЯ ПОД УГЛОМ Type 1 | Чертежи
Документы
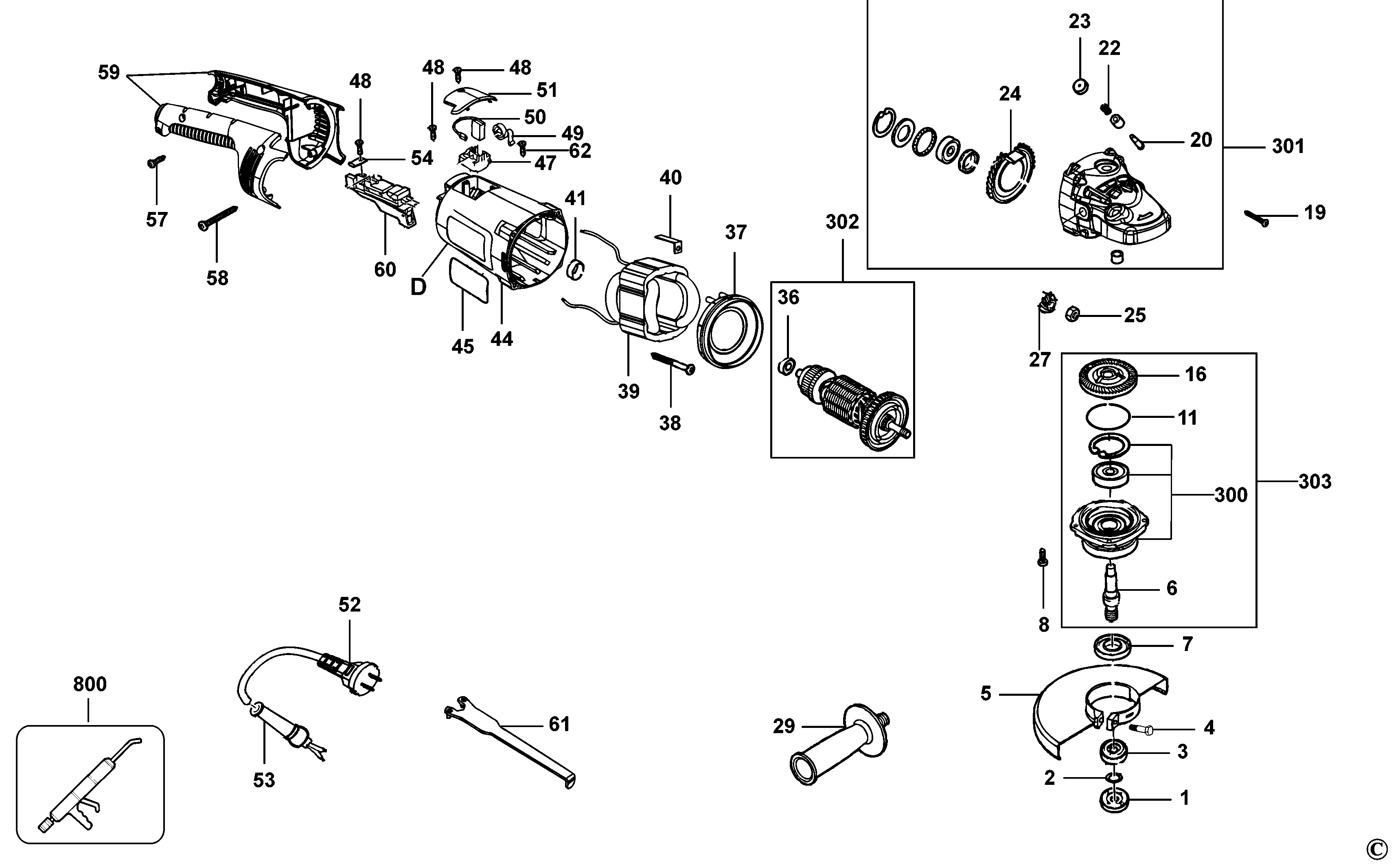
Пожалуйста, просмотрите ниспадающее меню, так как для некоторых продуктов может быть приведено несколько рисунков
| Item No. | Product Number | Qty Per | Product Description | ДОП. ОПИСАНИЕ | Other Info | Markets | Product Status |
|---|---|---|---|---|---|---|---|
| 1 | 4145104008 | 1 | НАРУЖНЫЙ ФЛАНЕЦ | A9 | ![]() |
||
| 2 | 4240203001 | 1 | УПЛОТНИТЕЛЬНОЕ КОЛЬЦО | A9 | ![]() |
||
| 3 | 4145104002 | 1 | ВНУТРЕННИЙ ФЛАНЕЦ | A9 | ![]() |
||
| 4 | 49202029 | 1 | ВИНТ | A9 | ![]() |
||
| 5 | 4149104001 | 1 | ЗАЩИТНЫЙ КОЖУХ | 230mm | A9 | ![]() |
|
| 6 | NA012437 | 1 | ШПИНДЕЛЬ | A9 | |||
| 7 | 4149101605 | 1 | УПЛОТНЕНИЕ | A9 | ![]() |
||
| 8 | 49203009 | 4 | ВИНТ | A9 | ![]() |
||
| 11 | 4148003001 | 1 | УПЛОТНИТЕЛЬНОЕ КОЛЬЦО | A9 | ![]() |
||
| 16 | 4149110005 | 1 | ШЕСТЕРНЯ | A9 | ![]() |
||
| 19 | 49206048 | 4 | ВИНТ | A9 | ![]() |
||
| 20 | 4148004007 | 1 | СТОПОРНЫЙ ШТИФТ | A9 | ![]() |
||
| 22 | 4148008003 | 1 | ПРУЖИНА | A9 | ![]() |
||
| 23 | 4149101606 | 1 | КОЛПАЧОК | A9 | ![]() |
||
| 24 | 4149101607 | 1 | ДЕФЛЕКТОР | A9 | ![]() |
||
| 25 | 49205025 | 1 | ГАЙКА | A9 | ![]() |
||
| 27 | 4149110006 | 1 | КОНИЧЕСКАЯ ШЕСТЕРНЯ | A9 | ![]() |
||
| 29 | 4148001001 | 1 | БОКОВАЯ РУЧКА | A9 | ![]() |
||
| 36 | 49111013 | 1 | ПОДШИПНИК | A9 | ![]() |
||
| 37 | 4149101604 | 1 | ДЕФЛЕКТОР | A9 | ![]() |
||
| 38 | 49206041 | 2 | ВИНТ | A9 | ![]() |
||
| 39 | 60314065 | 1 | СТАТОР В СБОРЕ | A9 | ![]() |
||
| 40 | 4148004003 | 2 | КРОНШТЕЙН | A9 | ![]() |
||
| 41 | 4149103601 | 1 | КРЫШКА ПОДШИПНИКА | A9 | ![]() |
||
| 44 | 4149101601 | 1 | КОЖУХ ДВИГАТЕЛЯ | A9 | ![]() |
||
| 45 | N607208 | 1 | ТАБЛИЧКА С ТЕХНИЧЕСКИМИ ДАННЫМИ | A9 | |||
| 47 | N803529 | 2 | ЩЁТКОДЕРЖАТЕЛЬ | A9 | |||
| 48 | 49206019 | 5 | ВИНТ | A9 | ![]() |
||
| 49 | 4148008002 | 1 | ПРУЖИНА ЩЁТКОДЕРЖАТЕЛЯ | Pair | A9 | ![]() |
|
| 50 | 4148006603 | 1 | ПАРА ЩЁТОК | A9 | ![]() |
||
| 51 | N512367 | 1 | КРЫШКА ЩЁТКИ | A9 | ![]() |
||
| 52 | Z49306036 | 1 | КОМПЛЕКТ ПРОВОДОВ | A9 | |||
| 53 | 49303012 | 1 | ЧЕХОЛ ШНУРА ПИТАНИЯ | A9 | ![]() |
||
| 54 | 4148004011 | 1 | ЗАЖИМ ШНУРА ПИТАНИЯ | A9 | ![]() |
||
| 57 | 49206020 | 2 | ВИНТ | self-tapping 4*18; self-tapping 4x18 mm | A9 | ![]() |
|
| 58 | 49206004 | 2 | ВИНТ | A9 | ![]() |
||
| 59 | 4149101602 | 1 | СОСТАВНОЙ КОРПУС | A9 | ![]() |
||
| 60 | 4148005601 | 1 | ВЫКЛЮЧАТЕЛЬ | A9 | |||
| 61 | 4148004004 | 1 | НАБОР ГАЕЧНЫХ КЛЮЧЕЙ | A9 | ![]() |
||
| 62 | 49203008 | 8 | ВИНТ | A9 | ![]() |
||
| 300 | 4149150007 | 1 | КРЫШКА КОРПУСА РЕДУКТОРА В СБОРЕ | A9 | |||
| 301 | 4149150008 | 1 | КОРПУС РЕДУКТОРА В СБОРЕ | A9 | ![]() |
||
| 303 | 4149150009 | 1 | ШПИНДЕЛЬ И ШЕСТЕРНЯ В СБОРЕ | A9 | ![]() |
||
| 800 | 583534-00 | 1 | КОНСИСТЕНТНАЯ СМАЗКА | 50 GRAMS - NYE RHEOLUB 380G1 | A9 | ![]() |

