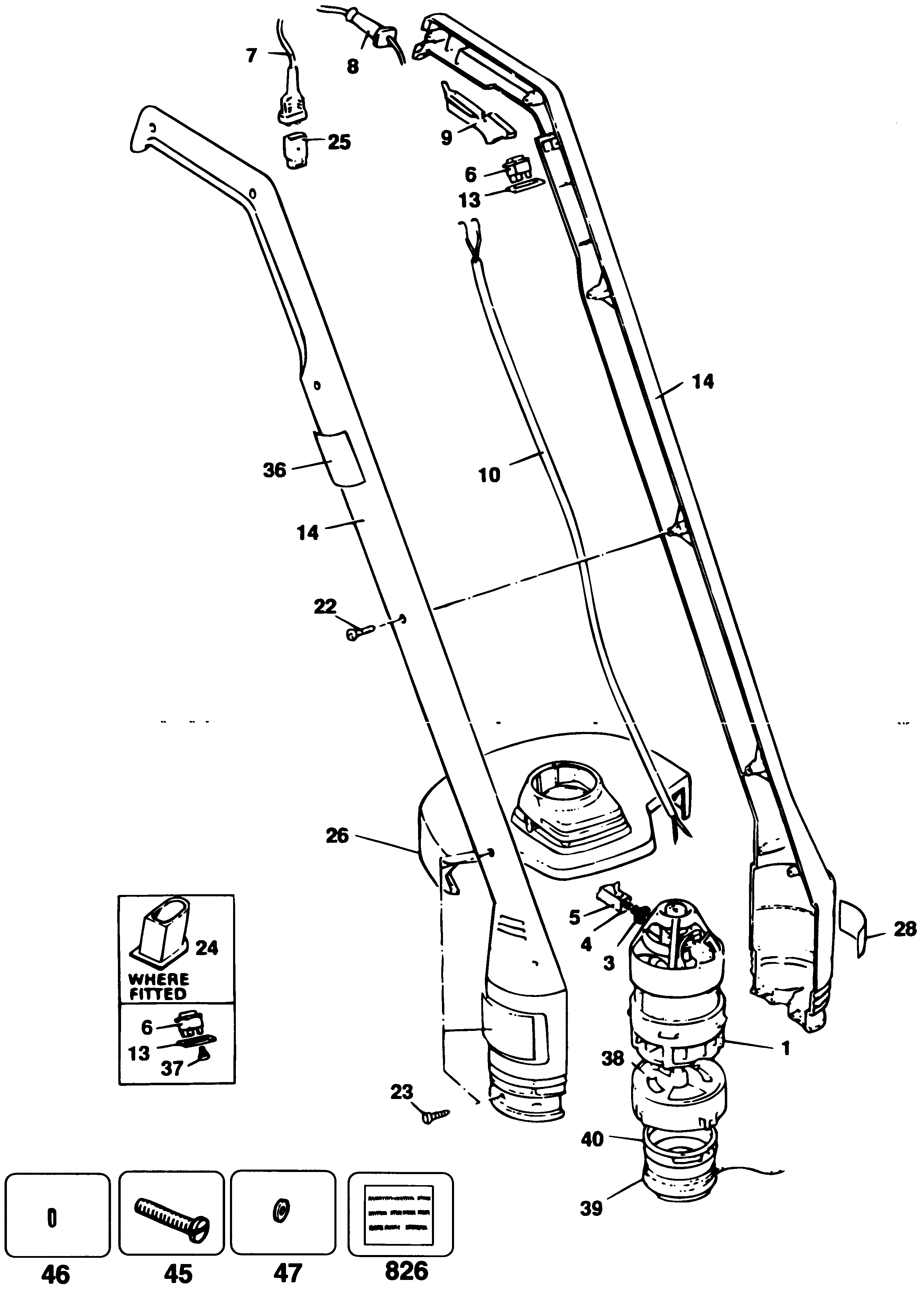
ST20 STRING TRIMMER Type 1 | Drawings
Documents
Item No. | Product Number | Qty Per | Product Description | General Description | Other Info | Markets | Product Status |
---|
Item No. | Product Number | Qty Per | Product Description | General Description | Other Info | Markets | Product Status |
---|