RAS8101 RADIAL ARM SAW Type 2 | Drawings
Documents

Item No. | Product Number | Qty Per | Product Description | General Description | Other Info | Markets | Product Status |
---|---|---|---|---|---|---|---|
1 | 860792-01 | 1 | HANDLE SA | GB | ![]() |
||
2 | 934401-00 | 1 | SCREW | GB | ![]() |
||
3 | 860093-06 | 2 | SCREW | GB | ![]() |
||
4 | 860073-06 | 1 | WASHER SPACER | GB | ![]() |
||
5 | 860784-00 | 1 | CAP | GB | ![]() |
||
6 | 860531-00 | 4 | SCREW | GB | ![]() |
||
7 | 860073-00 | 4 | WASHER | GB | ![]() |
||
8 | 860237-00 | 1 | POINTER | GB | ![]() |
||
9 | 860085-06 | 1 | SCREW | GB | ![]() |
||
10 | 863912-00 | 1 | SUPPORT | GB | ![]() |
||
11 | 860301-00 | 2 | SCREW | GB | ![]() |
||
12 | 860787-90 | 1 | SUPPORT | GB | ![]() |
||
13 | 860074-03 | 2 | WASHER | GB | ![]() |
||
14 | 860093-14 | 2 | SCREW | GB | ![]() |
||
15 | 946469-01 | 2 | KNOB | GB | ![]() |
||
16 | 720959-00 | 2 | WASHER | GB | ![]() |
||
17 | 863710-00 | 1 | BAR | GB | |||
18 | 860786-00 | 1 | STOP RUBBER | GB | ![]() |
||
20 | N152003 | 1 | FSO REPAIR KIT | GB | ![]() |
||
22 | 863272-00 | 1 | BAR | GB | ![]() |
||
23 | 860908-02 | 1 | ARM | GB | ![]() |
||
24 | 860429-00 | 1 | BUMPER | GB | ![]() |
||
25 | 930574-00 | 1 | HEX KEY 5 MM | GB | ![]() |
||
26 | 860093-05 | 2 | SCREW.TEMP | GB | ![]() |
||
27 | 861111-00 | 1 | CAP | GB | ![]() |
||
29 | 860910-02 | 1 | COLUMN SA | GB | ![]() |
||
30 | 860791-00 | 1 | TUBE ELEVATING SA | GB | ![]() |
||
31 | 860083-04 | 8 | NUT | GB | ![]() |
||
32 | 860073-03 | 2 | WASHER M8 | GB | ![]() |
||
33 | 860085-05 | 4 | SCREW | GB | ![]() |
||
34 | 860073-04 | 4 | WASHER | GB | ![]() |
||
35 | 860083-05 | 6 | NUT RH | GB | ![]() |
||
36 | 860085-02 | 2 | SCREW | GB | ![]() |
||
37 | 860909-02 | 1 | BASE | GB | ![]() |
||
38 | 860086-00 | 1 | SCREW | GB | ![]() |
||
39 | 860065-00 | 2 | SPACER | GB | ![]() |
||
40 | 860273-00 | 1 | SPACER LH | GB | ![]() |
||
41 | 860096-06 | 1 | PIN | GB | ![]() |
||
42 | 860831-90 | 1 | PINION | GB | ![]() |
||
43 | 860423-00 | 1 | WRENCH | GB | ![]() |
||
44 | 860232-00 | 2 | NUT | GB | ![]() |
||
45 | 860231-00 | 2 | SCREW | GB | ![]() |
||
46 | 864723-01 | 1 | LEVER | GB | ![]() |
||
47 | 860273-02 | 1 | SPACER RH | GB | ![]() |
||
49 | 860795-00 | 1 | LEVER | GB | ![]() |
||
50 | 860074-04 | 1 | WASHER | GB | ![]() |
||
51 | 861240-00 | 1 | LATCH | GB | ![]() |
||
52 | 860843-01 | 1 | CLAMP | GB | ![]() |
||
53 | 949853-11 | 2 | SCREW | GB | ![]() |
||
55 | 860226-01 | 3 | WASHER | GB | ![]() |
||
56 | 860802-90 | 1 | WASHER | GB | ![]() |
||
57 | 860301-00 | 1 | SCREW | GB | ![]() |
||
58 | 720959-00 | 1 | WASHER | GB | ![]() |
||
59 | 860858-00 | 1 | CATCH | GB | ![]() |
||
60 | 860083-03 | 1 | NUT | GB | ![]() |
||
61 | 949700-06 | 1 | CLIP | GB | ![]() |
||
62 | 949700-07 | 1 | STRAP | GB | ![]() |
||
63 | 863324-00 | 1 | PROTECTOR | GB | ![]() |
||
64 | 860238-03 | 2 | SCREW | GB | ![]() |
||
65 | 860074-01 | 2 | WASHER | GB | ![]() |
||
66 | 949751-01 | 1 | WRENCH | GB | ![]() |
||
70 | 864932-00 | 1 | GUIDE | GB | ![]() |
||
71 | 860521-00 | 2 | CLAMP | GB | ![]() |
||
72 | 860090-02 | 2 | SCREW | GB | ![]() |
||
73 | 860083-01 | 2 | NUT | GB | ![]() |
||
74 | 860520-00 | 1 | CLAMP | GB | ![]() |
||
76 | 860913-00 | 1 | ELEMENT | GB | ![]() |
||
77 | 860899-00 | 1 | GUIDE FENCE | GB | ![]() |
||
78 | 860073-03 | 17 | WASHER M8 | GB | ![]() |
||
79 | 860894-00 | 1 | ELEMENT | GB | ![]() |
||
81 | 860912-00 | 1 | TABLE WORK | GB | ![]() |
||
82 | 860895-00 | 1 | ELEMENT | GB | ![]() |
||
83 | 860220-00 | 1 | SUPPORT | GB | ![]() |
||
84 | 860083-04 | 23 | NUT | GB | ![]() |
||
85 | 860074-03 | 23 | WASHER | GB | ![]() |
||
86 | 860221-00 | 1 | BRACKET | GB | ![]() |
||
90 | 860216-05 | 1 | BASE | GB | ![]() |
||
91 | 860222-00 | 1 | SUPPORT LH | GB | ![]() |
||
92 | 860069-00 | 2 | SLIDER | GB | ![]() |
||
93 | 860083-03 | 2 | NUT | GB | ![]() |
||
94 | 860070-00 | 2 | BRACKET | GB | ![]() |
||
95 | 863310-00 | 2 | KNOB | GB | ![]() |
||
96 | 949703-01 | 17 | SCREW | GB | ![]() |
||
98 | 860896-00 | 1 | TABLE EXTENSION | GB | ![]() |
||
99 | 860085-04 | 6 | SCREW | GB | ![]() |
||
100 | 860010-00 | 2 | SCREW | GB | ![]() |
||
103 | 861238-02 | 1 | BRACKET LH | GB | ![]() |
||
104 | 860905-01 | 1 | BRACKET | GB | ![]() |
||
105 | 860781-03 | 1 | BRACKET LH | GB | ![]() |
||
106 | 860781-04 | 1 | BRACKET RH | GB | ![]() |
||
107 | 860904-01 | 1 | BRACKET RH | GB | ![]() |
||
108 | 860903-01 | 1 | BRACKET LH | GB | ![]() |
||
110 | 949863-23 | 1 | CABLE SA | GB | ![]() |
||
111 | 949701-03 | 2 | SCREW | GB | ![]() |
||
112 | 860083-02 | 2 | NUT | GB | ![]() |
||
113 | 860073-01 | 2 | WASHER | GB | ![]() |
||
114 | 861831-01 | 1 | SWITCHBOX SA | GB | ![]() |
||
115 | 861896-00 | 1 | CABLE | GB | |||
120 | 760421-00 | 2 | SHAFT | GB | ![]() |
||
121 | 860123-00 | 1 | PIVOT SHAFT | GB | ![]() |
||
122 | 860154-00 | 4 | BEARING | GB | ![]() |
||
123 | 760417-00 | 2 | SHAFT | GB | ![]() |
||
124 | 949894-06 | 2 | SCREW | GB | ![]() |
||
125 | 863727-00 | 1 | POINTER | GB | ![]() |
||
126 | 862427-00 | 1 | KNOB | GB | ![]() |
||
127 | 860121-00 | 1 | CLAMP | GB | ![]() |
||
128 | 860122-00 | 1 | SPACER | GB | ![]() |
||
129 | 938539-00 | 1 | KEY | GB | ![]() |
||
130 | 941880-00 | 2 | SCREW | GB | ![]() |
||
131 | 860074-03 | 6 | WASHER | GB | ![]() |
||
132 | 860083-08 | 4 | NUT | GB | ![]() |
||
133 | 860817-01 | 1 | COVER | GB | ![]() |
||
134 | 949882-01 | 1 | WRENCH 4 MM | GB | ![]() |
||
135 | 863977-00 | 1 | PIN | GB | ![]() |
||
136 | 860112-11 | 2 | SPRING | GB | ![]() |
||
137 | 860835-00 | 1 | SUPPORT | GB | ![]() |
||
138 | 860098-04 | 1 | WRENCH 6 MM | GB | ![]() |
||
139 | 946469-01 | 1 | KNOB | GB | ![]() |
||
140 | 860093-00 | 2 | SCREW | GB | ![]() |
||
141 | 860119-01 | 1 | FRONT TRUNNION | GB | ![]() |
||
142 | 860120-00 | 3 | PLATE | GB | ![]() |
||
143 | 860093-00 | 3 | SCREW | GB | ![]() |
||
144 | 860531-00 | 2 | SCREW | GB | ![]() |
||
145 | 862721-01 | 1 | POINTER | GB | ![]() |
||
146 | 860830-00 | 1 | PLATE | GB | ![]() |
||
147 | 860827-00 | 1 | SHIELD | GB | ![]() |
||
149 | 860796-01 | 1 | KNOB | GB | ![]() |
||
151 | 864057-01 | 1 | CLAMP | GB | ![]() |
||
152 | 860113-00 | 1 | CLAMP | GB | ![]() |
||
153 | 860086-11 | 1 | SCREW | GB | ![]() |
||
154 | 860092-00 | 2 | NUT | GB | ![]() |
||
155 | 720959-00 | 2 | WASHER | GB | ![]() |
||
156 | 864160-00 | 1 | DISC | GB | ![]() |
||
158 | 864058-00 | 1 | SCREW | GB | ![]() |
||
159 | 860823-02 | 1 | YOKE | GB | ![]() |
||
160 | 860824-00 | 1 | RING SA | GB | ![]() |
||
161 | 860818-04 | 1 | CATCH | GB | ![]() |
||
162 | 860085-06 | 1 | SCREW | GB | ![]() |
||
163 | 760427-01 | 1 | CAP | GB | ![]() |
||
164 | 860816-00 | 1 | CATCH | GB | ![]() |
||
165 | 860073-01 | 1 | WASHER | GB | ![]() |
||
166 | 860092-03 | 1 | NUT M5 | GB | ![]() |
||
167 | 860074-03 | 1 | WASHER | GB | ![]() |
||
168 | 860825-00 | 1 | CLAMP | GB | ![]() |
||
169 | 860829-00 | 1 | POINTER | GB | ![]() |
||
170 | 860205-06 | 2 | SCREW | GB | ![]() |
||
171 | 860814-03 | 1 | ROLLER HEAD | GB | ![]() |
||
178 | 949701-12 | 1 | SCREW | GB | ![]() |
||
179 | 860089-39 | 2 | SCREW | GB | ![]() |
||
180 | 862424-00 | 1 | HANDLE | GB | ![]() |
||
181 | 860083-02 | 3 | NUT | GB | ![]() |
||
182 | 860083-12 | 2 | NUT M6 | GB | ![]() |
||
186 | 949751-02 | 1 | WRENCH | GB | ![]() |
||
189 | 860073-03 | 1 | WASHER M8 | GB | ![]() |
||
190 | 860143-00 | 1 | NUT WING | GB | ![]() |
||
192 | 860318-00 | 1 | KEY | GB | ![]() |
||
193 | 868768-07 | 1 | BEARING | GB | ![]() |
||
194 | 860080-02 | 1 | RING | GB | ![]() |
||
195 | 860446-01 | 4 | BOLT | GB | ![]() |
||
196 | 861863-00 | 1 | END CAP SA | GB | ![]() |
||
197 | 868401-01 | 1 | STATOR SA 230V | GB | ![]() |
||
198 | 868511-00 | 1 | ROTOR 1 PH | GB | ![]() |
||
200 | 868768-10 | 1 | BEARING | GB | ![]() |
||
201 | 862162-00 | 1 | HOUSING | GB | ![]() |
||
202 | 945842-00 | 1 | FLANGE | GB | ![]() |
||
203 | 945843-00 | 1 | FLANGE | GB | ![]() |
||
204 | 944460-00 | 1 | NUT | GB | ![]() |
||
205 | 860098-05 | 1 | HEX KEY 8 MM | GB | ![]() |
||
206 | 868390-00 | 1 | MOTOR SA 1PH | GB | ![]() |
||
207 | 945841-00 | 1 | FAN | GB | ![]() |
||
208 | 860687-04 | 1 | END CAP | GB | ![]() |
||
209 | 860538-00 | 4 | SCREW | GB | ![]() |
||
210 | 860718-00 | 2 | SEAL | GB | ![]() |
||
211 | 860088-25 | 1 | SCREW | GB | ![]() |
||
212 | 860094-01 | 2 | SCREW | GB | ![]() |
||
214 | 123302-01 | 1 | CAP | GB | ![]() |
||
215 | 863878-00 | 1 | GASKET | GB | ![]() |
||
216 | 864085-01 | 1 | PLATE | GB | ![]() |
||
219 | 863112-00 | 1 | CAP | GB | ![]() |
||
220 | 949727-06 | 1 | CIRCLIP | GB | ![]() |
||
221 | 861336-05 | 1 | BRAKE ADAPTER | GB | ![]() |
||
222 | 861338-05 | 1 | SPRING | GB | ![]() |
||
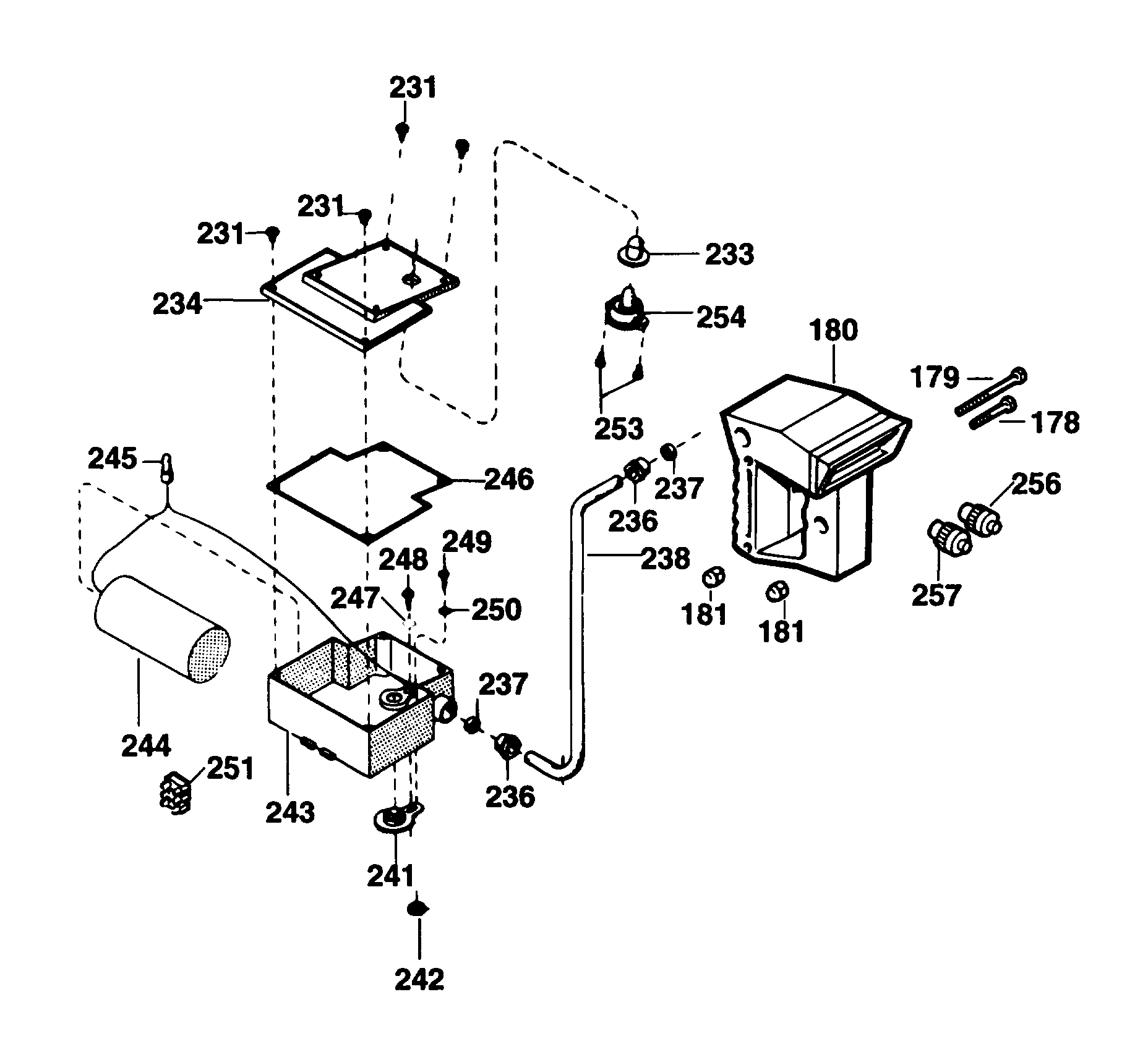
231 | 860094-03 | 4 | SCREW | GB | ![]() |
||
233 | 860133-00 | 1 | CAP | GB | ![]() |
||
234 | 944454-00 | 1 | COVER | GB | ![]() |
||
236 | 944654-00 | 2 | RETAINER | GB | ![]() |
||
237 | 944590-00 | 2 | NUT | GB | ![]() |
||
238 | 949863-44 | 1 | LEAD | GB | ![]() |
||
241 | 944652-00 | 1 | GROMMET | GB | ![]() |
||
242 | 944653-00 | 1 | GROMMET | GB | ![]() |
||
243 | 860702-00 | 1 | HOUSING | GB | ![]() |
||
244 | 944455-00 | 1 | CONDENSOR | GB | ![]() |
||
245 | 860540-00 | 1 | CONNECTOR | GB | ![]() |
||
246 | 860708-00 | 1 | GASKET | GB | ![]() |
||
247 | 860073-01 | 1 | WASHER | GB | ![]() |
||
248 | 860094-00 | 1 | SCREW.TEMP | GB | ![]() |
||
249 | 860094-05 | 1 | SCREW | GB | ![]() |
||
250 | 944650-00 | 1 | WASHER SPRING | GB | ![]() |
||
251 | 949784-06 | 1 | CONNECTOR | GB | ![]() |
||
253 | 860094-03 | 1 | SCREW | GB | ![]() |
||
254 | 860692-00 | 1 | KLIXON | GB | ![]() |
||
256 | 863124-16 | 1 | BUTTON STOP | GB | ![]() |
||
257 | 863124-17 | 1 | BUTTON START | GB | ![]() |
||
257 | 863124-17 | 1 | BUTTON START | GB | ![]() |
||
270 | 946469-01 | 1 | KNOB | GB | ![]() |
||
271 | 860075-00 | 4 | WASHER | GB | ![]() |
||
272 | 863709-00 | 1 | SUPPORT | GB | ![]() |
||
273 | 863703-00 | 1 | PROTECTOR | GB | ![]() |
||
274 | 864095-00 | 1 | TUBE EXTRACTION | GB | ![]() |
||
275 | 863708-00 | 1 | SQUARE | GB | ![]() |
||
276 | 860074-01 | 4 | WASHER | GB | ![]() |
||
277 | 861842-01 | 1 | KNOB | GB | ![]() |
||
279 | 760273-00 | 3 | SCREW | GB | ![]() |
||
280 | 863707-01 | 1 | BRACKET | GB | ![]() |
||
281 | 760998-00 | 2 | SCREW | GB | ![]() |
||
282 | 249412-20 | 2 | SCREW | GB | ![]() |
||
283 | 864053-00 | 4 | WASHER | GB | ![]() |
||
284 | 860301-00 | 3 | SCREW | GB | ![]() |
||
285 | 864086-00 | 2 | SHIM | GB | ![]() |
||
287 | 860083-03 | 2 | NUT | GB | ![]() |
||
290 | 941518-00 | 1 | SCREW | GB | ![]() |
||
292 | 863705-00 | 1 | BUSH | GB | ![]() |
||
293 | 864054-00 | 2 | ROLLER | GB | ![]() |
||
296 | 864538-02 | 1 | ELEMENT | GB | |||
297 | 760219-00 | 1 | SCREW | GB | ![]() |
||
299 | 863599-02 | 1 | SPACER | GB | ![]() |
||
303 | 949891-03 | 1 | SCREW | GB | ![]() |
||
304 | 861221-00 | 2 | SPRING | GB | ![]() |
||
305 | 860083-15 | 1 | NUT | GB | ![]() |
||
306 | 861239-00 | 1 | SPRING | GB | ![]() |
||
307 | 860076-04 | 1 | WASHER | GB | ![]() |
||
309 | 862234-00 | 1 | GUARD | GB | ![]() |
||
310 | 863773-02 | 1 | PROTECTOR | GB | ![]() |
||
311 | 862426-00 | 1 | GUARD | GB | ![]() |
||
312 | 862082-01 | 2 | LEVER | GB | ![]() |
||
313 | 863271-00 | 1 | RIVING KNIFE | GB | ![]() |
||
314 | 862081-00 | 1 | BRACKET | GB | ![]() |
||
315 | 863205-02 | 1 | BRACKET | GB | ![]() |
||
316 | 863437-00 | 1 | BRACKET | GB | ![]() |
||
319 | 869235-00 | 1 | SPANNER BOX | GB | ![]() |
||
320 | 860073-01 | 2 | WASHER | GB | ![]() |