ETS21 TABLE SAW Type 1 | Drawings
Documents

Item No. | Product Number | Qty Per | Product Description | General Description | Other Info | Markets | Product Status |
---|---|---|---|---|---|---|---|
1 | 559701-00 | 1 | COVER | GB | ![]() |
||
2 | 559782-00 | 2 | SCREW | GB | ![]() |
||
3 | 279995-00 | 1 | OUTER FLANGE | GB | ![]() |
||
4 | 279994-00 | 1 | INNER FLANGE | GB | ![]() |
||
5 | 559743-00 | 1 | SCREW | GB | ![]() |
||
6 | 559744-00 | 1 | WASHER | GB | ![]() |
||
7 | 559715-00 | 2 | SCREW | GB | ![]() |
||
8 | 559745-00 | 1 | SPACER | GB | ![]() |
||
9 | 559746-00 | 1 | RIVING KNIFE | GB | ![]() |
||
10 | 559747-00 | 1 | BRACKET | GB | ![]() |
||
11 | 278913-00 | 6 | WASHER M8 | GB | ![]() |
||
12 | 569271-00 | 1 | FRAME SA | GB | ![]() |
||
14 | 720959-00 | 23 | WASHER | GB | ![]() |
||
16 | 559770-00 | 5 | NUT | GB | ![]() |
||
17 | 279997-00 | 1 | STOP PLATE | GB | ![]() |
||
18 | 279999-00 | 1 | SUPPORT | GB | ![]() |
||
19 | 559756-00 | 3 | SCREW | GB | ![]() |
||
20 | 860083-12 | 3 | NUT M6 | GB | ![]() |
||
21 | 279979-00 | 2 | STOP | GB | ![]() |
||
22 | 279978-00 | 2 | ECCENTRIC | GB | ![]() |
||
23 | 559757-00 | 1 | PROTRACTOR | GB | ![]() |
||
24 | 891027 | 22 | SCREW | GB | ![]() |
||
25 | 279345-00 | 1 | COLLAR | GB | ![]() |
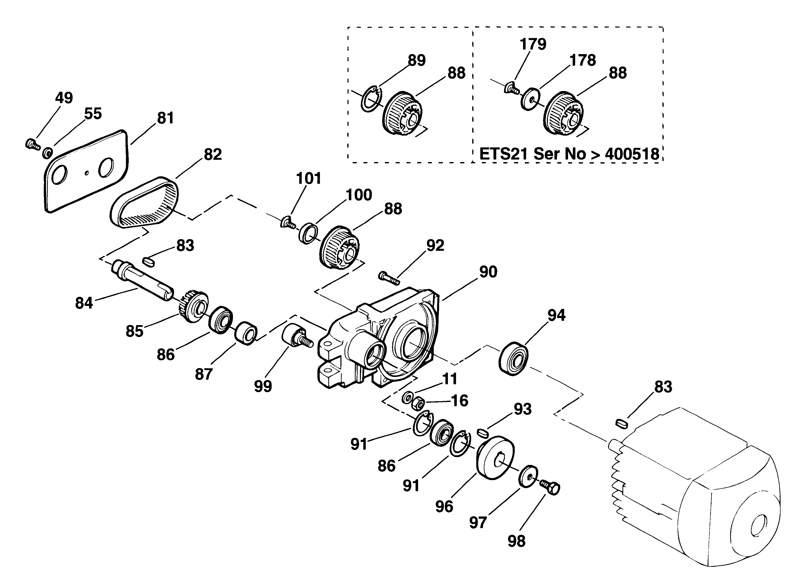
||
26 | 279987-00 | 1 | PIN | GB | ![]() |
||
27 | 279985-00 | 1 | KNOB SA | GB | ![]() |
||
28 | 279986-00 | 1 | SPINDLE | GB | ![]() |
||
29 | 559759-00 | 1 | SPRING | GB | ![]() |
||
30 | 559761-00 | 1 | NUT | GB | ![]() |
||
31 | 279378-00 | 1 | GRUB SCREW | GB | ![]() |
||
32 | 279340-00 | 1 | HANDLE SA | GB | ![]() |
||
33 | 279379-00 | 1 | LABEL | GB | ![]() |
||
34 | 279346-00 | 1 | NUT | GB | ![]() |
||
35 | 279991-00 | 1 | DRIVE SHAFT | GB | ![]() |
||
37 | 279320-00 | 6 | CIRCLIP | GB | ![]() |
||
38 | 279996-00 | 1 | COVER | GB | ![]() |
||
39 | 559773-00 | 4 | SCREW | GB | ![]() |
||
40 | 279319-00 | 2 | SLIDE | GB | ![]() |
||
42 | 559791-00 | 1 | GRUB SCREW | GB | ![]() |
||
43 | 279375-00 | 1 | SCREW | GB | ![]() |
||
44 | 279370-00 | 1 | BEARING | GB | ![]() |
||
45 | 279371-00 | 1 | PINION | GB | ![]() |
||
46 | 279372-00 | 2 | WASHER | GB | ![]() |
||
47 | 279373-00 | 1 | BEARING | GB | ![]() |
||
48 | 279374-00 | 1 | CAP | GB | ![]() |
||
49 | 911172 | 20 | SCREW | GB | ![]() |
||
51 | 279988-00 | 1 | MOTOR 3PH 400V | ETS23 3 PH 400V | GB | ![]() |
|
51 | 279989-00 | 1 | MOTOR 230V | ETS21 1 PH 230V | GB | ![]() |
|
52 | 279992-00 | 1 | CORD PROTECTOR | GB | ![]() |
||
53 | 559786-00 | 1 | SWITCHBOX & CABLE | 1PH 230V | GB | ![]() |
|
55 | 909306 | 20 | WASHER | GB | ![]() |
||
56 | 279428-00 | 1 | CAPACITOR & BOX SA | ETS21 1 PH 230V | GB | ![]() |
|
56 | 279434-00 | 1 | TERMINAL BOX | ETS23 3 PH 400V | GB | ![]() |
|
57 | 559781-00 | 1 | SCREW | GB | ![]() |
||
58 | 559758-00 | 1 | LEVER | GB | ![]() |
||
59 | 860428-00 | 2 | SCREW | GB | ![]() |
||
60 | 860084-05 | 2 | SCREW | GB | ![]() |
||
61 | 559762-00 | 1 | WASHER | GB | ![]() |
||
63 | 934567 | 2 | SCREW | GB | |||
64 | 559785-00 | 1 | CABLE & PLUG | GB | ![]() |
||
65 | 882397 | 2 | SCREW | GB | ![]() |
||
81 | 559702-00 | 1 | COVER | GB | ![]() |
||
82 | 559703-00 | 1 | BELT TOOTHED | GB | ![]() |
||
83 | 559704-00 | 2 | KEY | GB | ![]() |
||
84 | 559705-00 | 1 | SHAFT | GB | ![]() |
||
85 | 559706-00 | 1 | PULLEY | GB | ![]() |
||
86 | 559707-00 | 2 | BEARING | GB | ![]() |
||
87 | 559708-00 | 1 | SPACER | GB | ![]() |
||
88 | 559709-00 | 1 | DRIVE PULLEY | GB | ![]() |
||
89 | 559710-00 | 1 | CIRCLIP | GB | ![]() |
||
90 | 559711-00 | 1 | HOUSING | GB | ![]() |
||
91 | 559712-00 | 2 | CIRCLIP | GB | ![]() |
||
92 | 935626 | 4 | SCREW | GB | ![]() |
||
93 | 559713-00 | 1 | KEY | GB | ![]() |
||
94 | 559714-00 | 1 | BEARING | GB | ![]() |
||
96 | 559716-00 | 1 | PULLEY | GB | ![]() |
||
97 | 559717-00 | 1 | WASHER | GB | ![]() |
||
98 | 559718-00 | 1 | BOLT | GB | ![]() |
||
99 | 559969-00 | 1 | TENSIONING PULLEY | GB | ![]() |
||
100 | 559970-00 | 1 | WASHER. CUP | ETS21GB |
![]() | ||
100 | 559970-00 | 1 | WASHER. CUP | ETS23 | GB | ![]() |
|
101 | 559971-00 | 1 | SCREW | ETS21GB |
![]() | ||
101 | 559971-00 | 1 | SCREW | ETS23 | GB | ![]() |
|
135 | 559742-00 | 1 | NUT | GB | ![]() |
||
150 | 559740-00 | 1 | GUARD SA | GB | ![]() |
||
152 | 279982-00 | 1 | INSERT | GB | ![]() |
||
155 | 279354-00 | 2 | SIDE EXTRUSION | GB | ![]() |
||
156 | 279983-00 | 1 | END EXTRUSION | GB | ![]() |
||
157 | 559700-00 | 1 | END EXTRUSION | GB | ![]() |
||
158 | 279981-00 | 1 | TABLE SECTION | GB | ![]() |
||
159 | 279980-00 | 1 | TABLE SECTION | GB | ![]() |
||
160 | 279352-00 | 1 | TABLE SECTION | GB | ![]() |
||
161 | 279359-00 | 2 | BRACE | GB | ![]() |
||
162 | 279356-00 | 4 | JOINT | GB | ![]() |
||
163 | 279367-00 | 16 | SCREW.SPECIAL | GB | ![]() |
||
164 | 279366-00 | 18 | NUT | GB | ![]() |
||
165 | 760219-00 | 18 | SCREW | GB | ![]() |
||
166 | 279391-00 | 8 | WASHER | GB | ![]() |
||
167 | 279348-00 | 1 | PANEL LH | GB | ![]() |
||
168 | 279357-00 | 2 | RAIL | GB | ![]() |
||
169 | 279977-00 | 1 | PANEL.REAR | GB | ![]() |
||
170 | 279349-00 | 1 | PANEL RH | GB | ![]() |
||
171 | 279976-00 | 1 | PANEL FRONT | GB | ![]() |
||
172 | 11144 | 4 | SCREW | GB | |||
173 | 279363-00 | 4 | FOOT | GB | ![]() |
||
174 | 892473 | 8 | SCREW | GB | ![]() |
||
175 | 279321-00 | 2 | CLAMP | GB | ![]() |
||
176 | 279315-00 | 1 | HOSE | GB | ![]() |
||
177 | 559772-00 | 1 | LABEL | ETS21>SER NO 400518 | GB | ![]() |
|
177 | 567949-00 | 1 | LABEL | ETS23 | GB | ![]() |
|
178 | 559734-00 | 1 | WASHER | ETS21>SER NO 400518 | GB | ![]() |
|
179 | 559735-00 | 1 | BOLT | ETS21>SER NO 400518 | GB | ![]() |
|
846 | 560236-00 | 1 | SPANNER BLADE | GB | ![]() |
||
847 | 941580-00 | 1 | SPANNER 13-17MM | GB | ![]() |
||
848 | 930574-00 | 1 | HEX KEY 5 MM | GB | ![]() |
||
849 | 560237-00 | 1 | HANDLE | GB | ![]() |