RAS1253 RADIAL ARM SAW Type 1 | Drawings
Documents
| Item No. | Product Number | Qty Per | Product Description | General Description | Other Info | Markets | Product Status |
|---|---|---|---|---|---|---|---|
| 1 | 860792-01 | 1 | HANDLE SA | CH | |||
| 2 | 934401-00 | 1 | SCREW | CH | |||
| 3 | 860093-06 | 2 | SCREW | CH | |||
| 4 | 860073-06 | 1 | WASHER SPACER | CH | |||
| 5 | 860784-00 | 1 | CAP | CH | |||
| 6 | 860531-00 | 4 | SCREW | CH | |||
| 7 | 860073-00 | 3 | WASHER | CH | |||
| 8 | 860237-00 | 1 | POINTER | CH | |||
| 10 | 863723-00 | 1 | SPRING | CH | |||
| 11 | 860301-00 | 2 | SCREW | CH | |||
| 12 | 860787-90 | 1 | SUPPORT | CH | |||
| 13 | 860074-03 | 2 | WASHER | CH | |||
| 14 | 860093-07 | 2 | SCREW | CH | |||
| 15 | 946469-01 | 2 | KNOB | CH | |||
| 16 | 720959-00 | 2 | WASHER | CH | |||
| 17 | 860852-90 | 1 | ARM | CH | |||
| 18 | 860786-00 | 1 | STOP RUBBER | CH | |||
| 19 | 860839-00 | 1 | COVER | CH | |||
| 22 | 863722-00 | 1 | SCALE | CH | |||
| 23 | 860799-04 | 1 | ARM | CH | |||
| 24 | 860429-00 | 1 | BUMPER | CH | |||
| 25 | 930574-00 | 1 | HEX KEY 5 MM | CH | |||
| 26 | 860093-05 | 2 | SCREW.TEMP | CH | |||
| 27 | 861111-00 | 1 | CAP | CH | |||
| 29 | 860790-00 | 1 | COLUMN SA | CH | |||
| 30 | 860791-00 | 1 | TUBE ELEVATING SA | CH | |||
| 31 | 860083-04 | 8 | NUT | CH | |||
| 32 | 860073-03 | 2 | WASHER M8 | CH | |||
| 33 | 860085-05 | 4 | SCREW | CH | |||
| 34 | 860073-04 | 4 | WASHER | CH | |||
| 35 | 860083-05 | 6 | NUT RH | CH | |||
| 36 | 860085-02 | 2 | SCREW | CH | |||
| 37 | 860016-03 | 1 | BASE | CH | |||
| 38 | 860086-00 | 1 | SCREW | CH | |||
| 39 | 860065-00 | 2 | SPACER | CH | |||
| 41 | 860096-06 | 1 | PIN | CH | |||
| 42 | 860831-90 | 1 | PINION | CH | |||
| 43 | 860423-00 | 1 | WRENCH | CH | |||
| 44 | 860232-00 | 2 | NUT | CH | |||
| 45 | 860231-00 | 2 | SCREW | CH | |||
| 46 | 860800-00 | 1 | LEVER | CH | |||
| 48 | 11467 | 1 | PIN | CH | |||
| 49 | 860795-00 | 1 | LEVER | CH | |||
| 50 | 860074-04 | 1 | WASHER | CH | |||
| 51 | 860228-01 | 1 | LATCH | CH | |||
| 52 | 860843-02 | 1 | BRACKET | CH | |||
| 53 | 949853-11 | 2 | SCREW | CH | |||
| 55 | 860226-01 | 3 | WASHER | CH | |||
| 56 | 860802-90 | 1 | WASHER | CH | |||
| 57 | 860301-00 | 1 | SCREW | CH | |||
| 58 | 720959-00 | 1 | WASHER | CH | |||
| 59 | 860858-00 | 1 | CATCH | CH | |||
| 60 | 860083-03 | 1 | NUT | CH | |||
| 61 | 860521-00 | 2 | CLAMP | CH | |||
| 62 | 860090-02 | 2 | SCREW | CH | |||
| 63 | 860083-01 | 2 | NUT | CH | |||
| 64 | 860520-00 | 1 | CLAMP | CH | |||
| 76 | 864944-00 | 1 | TABLE | CH | |||
| 77 | 864914-00 | 1 | GUIDE | CH | |||
| 78 | 860073-03 | 15 | WASHER M8 | CH | |||
| 80 | 864945-00 | 1 | ELEMENT | CH | |||
| 81 | 864943-00 | 1 | TABLE | CH | |||
| 82 | 860077-02 | 1 | QUICKLOCK | CH | |||
| 83 | 860007-00 | 1 | BAR | CH | |||
| 84 | 860083-05 | 4 | NUT RH | CH | |||
| 85 | 860074-04 | 4 | WASHER | CH | |||
| 86 | 860005-00 | 1 | BAR | CH | |||
| 87 | 860074-03 | 14 | WASHER | CH | |||
| 88 | 860083-04 | 14 | NUT | CH | |||
| 90 | 860004-00 | 1 | BASE SA | CH | |||
| 91 | 860006-00 | 1 | BAR | CH | |||
| 92 | 860069-00 | 2 | SLIDER | CH | |||
| 93 | 860083-03 | 2 | NUT | CH | |||
| 94 | 860070-00 | 2 | BRACKET | CH | |||
| 95 | 863310-00 | 2 | KNOB | CH | |||
| 96 | 949703-01 | 14 | SCREW | CH | |||
| 97 | 863130-04 | 2 | SUPPORT BRACKET | CH | |||
| 98 | 55271 | 1 | TABLE | CH | |||
| 99 | 860085-00 | 4 | BOLT | CH | |||
| 100 | 760565-01 | 1 | STUD | CH | |||
| 101 | 860842-00 | 1 | STUD | CH | |||
| 102 | 869235-00 | 1 | SPANNER BOX | CH | |||
| 103 | 860083-15 | 1 | NUT | CH | |||
| 120 | 760421-00 | 2 | SHAFT | CH | |||
| 121 | 860123-00 | 1 | PIVOT SHAFT | CH | |||
| 122 | 860154-00 | 3 | BEARING | CH | |||
| 123 | 760417-00 | 1 | SHAFT | CH | |||
| 124 | 949894-06 | 2 | SCREW | CH | |||
| 125 | 863727-00 | 1 | POINTER | CH | |||
| 126 | 862427-00 | 1 | KNOB | CH | |||
| 127 | 860121-00 | 1 | CLAMP | CH | |||
| 128 | 860122-00 | 1 | SPACER | CH | |||
| 129 | 938539-00 | 1 | KEY | CH | |||
| 130 | 860088-27 | 1 | SCREW | CH | |||
| 131 | 860074-03 | 5 | WASHER | CH | |||
| 132 | 860083-08 | 3 | NUT | CH | |||
| 133 | 860817-01 | 1 | COVER | CH | |||
| 134 | 949882-01 | 1 | WRENCH 4 MM | CH | |||
| 135 | 863977-00 | 1 | PIN | CH | |||
| 136 | 860112-11 | 2 | SPRING | CH | |||
| 137 | 860835-00 | 1 | SUPPORT | CH | |||
| 138 | 860098-04 | 1 | WRENCH 6 MM | CH | |||
| 139 | 946469-01 | 1 | KNOB | CH | |||
| 140 | 860093-00 | 2 | SCREW | CH | |||
| 141 | 860119-01 | 1 | FRONT TRUNNION | CH | |||
| 142 | 860120-00 | 2 | PLATE | CH | |||
| 143 | 860093-18 | 3 | SCREW | CH | |||
| 144 | 860531-00 | 2 | SCREW | CH | |||
| 145 | 862721-01 | 1 | POINTER | CH | |||
| 146 | 860830-00 | 1 | PLATE | CH | |||
| 147 | 860827-00 | 1 | SHIELD | CH | |||
| 148 | 860828-00 | 1 | PLATE | CH | |||
| 149 | 860796-01 | 1 | KNOB | CH | |||
| 150 | 860809-00 | 1 | PLATE | CH | |||
| 151 | 864057-01 | 1 | CLAMP | CH | |||
| 152 | 860113-00 | 1 | CLAMP | CH | |||
| 153 | 860086-11 | 1 | SCREW | CH | |||
| 154 | 860092-00 | 2 | NUT | CH | |||
| 155 | 720959-00 | 2 | WASHER | CH | |||
| 156 | 860822-00 | 1 | BACKPLATE | CH | |||
| 157 | 941602-00 | 1 | WASHER | CH | |||
| 158 | 860093-00 | 1 | SCREW | CH | |||
| 159 | 860823-02 | 1 | YOKE | CH | |||
| 160 | 860824-00 | 1 | RING SA | CH | |||
| 161 | 860818-04 | 1 | CATCH | CH | |||
| 162 | 860085-06 | 1 | SCREW | CH | |||
| 163 | 760427-01 | 1 | CAP | CH | |||
| 164 | 860816-00 | 1 | CATCH | CH | |||
| 165 | 860073-01 | 1 | WASHER | CH | |||
| 166 | 860092-03 | 1 | NUT M5 | CH | |||
| 167 | 860074-03 | 1 | WASHER | CH | |||
| 168 | 860825-00 | 1 | CLAMP | CH | |||
| 169 | 860829-00 | 1 | POINTER | CH | |||
| 170 | 860205-06 | 2 | SCREW | CH | |||
| 171 | 860814-03 | 1 | ROLLER HEAD | CH | |||
| 172 | 863726-00 | 1 | BRACKET | CH | |||
| 173 | 860094-03 | 2 | SCREW | CH | |||
| 174 | 860820-00 | 2 | SPRING | CH | |||
| 176 | 863010-00 | 1 | PLATE | CH | |||
| 186 | 860153-00 | 1 | WRENCH | CH | |||
| 187 | 860447-00 | 1 | BUSHING | CH | |||
| 188 | 860807-00 | 1 | PLATE | CH | |||
| 189 | 860073-03 | 1 | WASHER M8 | CH | |||
| 190 | 860655-01 | 1 | NUT | CH | |||
| 191 | 860085-19 | 1 | SCREW | CH | |||
| 192 | 860318-01 | 1 | KEY | CH | |||
| 193 | 868768-07 | 1 | BEARING | CH | |||
| 194 | 860080-02 | 1 | RING | CH | |||
| 195 | 860446-00 | 4 | ROD | CH | |||
| 196 | 860443-00 | 1 | END CAP | CH | |||
| 197 | 868413-01 | 1 | STATOR SA | CH | |||
| 198 | 197302 | 1 | ROTOR 1 PH | CH | |||
| 199 | 860806-00 | 1 | RING | CH | |||
| 200 | 861721-12 | 1 | BEARING | CH | |||
| 201 | 860808-00 | 1 | HOUSING | CH | |||
| 202 | 863266-00 | 1 | INNER FLANGE | CH | |||
| 203 | 861241-00 | 1 | OUTER FLANGE | CH | |||
| 204 | 860126-01 | 1 | NUT | CH | |||
| 205 | 860098-05 | 1 | HEX KEY 8 MM | CH | |||
| 206 | 37528 | 1 | LABEL 1PH | CH | |||
| 207 | 860444-00 | 1 | FAN | CH | |||
| 208 | 860445-00 | 1 | COVER | CH | |||
| 209 | 863112-00 | 1 | CAP | CH | |||
| 218 | 944654-00 | 2 | RETAINER | CH | |||
| 223 | 862424-00 | 1 | Handle | CH | |||
| 224 | 949701-12 | 1 | SCREW | CH | |||
| 226 | 860540-00 | 2 | CONNECTOR | CH | |||
| 229 | 860089-39 | 2 | SCREW | CH | |||
| 247 | 860094-03 | 2 | SCREW | CH | |||
| 250 | 860843-02 | 1 | BRACKET | CH | |||
| 256 | 863124-16 | 1 | BUTTON STOP | CH | |||
| 257 | 863124-17 | 1 | BUTTON START | CH | |||
| 257 | 863124-17 | 1 | BUTTON START | CH | |||
| 258 | 942415-00 | 2 | COVER | CH | |||
| 270 | 946469-01 | 1 | KNOB | CH | |||
| 271 | 860075-00 | 4 | WASHER | CH | |||
| 272 | 863709-00 | 1 | SUPPORT | CH | |||
| 273 | 863703-00 | 1 | PROTECTOR | CH | |||
| 274 | 864095-00 | 1 | TUBE EXTRACTION | CH | |||
| 275 | 863708-00 | 1 | SQUARE | CH | |||
| 276 | 860073-01 | 2 | WASHER | CH | |||
| 277 | 861842-01 | 1 | KNOB | CH | |||
| 279 | 760273-00 | 3 | SCREW | CH | |||
| 280 | 863707-01 | 1 | BRACKET | CH | |||
| 281 | 760998-00 | 2 | SCREW | CH | |||
| 282 | 249412-20 | 2 | SCREW | CH | |||
| 283 | 864053-00 | 4 | WASHER | CH | |||
| 284 | 860301-00 | 3 | SCREW | CH | |||
| 285 | 864086-00 | 2 | SHIM | CH | |||
| 286 | 860074-02 | 3 | WASHER | CH | |||
| 287 | 860083-03 | 2 | NUT | CH | |||
| 288 | 862808-00 | 1 | WARNING LABEL | CH | |||
| 290 | 941518-00 | 1 | SCREW | CH | |||
| 292 | 863705-00 | 1 | BUSH | CH | |||
| 293 | 864054-00 | 2 | ROLLER | CH | |||
| 294 | 32523 | 1 | WARNING LABEL | CH | |||
| 295 | 863982-00 | 1 | WARNING LABEL | CH | |||
| 296 | 945632-90 | 1 | BRACKET | CH | |||
| 297 | 760219-00 | 1 | SCREW | CH | |||
| 299 | 863599-02 | 1 | SPACER | CH | |||
| 300 | 760483-00 | 1 | SPRING | CH | |||
| 301 | 863073-00 | 1 | CAP | CH | |||
| 302 | 863320-00 | 1 | LEVER | CH | |||
| 303 | 949891-03 | 1 | SCREW | CH | |||
| 305 | 860083-15 | 1 | NUT | CH | |||
| 307 | 860073-03 | 1 | WASHER M8 | CH | |||
| 309 | 862235-00 | 1 | GUARD | CH | |||
| 310 | 863706-01 | 1 | PROTECTOR | CH | |||
| 311 | 862417-00 | 1 | GUARD | CH | |||
| 312 | 862084-01 | 1 | LEVER | CH | |||
| 312 | 862084-01 | 1 | LEVER | CH | |||
| 313 | 863269-00 | 1 | RIVING KNIFE | CH | |||
| 314 | 862083-00 | 1 | BRACKET | CH | |||
| 315 | 863775-01 | 1 | BRACKET | CH | |||
| 316 | 863434-00 | 1 | PROTECTOR | CH | |||
| 319 | 760601-00 | 1 | SPANNER BOX | CH | |||
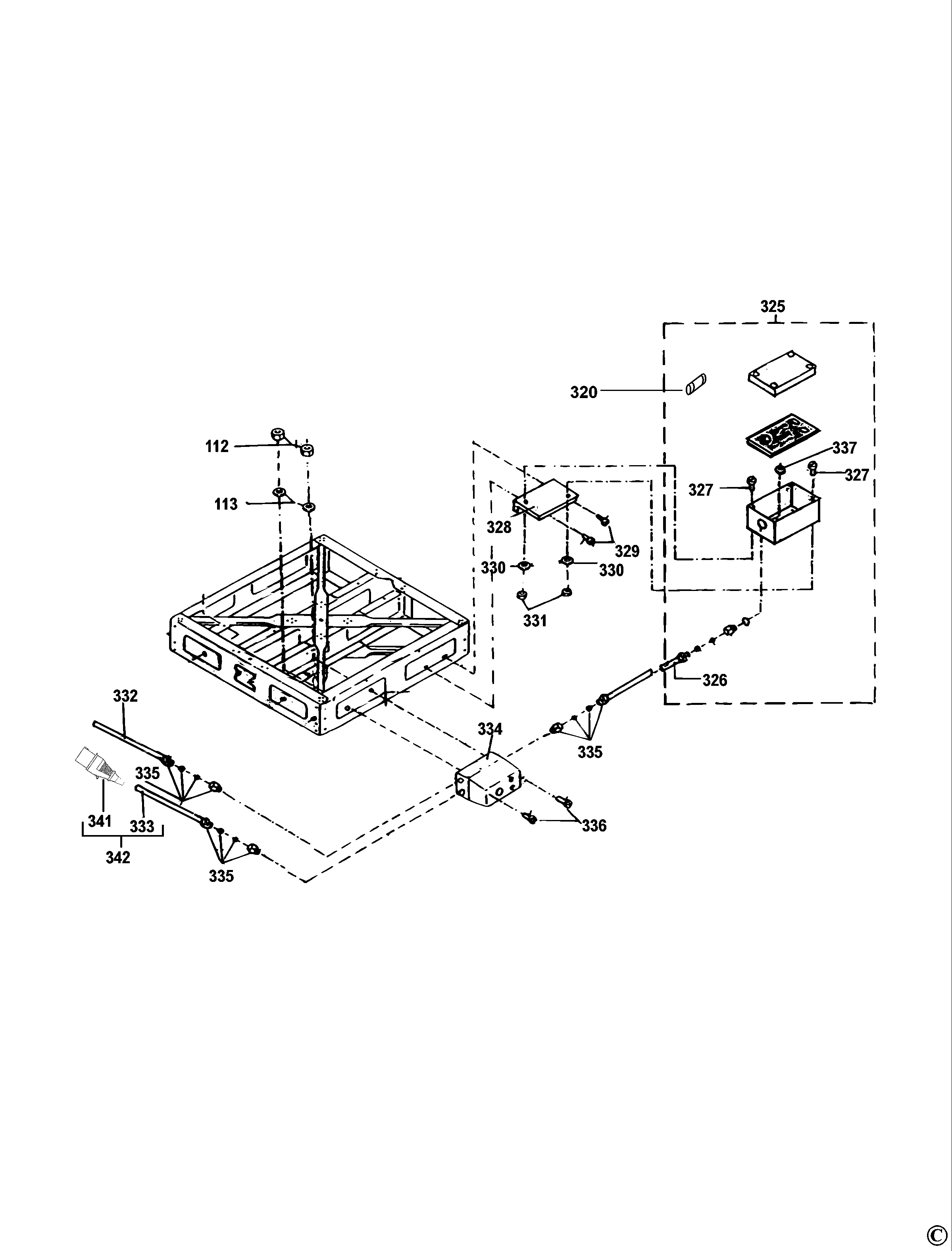
| 320 | 861296-00 | 1 | FUSE | CH | |||
| 325 | 863148-00 | 1 | BRAKE SA | CH | |||
| 326 | 145020 | 1 | CABLE SA | CH | |||
| 327 | 949888-06 | 2 | SCREW | CH | |||
| 328 | 37131 | 1 | BRACKET | CH | |||
| 329 | 860084-10 | 2 | SCREW | CH | |||
| 330 | 860083-18 | 2 | NUT M5 | CH | |||
| 331 | 761035-00 | 2 | WASHER | CH | |||
| 332 | 145021 | 1 | CABLE SA | CH | |||
| 333 | 860618-00 | 1 | CABLE | CH | |||
| 334 | 44893 | 1 | SWITCHBOX SA | CH | |||
| 335 | 11802 | 3 | INLET | CH | |||
| 336 | 860089-17 | 2 | SCREW.TEMP | CH | |||
| 337 | 44875 | 3 | NUT | CH | |||
| 341 | 860637-00 | 1 | PLUG 3 PHASE | CH | |||
| 342 | 145049 | 1 | CABLE SA | CH | |||
| 846 | 861290-00 | 1 | GUARD KIT | CH | |||
| 876 | 868407-01 | 1 | MOTOR 3 PH | CH |