DW721 RADIAL ARM SAW Type 2 | Drawings
Documents
| Item No. | Product Number | Qty Per | Product Description | General Description | Other Info | Markets | Product Status |
|---|---|---|---|---|---|---|---|
| 1 | 860792-00 | 1 | KNOB SA | GB | ![]() |
||
| 2 | 934401-00 | 1 | SCREW | GB | ![]() |
||
| 3 | 860093-06 | 2 | SCREW | GB | ![]() |
||
| 4 | 860073-06 | 1 | WASHER SPACER | GB | ![]() |
||
| 5 | 860784-00 | 1 | CAP | GB | ![]() |
||
| 6 | 860531-00 | 4 | SCREW | GB | ![]() |
||
| 7 | 860073-00 | 4 | WASHER | GB | ![]() |
||
| 8 | 860237-00 | 1 | POINTER | GB | ![]() |
||
| 9 | 860085-11 | 1 | SCREW | GB | ![]() |
||
| 10 | 863912-00 | 1 | SUPPORT | GB | ![]() |
||
| 11 | 860301-00 | 2 | SCREW | GB | ![]() |
||
| 12 | 860787-90 | 1 | SUPPORT | GB | ![]() |
||
| 13 | 860074-03 | 2 | WASHER | GB | ![]() |
||
| 14 | 860093-14 | 2 | SCREW | GB | ![]() |
||
| 15 | 946469-00 | 2 | KNOB | GB | ![]() |
||
| 16 | 720959-00 | 2 | WASHER | GB | ![]() |
||
| 17 | 863710-00 | 1 | BAR | GB | |||
| 18 | 860786-00 | 1 | STOP RUBBER | GB | ![]() |
||
| 20 | N152003 | 1 | FSO REPAIR KIT | GB | ![]() |
||
| 22 | 863272-00 | 1 | BAR | GB | ![]() |
||
| 23 | 860908-04 | 1 | ARM | GB | ![]() |
||
| 24 | 860429-00 | 1 | BUMPER | GB | ![]() |
||
| 25 | 930574-00 | 1 | HEX KEY 5 MM | GB | ![]() |
||
| 26 | 860093-05 | 2 | SCREW.TEMP | GB | ![]() |
||
| 27 | 861111-01 | 1 | CAP | GB | ![]() |
||
| 29 | 860910-02 | 1 | COLUMN SA | GB | ![]() |
||
| 30 | 860791-00 | 1 | TUBE ELEVATING SA | GB | ![]() |
||
| 31 | 860083-04 | 8 | NUT | GB | ![]() |
||
| 32 | 860073-03 | 2 | WASHER M8 | GB | ![]() |
||
| 33 | 860085-05 | 4 | SCREW | GB | ![]() |
||
| 34 | 860073-04 | 4 | WASHER | GB | ![]() |
||
| 35 | 860083-05 | 6 | NUT RH | GB | ![]() |
||
| 36 | 860085-02 | 2 | SCREW | GB | ![]() |
||
| 37 | 860909-03 | 1 | BASE SA | GB | ![]() |
||
| 38 | 860086-00 | 1 | SCREW | GB | ![]() |
||
| 39 | 860065-00 | 2 | SPACER | GB | ![]() |
||
| 40 | 860273-00 | 1 | SPACER LH | GB | ![]() |
||
| 41 | 860096-06 | 1 | PIN | GB | ![]() |
||
| 42 | 860831-90 | 1 | PINION | GB | ![]() |
||
| 43 | 860423-00 | 1 | WRENCH | GB | ![]() |
||
| 44 | 860232-00 | 2 | NUT | GB | ![]() |
||
| 45 | 860231-00 | 2 | SCREW | GB | ![]() |
||
| 46 | 864723-01 | 1 | LEVER | GB | ![]() |
||
| 47 | 860273-02 | 1 | SPACER RH | GB | ![]() |
||
| 49 | 860795-00 | 1 | LEVER | GB | ![]() |
||
| 50 | 860074-04 | 1 | WASHER | GB | ![]() |
||
| 51 | 861240-00 | 1 | LATCH | GB | ![]() |
||
| 52 | 860843-01 | 1 | CLAMP | GB | ![]() |
||
| 53 | 949853-11 | 2 | SCREW | GB | ![]() |
||
| 55 | 860226-01 | 3 | WASHER | GB | ![]() |
||
| 56 | 860802-90 | 1 | WASHER | GB | ![]() |
||
| 57 | 860301-00 | 1 | SCREW | GB | ![]() |
||
| 58 | 720959-00 | 1 | WASHER | GB | ![]() |
||
| 59 | 860858-00 | 1 | CATCH | GB | ![]() |
||
| 60 | 860083-03 | 1 | NUT | GB | ![]() |
||
| 61 | 949700-06 | 1 | CLIP | GB | ![]() |
||
| 62 | 949700-07 | 1 | STRAP | GB | ![]() |
||
| 63 | 863324-00 | 1 | PROTECTOR | GB | ![]() |
||
| 64 | 860238-03 | 2 | SCREW | GB | ![]() |
||
| 65 | 860074-01 | 2 | WASHER | GB | ![]() |
||
| 66 | 949751-01 | 1 | WRENCH | GB | ![]() |
||
| 70 | 864932-00 | 1 | GUIDE | GB | ![]() |
||
| 71 | 860521-00 | 2 | CLAMP | GB | ![]() |
||
| 72 | 860090-02 | 2 | SCREW | GB | ![]() |
||
| 73 | 860083-01 | 2 | NUT | GB | ![]() |
||
| 74 | 860520-00 | 1 | CLAMP | GB | ![]() |
||
| 76 | 860913-00 | 1 | ELEMENT | GB | ![]() |
||
| 77 | 860899-00 | 1 | GUIDE FENCE | GB | ![]() |
||
| 78 | 860073-03 | 17 | WASHER M8 | GB | ![]() |
||
| 79 | 860894-00 | 1 | ELEMENT | GB | ![]() |
||
| 81 | 860912-00 | 1 | TABLE WORK | GB | ![]() |
||
| 82 | 860895-00 | 1 | ELEMENT | GB | ![]() |
||
| 83 | 860220-00 | 1 | SUPPORT | GB | ![]() |
||
| 84 | 860083-04 | 23 | NUT | GB | ![]() |
||
| 85 | 860074-03 | 23 | WASHER | GB | ![]() |
||
| 86 | 860221-00 | 1 | BRACKET | GB | ![]() |
||
| 90 | 860216-06 | 1 | BASE SA | GB | ![]() |
||
| 91 | 860222-00 | 1 | SUPPORT LH | GB | ![]() |
||
| 92 | 860069-00 | 2 | SLIDER | GB | ![]() |
||
| 93 | 860083-03 | 2 | NUT | GB | ![]() |
||
| 94 | 860070-00 | 2 | BRACKET | GB | ![]() |
||
| 95 | 863310-00 | 2 | KNOB | GB | ![]() |
||
| 96 | 949703-01 | 17 | SCREW | GB | ![]() |
||
| 98 | 860896-00 | 1 | TABLE EXTENSION | GB | ![]() |
||
| 99 | 860085-04 | 6 | SCREW | GB | ![]() |
||
| 100 | 860010-00 | 2 | SCREW | GB | ![]() |
||
| 103 | 861238-02 | 1 | BRACKET LH | GB | ![]() |
||
| 104 | 860905-01 | 1 | BRACKET | GB | ![]() |
||
| 105 | 860781-03 | 1 | BRACKET LH | GB | ![]() |
||
| 106 | 860781-04 | 1 | BRACKET RH | GB | ![]() |
||
| 107 | 860904-01 | 1 | BRACKET RH | GB | ![]() |
||
| 108 | 860903-01 | 1 | BRACKET LH | GB | ![]() |
||
| 110 | 949863-23 | 1 | CABLE SA | GB | ![]() |
||
| 111 | 949701-03 | 2 | SCREW | GB | ![]() |
||
| 112 | 860083-02 | 2 | NUT | GB | ![]() |
||
| 113 | 860073-01 | 2 | WASHER | GB | ![]() |
||
| 114 | 861831-01 | 1 | SWITCHBOX SA | GB | ![]() |
||
| 115 | 861896-00 | 1 | CABLE | GB | |||
| 120 | 760421-00 | 2 | SHAFT | GB | ![]() |
||
| 121 | 860123-00 | 1 | PIVOT SHAFT | GB | ![]() |
||
| 122 | 860154-00 | 4 | BEARING | GB | ![]() |
||
| 123 | 760417-00 | 2 | SHAFT | GB | ![]() |
||
| 124 | 949894-06 | 2 | SCREW | GB | ![]() |
||
| 125 | 863727-00 | 1 | POINTER | GB | ![]() |
||
| 126 | 862427-00 | 1 | KNOB | GB | ![]() |
||
| 127 | 860121-00 | 1 | CLAMP | GB | ![]() |
||
| 128 | 860122-00 | 1 | SPACER | GB | ![]() |
||
| 129 | 938539-00 | 1 | KEY | GB | ![]() |
||
| 130 | 941880-00 | 2 | SCREW | GB | ![]() |
||
| 131 | 860074-03 | 6 | WASHER | GB | ![]() |
||
| 132 | 860083-08 | 4 | NUT | GB | ![]() |
||
| 133 | 860817-01 | 1 | COVER | GB | ![]() |
||
| 134 | 949882-01 | 1 | WRENCH 4 MM | GB | ![]() |
||
| 135 | 863977-00 | 1 | PIN | GB | ![]() |
||
| 136 | 860112-11 | 2 | SPRING | GB | ![]() |
||
| 137 | 860835-00 | 1 | SUPPORT | GB | ![]() |
||
| 138 | 860098-04 | 1 | WRENCH 6 MM | GB | ![]() |
||
| 140 | 860093-00 | 2 | SCREW | GB | ![]() |
||
| 141 | 860119-01 | 1 | FRONT TRUNNION | GB | ![]() |
||
| 142 | 860120-00 | 3 | PLATE | GB | ![]() |
||
| 143 | 860093-00 | 3 | SCREW | GB | ![]() |
||
| 144 | 860531-00 | 2 | SCREW | GB | ![]() |
||
| 145 | 862721-01 | 1 | POINTER | GB | ![]() |
||
| 146 | 860830-00 | 1 | PLATE | GB | ![]() |
||
| 147 | 860827-00 | 1 | SHIELD | GB | ![]() |
||
| 149 | 860796-01 | 1 | KNOB | GB | ![]() |
||
| 151 | 864057-01 | 1 | CLAMP | GB | ![]() |
||
| 152 | 860113-00 | 1 | CLAMP | GB | ![]() |
||
| 153 | 860086-11 | 1 | SCREW | GB | ![]() |
||
| 154 | 860092-00 | 2 | NUT | GB | ![]() |
||
| 155 | 720959-00 | 2 | WASHER | GB | ![]() |
||
| 156 | 864160-00 | 1 | DISC | GB | ![]() |
||
| 158 | 864058-00 | 1 | SCREW | GB | ![]() |
||
| 159 | N045684 | 1 | YOKE | GB | ![]() |
||
| 160 | 860824-00 | 1 | RING SA | GB | ![]() |
||
| 161 | 860818-01 | 1 | CATCH | GB | ![]() |
||
| 162 | 860085-06 | 1 | SCREW | GB | ![]() |
||
| 163 | 760427-00 | 1 | CAP | GB | ![]() |
||
| 164 | 860816-00 | 1 | CATCH | GB | ![]() |
||
| 165 | 860073-01 | 1 | WASHER | GB | ![]() |
||
| 166 | 860092-03 | 1 | NUT M5 | GB | ![]() |
||
| 167 | 860074-03 | 1 | WASHER | GB | ![]() |
||
| 168 | 860825-00 | 1 | CLAMP | GB | ![]() |
||
| 169 | 860829-00 | 1 | POINTER | GB | ![]() |
||
| 170 | 860205-06 | 2 | SCREW | GB | ![]() |
||
| 171 | 860814-10 | 1 | ROLLER HEAD | GB | ![]() |
||
| 172 | 863726-00 | 1 | BRACKET | GB | ![]() |
||
| 173 | 860094-03 | 2 | SCREW | GB | ![]() |
||
| 174 | 860820-00 | 2 | SPRING | GB | ![]() |
||
| 178 | 949701-12 | 1 | SCREW | GB | ![]() |
||
| 179 | 860089-39 | 2 | SCREW | GB | ![]() |
||
| 180 | 862424-00 | 1 | HANDLE | GB | ![]() |
||
| 181 | 860083-02 | 3 | NUT | GB | ![]() |
||
| 182 | 860083-12 | 2 | NUT M6 | GB | ![]() |
||
| 186 | 949751-02 | 1 | WRENCH | GB | ![]() |
||
| 189 | 860073-03 | 1 | WASHER M8 | GB | ![]() |
||
| 190 | 860143-00 | 1 | NUT WING | GB | ![]() |
||
| 192 | 860318-00 | 1 | KEY | GB | ![]() |
||
| 193 | 868768-07 | 1 | BEARING | GB | ![]() |
||
| 194 | 860080-02 | 1 | RING | GB | ![]() |
||
| 195 | 860446-01 | 4 | BOLT | GB | ![]() |
||
| 196 | 861863-00 | 1 | END CAP SA | GB | ![]() |
||
| 197 | 868401-01 | 1 | STATOR SA 230V | GB | ![]() |
||
| 198 | 868511-00 | 1 | ROTOR 1 PH | GB | ![]() |
||
| 200 | 868768-10 | 1 | BEARING | GB | ![]() |
||
| 201 | 862162-00 | 1 | HOUSING | GB | ![]() |
||
| 202 | 945842-00 | 1 | FLANGE | GB | ![]() |
||
| 203 | 945843-00 | 1 | FLANGE | GB | ![]() |
||
| 204 | 944460-00 | 1 | NUT | GB | ![]() |
||
| 205 | 860098-05 | 1 | HEX KEY 8 MM | GB | ![]() |
||
| 206 | 868390-00 | 1 | MOTOR SA 1PH | GB | ![]() |
||
| 207 | 945841-00 | 1 | FAN | GB | ![]() |
||
| 208 | 860687-04 | 1 | END CAP | GB | ![]() |
||
| 209 | 860538-00 | 4 | SCREW | GB | ![]() |
||
| 210 | 860718-00 | 2 | SEAL | GB | ![]() |
||
| 211 | 860088-25 | 1 | SCREW | GB | ![]() |
||
| 212 | 860094-01 | 2 | SCREW | GB | ![]() |
||
| 214 | 123302-01 | 1 | CAP | GB | ![]() |
||
| 215 | 863878-00 | 1 | GASKET | GB | ![]() |
||
| 216 | 864085-01 | 1 | PLATE | GB | ![]() |
||
| 219 | 863112-00 | 1 | CAP | GB | ![]() |
||
| 220 | 949727-06 | 1 | CIRCLIP | GB | ![]() |
||
| 221 | 861336-05 | 1 | BRAKE ADAPTER | GB | ![]() |
||
| 222 | 861338-05 | 1 | SPRING | GB | ![]() |
||
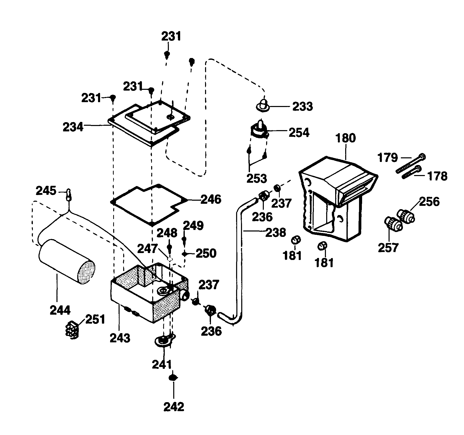
| 231 | 860094-03 | 4 | SCREW | GB | ![]() |
||
| 233 | 860133-00 | 1 | CAP | GB | ![]() |
||
| 234 | 944454-00 | 1 | COVER | GB | ![]() |
||
| 236 | 944654-00 | 2 | RETAINER | GB | ![]() |
||
| 237 | 944590-00 | 2 | NUT | GB | ![]() |
||
| 238 | 949863-44 | 1 | LEAD | GB | ![]() |
||
| 241 | 944652-00 | 1 | GROMMET | GB | ![]() |
||
| 242 | 944653-00 | 1 | GROMMET | GB | ![]() |
||
| 243 | 860702-00 | 1 | HOUSING | GB | ![]() |
||
| 244 | 944455-00 | 1 | CONDENSOR | GB | ![]() |
||
| 245 | 860540-00 | 1 | CONNECTOR | GB | ![]() |
||
| 246 | 860708-00 | 1 | GASKET | GB | ![]() |
||
| 247 | 860073-01 | 1 | WASHER | GB | ![]() |
||
| 248 | 860094-00 | 1 | SCREW.TEMP | GB | ![]() |
||
| 249 | 860094-05 | 1 | SCREW | GB | ![]() |
||
| 250 | 944650-00 | 1 | WASHER SPRING | GB | ![]() |
||
| 251 | 949784-06 | 1 | CONNECTOR | GB | ![]() |
||
| 253 | 860094-03 | 1 | SCREW | GB | ![]() |
||
| 254 | 860692-00 | 1 | KLIXON | GB | ![]() |
||
| 256 | 863124-16 | 1 | BUTTON STOP | GB | ![]() |
||
| 257 | 863124-17 | 1 | BUTTON START | GB | ![]() |
||
| 257 | 863124-17 | 1 | BUTTON START | GB | ![]() |
||
| 270 | 946469-00 | 1 | KNOB | GB | ![]() |
||
| 271 | 860075-00 | 4 | WASHER | GB | ![]() |
||
| 272 | 863709-00 | 1 | SUPPORT | GB | ![]() |
||
| 273 | 863703-00 | 1 | PROTECTOR | GB | ![]() |
||
| 274 | 864095-00 | 1 | TUBE EXTRACTION | GB | ![]() |
||
| 275 | 863708-00 | 1 | SQUARE | GB | ![]() |
||
| 276 | 860074-01 | 4 | WASHER | GB | ![]() |
||
| 277 | 861842-01 | 1 | KNOB | GB | ![]() |
||
| 278 | 861842-00 | 2 | KNOB | GB | |||
| 279 | 760273-00 | 3 | SCREW | GB | ![]() |
||
| 280 | 863707-01 | 1 | BRACKET | GB | ![]() |
||
| 281 | 760998-00 | 2 | SCREW | GB | ![]() |
||
| 282 | 249412-20 | 2 | SCREW | GB | ![]() |
||
| 283 | 864053-00 | 4 | WASHER | GB | ![]() |
||
| 284 | 860301-00 | 3 | SCREW | GB | ![]() |
||
| 285 | 864086-00 | 2 | SHIM | GB | ![]() |
||
| 287 | 860083-03 | 2 | NUT | GB | ![]() |
||
| 290 | 860094-12 | 1 | SCREW | GB | ![]() |
||
| 292 | 863705-00 | 1 | BUSH | GB | ![]() |
||
| 293 | 864054-00 | 2 | ROLLER | GB | ![]() |
||
| 296 | 864538-02 | 1 | ELEMENT | GB | |||
| 297 | 760219-00 | 1 | SCREW | GB | ![]() |
||
| 299 | 863599-02 | 1 | SPACER | GB | ![]() |
||
| 303 | 949891-03 | 1 | SCREW | GB | ![]() |
||
| 304 | 861221-00 | 2 | SPRING | GB | ![]() |
||
| 305 | 860083-15 | 1 | NUT | GB | ![]() |
||
| 306 | 861239-00 | 1 | SPRING | GB | ![]() |
||
| 307 | 860076-04 | 1 | WASHER | GB | ![]() |
||
| 309 | 862234-02 | 1 | GUARD | GB | ![]() |
||
| 310 | 863773-02 | 1 | PROTECTOR | GB | ![]() |
||
| 311 | 862426-00 | 1 | GUARD | GB | ![]() |
||
| 312 | 862082-01 | 2 | LEVER | GB | ![]() |
||
| 313 | 863271-00 | 1 | RIVING KNIFE | GB | ![]() |
||
| 314 | 862081-00 | 1 | BRACKET | GB | ![]() |
||
| 315 | 863205-02 | 1 | BRACKET | GB | ![]() |
||
| 316 | 863437-00 | 1 | BRACKET | GB | ![]() |
||
| 319 | 869235-00 | 1 | SPANNER BOX | GB | ![]() |
||
| 320 | 860073-01 | 2 | WASHER | GB | ![]() |

