DW725 SEGA A BRACCIO RADIALE Type 1 | Disegni
Documenti
Si prega di visualizzare il menu a tendina dal momento che alcuni prodotti potrebbero avere più disegni
| Item No. | Product Number | Qty Per | Product Description | INFORMAZIONI | Altre informazioni | Markets | Product Status |
|---|---|---|---|---|---|---|---|
| 1 | 860792-00 | 1 | ASS. MANOPOLA | XJ | |||
| 2 | 934401-00 | 1 | VITE | XJ | |||
| 3 | 860093-06 | 2 | VITE | XJ | |||
| 4 | 860073-06 | 1 | RONDELLA DISTANZIALE | XJ | |||
| 5 | 860784-00 | 1 | CALOTTA | XJ | |||
| 6 | 860531-00 | 4 | VITE | XJ | |||
| 7 | 860073-00 | 4 | RONDELLA | XJ | |||
| 8 | 860237-00 | 1 | INDICE | XJ | |||
| 9 | 860085-11 | 1 | VITE | XJ | |||
| 10 | 863912-00 | 1 | SUPPORTO | XJ | |||
| 11 | 860301-00 | 2 | VITE | XJ | |||
| 12 | 860787-90 | 1 | SUPPORTO | XJ | |||
| 13 | 860074-03 | 2 | RONDELLA | XJ | |||
| 14 | 860093-14 | 2 | VITE | XJ | |||
| 15 | 946469-00 | 2 | MANOPOLA | XJ | |||
| 16 | 720959-00 | 2 | RONDELLA | XJ | |||
| 17 | 863710-00 | 1 | BARRA | XJ | |||
| 18 | 860786-00 | 1 | ARRESTO DI GOMMA | XJ | |||
| 20 | N152003 | 1 | FSO REPAIR KIT | XJ | |||
| 22 | 863101-00 | 1 | BARRA | XJ | |||
| 23 | 860184-07 | 1 | BRACCIO | XJ | |||
| 24 | 860429-00 | 1 | PARACOLPI | XJ | |||
| 25 | 930574-00 | 1 | HEX KEY 5 MM | XJ | |||
| 26 | 860093-05 | 2 | SCREW.TEMP | XJ | |||
| 27 | 862067-90 | 1 | CALOTTA | XJ | |||
| 29 | 860790-00 | 1 | AS. COLONNA | XJ | |||
| 30 | 860791-00 | 1 | ASS. TUBO SOLLEVAM. | XJ | |||
| 31 | 860083-04 | 8 | DADO | XJ | |||
| 32 | 860073-03 | 2 | WASHER M8 | XJ | |||
| 33 | 860085-05 | 4 | VITE | XJ | |||
| 34 | 860073-04 | 4 | RONDELLA | XJ | |||
| 35 | 860083-05 | 6 | NUT RH | XJ | |||
| 36 | 860085-02 | 2 | VITE | XJ | |||
| 37 | 860016-04 | 1 | BASE | XJ | |||
| 38 | 860086-00 | 1 | VITE | XJ | |||
| 39 | 860065-00 | 2 | DISTANZIALE | XJ | |||
| 40 | 860273-00 | 1 | DISTANZIALE SINISTRO | XJ | |||
| 41 | 860096-06 | 1 | PERNO | XJ | |||
| 42 | 860831-90 | 1 | PIGNONE | XJ | |||
| 43 | 860423-00 | 1 | CHIAVE INGLESE | XJ | |||
| 44 | 860232-00 | 2 | DADO | XJ | |||
| 45 | 860231-00 | 2 | VITE | XJ | |||
| 46 | 864723-01 | 1 | LEVA | XJ | |||
| 47 | 860273-02 | 1 | DISTANZIALE DESTRO | XJ | |||
| 49 | 860795-00 | 1 | LEVA | XJ | |||
| 50 | 860074-04 | 1 | RONDELLA | XJ | |||
| 51 | 864672-01 | 1 | CHIAVISTELLO | XJ | |||
| 52 | 860843-01 | 1 | MORSETTO | XJ | |||
| 53 | 949853-11 | 2 | VITE | XJ | |||
| 55 | 860226-01 | 3 | RONDELLA | XJ | |||
| 56 | 860802-90 | 1 | RONDELLA | XJ | |||
| 57 | 860301-00 | 1 | VITE | XJ | |||
| 58 | 720959-00 | 1 | RONDELLA | XJ | |||
| 59 | 860858-00 | 1 | BLOCCAGGIO | XJ | |||
| 60 | 860083-03 | 1 | DADO | XJ | |||
| 61 | 949700-03 | 1 | GRAFFA | XJ | |||
| 62 | 949700-06 | 1 | GRAFFA | XJ | |||
| 63 | 863261-00 | 1 | MANICOTTO | XJ | |||
| 64 | 860238-03 | 2 | VITE | XJ | |||
| 65 | 860074-01 | 2 | RONDELLA | XJ | |||
| 66 | 949751-01 | 1 | CHIAVE INGLESE | XJ | |||
| 71 | 860521-00 | 2 | MORSETTO | XJ | |||
| 72 | 860090-02 | 2 | VITE | XJ | |||
| 73 | 860083-01 | 2 | DADO | XJ | |||
| 74 | 860520-00 | 1 | MORSETTO | XJ | |||
| 78 | 860073-03 | 17 | WASHER M8 | XJ | |||
| 83 | 860220-00 | 1 | SUPPORTO | XJ | |||
| 84 | 860083-04 | 23 | DADO | XJ | |||
| 85 | 860074-03 | 23 | RONDELLA | XJ | |||
| 86 | 860221-00 | 1 | STAFFA | XJ | |||
| 90 | 860216-06 | 1 | ASS. BASE | XJ | |||
| 91 | 860222-00 | 1 | SOSTEGNO SINISTRO | XJ | |||
| 92 | 860069-00 | 2 | CURSORE | XJ | |||
| 93 | 860083-03 | 2 | DADO | XJ | |||
| 94 | 860070-00 | 2 | STAFFA | XJ | |||
| 95 | 863310-00 | 2 | MANOPOLA | XJ | |||
| 96 | 860089-31 | 17 | VITE | XJ | |||
| 97 | 863130-04 | 1 | BRACCIO DI SOSTEGNO | XJ | |||
| 99 | 860085-04 | 6 | VITE | XJ | |||
| 100 | 860010-00 | 2 | VITE | XJ | |||
| 120 | 760421-00 | 2 | ALBERO | XJ | |||
| 121 | 860123-00 | 1 | ALBERO IMPERNIATO | XJ | |||
| 122 | 860154-00 | 4 | CUSCINETTO | XJ | |||
| 123 | 760417-00 | 2 | ALBERO | XJ | |||
| 124 | 949894-06 | 2 | VITE | XJ | |||
| 125 | 863727-00 | 1 | INDICE | XJ | |||
| 126 | 862427-00 | 1 | MANOPOLA | XJ | |||
| 127 | 860121-00 | 1 | MORSETTO | XJ | |||
| 128 | 860122-00 | 1 | DISTANZIALE | XJ | |||
| 129 | 938539-00 | 1 | CHIAVE | XJ | |||
| 130 | 941880-00 | 2 | VITE | XJ | |||
| 131 | 860074-03 | 6 | RONDELLA | XJ | |||
| 132 | 860083-08 | 4 | DADO | XJ | |||
| 133 | 860817-01 | 1 | COPERTURA | XJ | |||
| 134 | 949882-01 | 1 | WRENCH 4 MM | XJ | |||
| 135 | 863977-00 | 1 | PERNO | XJ | |||
| 136 | 860112-11 | 2 | MOLLA | XJ | |||
| 137 | 860835-00 | 1 | SUPPORTO | XJ | |||
| 138 | 860098-04 | 1 | WRENCH 6 MM | XJ | |||
| 139 | 946469-00 | 1 | MANOPOLA | XJ | |||
| 140 | 860093-00 | 2 | VITE | XJ | |||
| 141 | 860119-01 | 1 | PERNO PORTANTE ANT. | XJ | |||
| 142 | 860120-00 | 3 | PIASTRA | XJ | |||
| 143 | 860093-00 | 3 | VITE | XJ | |||
| 144 | 860531-00 | 2 | VITE | XJ | |||
| 145 | 862721-01 | 1 | INDICE | XJ | |||
| 146 | 860830-00 | 1 | PIASTRA | XJ | |||
| 147 | 860827-00 | 1 | SCHERMO | XJ | |||
| 149 | 860796-01 | 1 | MANOPOLA | XJ | |||
| 151 | 864057-01 | 1 | MORSETTO | XJ | |||
| 152 | 860113-00 | 1 | MORSETTO | XJ | |||
| 153 | 860086-11 | 1 | VITE | XJ | |||
| 154 | 860092-00 | 2 | DADO | XJ | |||
| 155 | 720959-00 | 2 | RONDELLA | XJ | |||
| 156 | 864160-00 | 1 | DISCO | XJ | |||
| 158 | 864058-00 | 1 | VITE | XJ | |||
| 159 | N045684 | 1 | GIOGO | XJ | |||
| 160 | 860824-00 | 1 | ASS. ANELLO | XJ | |||
| 161 | 860818-01 | 1 | BLOCCAGGIO | XJ | |||
| 162 | 860085-06 | 1 | VITE | XJ | |||
| 163 | 760427-00 | 1 | CALOTTA | XJ | |||
| 164 | 860816-00 | 1 | BLOCCAGGIO | XJ | |||
| 165 | 860073-01 | 1 | RONDELLA | XJ | |||
| 166 | 860092-03 | 1 | NUT M5 | XJ | |||
| 167 | 860074-03 | 1 | RONDELLA | XJ | |||
| 168 | 860825-00 | 1 | MORSETTO | XJ | |||
| 169 | 860829-00 | 1 | INDICE | XJ | |||
| 170 | 860205-06 | 2 | VITE | XJ | |||
| 171 | 860814-10 | 1 | TESTA DEL RULLO | XJ | |||
| 172 | 863726-00 | 1 | STAFFA | XJ | |||
| 173 | 860094-03 | 1 | VITE | XJ | |||
| 174 | 860820-00 | 1 | MOLLA | XJ | |||
| 178 | 949701-12 | 1 | VITE | XJ | |||
| 179 | 860089-39 | 2 | VITE | XJ | |||
| 180 | 862424-00 | 1 | HANDLE | XJ | |||
| 181 | 860083-02 | 3 | DADO | XJ | |||
| 182 | 860083-12 | 2 | NUT M6 | XJ | |||
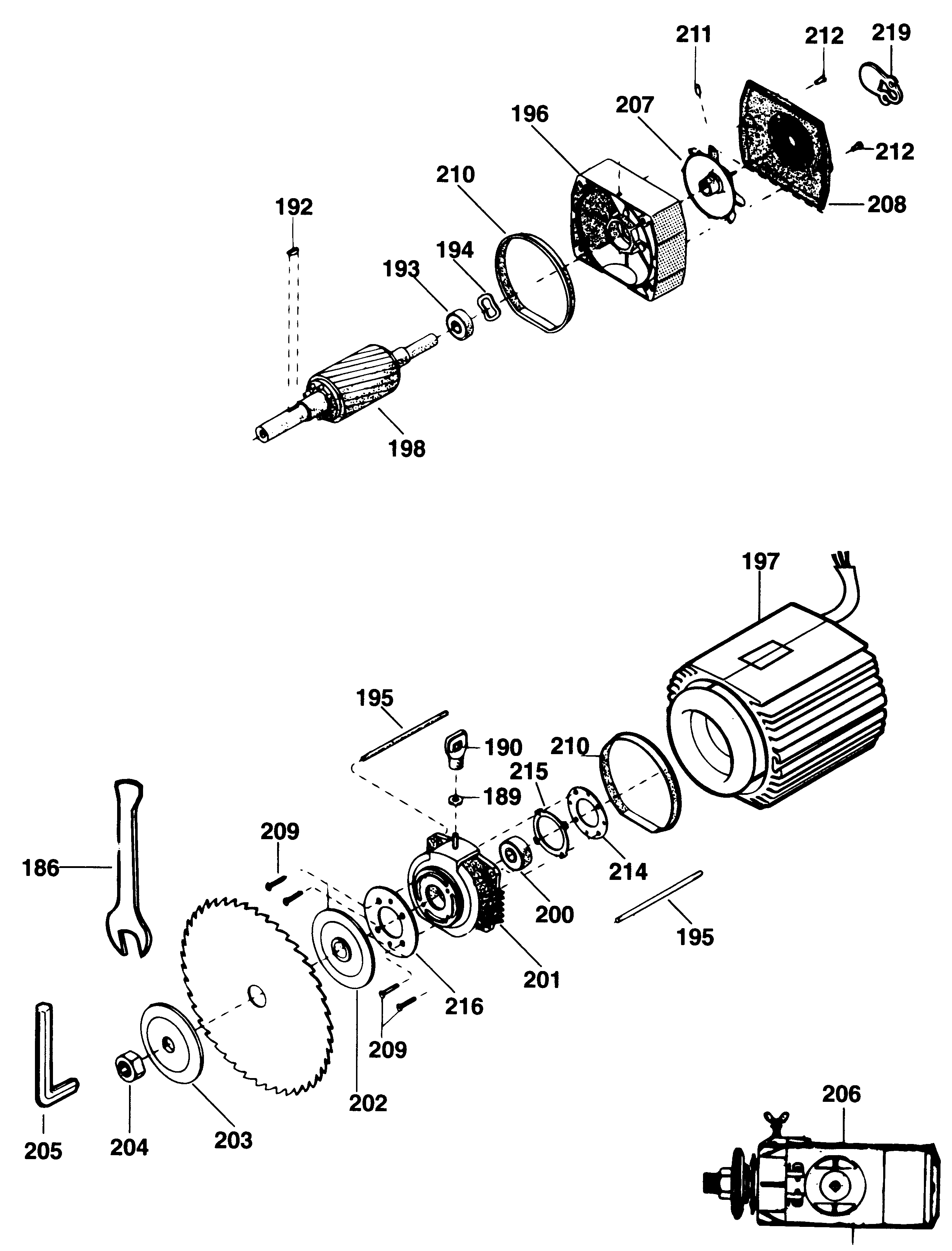
| 186 | 944463-00 | 1 | CHIAVE MULTIPLA | XJ | |||
| 189 | 860073-03 | 1 | WASHER M8 | XJ | |||
| 190 | 860143-00 | 1 | NUT WING | XJ | |||
| 192 | 860318-00 | 1 | CHIAVE | XJ | |||
| 193 | 868768-07 | 1 | CUSCINETTO | XJ | |||
| 194 | 860080-02 | 1 | ANELLO | XJ | |||
| 195 | 860446-01 | 4 | BULLONE | XJ | |||
| 196 | 860701-00 | 1 | CORPO | XJ | |||
| 198 | 864372-13 | 1 | ROTORE | XJ | |||
| 200 | 868768-10 | 1 | CUSCINETTO | XJ | |||
| 201 | 862162-00 | 1 | CORPO | XJ | |||
| 202 | 945842-00 | 1 | FLANGIA | XJ | |||
| 203 | 945843-00 | 1 | FLANGIA | XJ | |||
| 204 | 944460-00 | 1 | DADO | XJ | |||
| 205 | 860098-05 | 1 | HEX KEY 8 MM | XJ | |||
| 207 | 860688-00 | 1 | VENTOLA | XJ | |||
| 208 | 860687-03 | 1 | COPERTURA TERMINALE | XJ | |||
| 209 | 860538-00 | 4 | VITE | XJ | |||
| 210 | 860718-00 | 2 | GUARNIZIONE | XJ | |||
| 211 | 860088-25 | 1 | VITE | XJ | |||
| 212 | 860094-05 | 2 | VITE | XJ | |||
| 214 | 123302-01 | 1 | CALOTTA | XJ | |||
| 215 | 863878-00 | 1 | GUARNIZIONE | XJ | |||
| 216 | 864085-01 | 1 | PIASTRA | XJ | |||
| 219 | 863112-00 | 1 | CALOTTA | XJ | |||
| 231 | 860094-03 | 4 | VITE | XJ | |||
| 233 | 860133-00 | 1 | CALOTTA | XJ | |||
| 234 | 944454-00 | 1 | COPERTURA | XJ | |||
| 236 | 949747-07 | 2 | ANELLO PREMISTOPPA | XJ | |||
| 237 | 944590-00 | 2 | DADO | XJ | |||
| 238 | 861265-00 | 1 | CAVO | XJ | |||
| 241 | 944652-00 | 1 | ANELLO DI TENUTA | XJ | |||
| 242 | 944653-00 | 1 | ANELLO DI TENUTA | XJ | |||
| 243 | 860702-00 | 1 | CORPO | XJ | |||
| 244 | 944455-00 | 1 | CONDENSATORE | XJ | |||
| 245 | 860540-00 | 1 | CONNETTORE | XJ | |||
| 246 | 860708-00 | 1 | GUARNIZIONE | XJ | |||
| 247 | 860073-01 | 1 | RONDELLA | XJ | |||
| 248 | 860094-00 | 1 | SCREW.TEMP | XJ | |||
| 249 | 860094-05 | 1 | VITE | XJ | |||
| 250 | 944650-00 | 1 | RONDELLA ELASTICA | XJ | |||
| 253 | 860094-03 | 1 | VITE | XJ | |||
| 254 | 860692-00 | 1 | KLIXON | XJ | |||
| 270 | 946469-00 | 1 | MANOPOLA | XJ | |||
| 271 | 860075-00 | 4 | RONDELLA | XJ | |||
| 272 | 863709-00 | 1 | SUPPORTO | XJ | |||
| 273 | 863703-00 | 1 | MANICOTTO | XJ | |||
| 274 | 864095-00 | 1 | TUBO ESTRAZIONE | XJ | |||
| 275 | 863708-00 | 1 | SQUADRA | XJ | |||
| 276 | 860074-01 | 4 | RONDELLA | XJ | |||
| 277 | 861842-01 | 1 | MANOPOLA | XJ | |||
| 278 | 861842-00 | 2 | MANOPOLA | XJ | |||
| 279 | 760273-00 | 3 | VITE | XJ | |||
| 280 | 863707-01 | 1 | STAFFA | XJ | |||
| 281 | 760998-00 | 2 | VITE | XJ | |||
| 282 | 249412-20 | 2 | VITE | XJ | |||
| 283 | 864053-00 | 4 | RONDELLA | XJ | |||
| 284 | 860301-00 | 3 | VITE | XJ | |||
| 285 | 864086-00 | 2 | SPESSORE | XJ | |||
| 287 | 860083-03 | 2 | DADO | XJ | |||
| 290 | 860094-12 | 1 | VITE | XJ | |||
| 292 | 863705-00 | 1 | GUAINA ISOLANTE | XJ | |||
| 293 | 864054-00 | 2 | RULLO | XJ | |||
| 296 | 864538-02 | 1 | RESISTENZA | XJ | |||
| 297 | 760219-00 | 1 | VITE | XJ | |||
| 299 | 863599-02 | 1 | DISTANZIALE | XJ | |||
| 300 | 760483-00 | 1 | MOLLA | XJ | |||
| 301 | 863073-00 | 1 | CALOTTA | XJ | |||
| 302 | 863320-00 | 1 | LEVA | XJ | |||
| 303 | 949891-03 | 1 | VITE | XJ | |||
| 305 | 860083-15 | 1 | DADO | XJ | |||
| 307 | 860076-04 | 1 | RONDELLA | XJ | |||
| 309 | 862234-02 | 1 | PROTEZIONE | XJ | |||
| 310 | 863773-02 | 1 | MANICOTTO | XJ | |||
| 311 | 862426-00 | 1 | PROTEZIONE | XJ | |||
| 312 | 862082-01 | 2 | LEVA | XJ | |||
| 314 | 862081-00 | 1 | STAFFA | XJ | |||
| 315 | 863205-02 | 1 | STAFFA | XJ | |||
| 316 | 863437-00 | 1 | STAFFA | XJ | |||
| 319 | 869235-00 | 1 | CHIAVE A STELLA | XJ | |||
| 320 | 860073-01 | 2 | RONDELLA | XJ | |||
| 401 | 860009-09 | 4 | CROSSBAR LONG | XJ | |||
| 402 | 860008-00 | 4 | GAMBA | XJ | |||
| 403 | 860083-04 | 24 | DADO | XJ | |||
| 404 | 860073-03 | 48 | WASHER M8 | XJ | |||
| 405 | 860085-04 | 24 | VITE | XJ | |||
| 846 | 869322-01 | 1 | GUARD 12" | XJ |