RAS1603---G SEGA A BRACCIO RADIALE Type 1 | Disegni
Documenti
Si prega di visualizzare il menu a tendina dal momento che alcuni prodotti potrebbero avere più disegni
| Item No. | Product Number | Qty Per | Product Description | INFORMAZIONI | Altre informazioni | Markets | Product Status |
|---|---|---|---|---|---|---|---|
| 1 | 37537 | 1 | TARGHETTA | CH | |||
| 3 | 860098-04 | 1 | WRENCH 6 MM | CH | |||
| 4 | 860098-05 | 1 | HEX KEY 8 MM | CH | |||
| 5 | 860093-14 | 2 | VITE | CH | |||
| 6 | 860093-02 | 3 | VITE | CH | |||
| 7 | 860088-07 | 2 | VITE | CH | |||
| 8 | 949702-05 | 5 | VITE | CH | |||
| 9 | 949702-09 | 1 | BULLONE | CH | |||
| 10 | 860083-06 | 5 | DADO | CH | |||
| 11 | 860073-05 | 3 | RONDELLA | CH | |||
| 12 | 860074-03 | 2 | RONDELLA | CH | |||
| 13 | 860074-05 | 4 | RONDELLA | CH | |||
| 14 | 949700-06 | 1 | GRAFFA | CH | |||
| 15 | 33109 | 1 | CAVO | CH | |||
| 16 | 863900-00 | 2 | VITE | CH | |||
| 17 | 863901-00 | 1 | MANICOTTO | CH | |||
| 18 | 863909-00 | 2 | INSERTO | CH | |||
| 19 | 864055-00 | 2 | PIASTRA | CH | |||
| 20 | 864056-00 | 1 | DISTANZA | CH | |||
| 21 | 862069-00 | 2 | HANDLE | CH | |||
| 22 | 862047-00 | 1 | DADO | CH | |||
| 23 | 862237-01 | 1 | COLONNA | CH | |||
| 24 | 862241-00 | 1 | CHIAVISTELLO | CH | |||
| 26 | 861289-00 | 1 | BRACCIO | CH | |||
| 27 | 720959-00 | 2 | RONDELLA | CH | |||
| 28 | 860301-00 | 2 | VITE | CH | |||
| 29 | 946469-01 | 2 | MANOPOLA | CH | |||
| 30 | 863724-00 | 1 | STAFFA | GB 3 Ph | CH | ||
| 30 | 863724-00 | 1 | STAFFA | ES 3 Ph | CH | ||
| 30 | 863724-00 | 1 | STAFFA | GB 3 Ph | CH | ||
| 30 | 863724-00 | 1 | STAFFA | ES 3 Ph | CH | ||
| 30 | 863724-00 | 1 | STAFFA | CH | |||
| 31 | 863710-00 | 1 | BARRA | GB 3 Ph | CH | ||
| 31 | 863710-00 | 1 | BARRA | ES 3 Ph | CH | ||
| 31 | 864080-00 | 1 | BARRA | CH | |||
| 32 | 33519 | 1 | PUNTA | CH | |||
| 32 | 860786-00 | 1 | ARRESTO DI GOMMA | GB 3 Ph | CH | ||
| 32 | 860786-00 | 1 | ARRESTO DI GOMMA | ES 3 Ph | CH | ||
| 33 | 330036-08 | 1 | PERNO | CH | |||
| 34 | 949755-03 | 2 | CUSCINETTO | CH | |||
| 35 | 863928-00 | 1 | RONDELLA | CH | |||
| 36 | 863930-00 | 2 | DADO | CH | |||
| 37 | 862015-00 | 1 | CALOTTA | CH | |||
| 38 | 865647-00 | 1 | VITE | CH | |||
| 39 | 860079-02 | 1 | ANELLO D'ARRESTO | CH | |||
| 40 | 860018-00 | 1 | MANOPOLA | CH | |||
| 41 | 864655-01 | 1 | ASS. IMPUGNATURA | CH | |||
| 42 | 860093-21 | 2 | VITE | CH | |||
| 43 | 860429-00 | 1 | PARACOLPI | CH | |||
| 44 | 862044-00 | 1 | CALOTTA | CH | |||
| 45 | 860238-00 | 1 | VITE | CH | |||
| 46 | 863912-00 | 1 | SUPPORTO | CH | |||
| 47 | 860238-04 | 3 | VITE | CH | |||
| 48 | 860238-00 | 1 | VITE | CH | |||
| 49 | 860073-00 | 3 | RONDELLA | CH | |||
| 50 | 860074-01 | 2 | RONDELLA | CH | |||
| 51 | 949700-05 | 1 | MORSETTO | CH | |||
| 52 | 860237-00 | 1 | INDICE | CH | |||
| 53 | 863922-01 | 1 | SCALA | CH | |||
| 54 | 33115 | 2 | ENTRATA | CH | |||
| 55 | 865856-00 | 2 | SPINA | CH | |||
| 56 | 860093-05 | 1 | SCREW.TEMP | CH | |||
| 57 | 860085-20 | 1 | VITE | CH | |||
| 58 | 860083-04 | 1 | DADO | CH | |||
| 59 | 860083-18 | 2 | NUT M5 | CH | |||
| 61 | 867190-01 | 1 | DISTANZIALE | CH | |||
| 63 | 864101-00 | 1 | DISPOSITIVO DI FERMO | CH | |||
| 64 | 864565-01 | 1 | ARRESTO | GB 3 Ph | CH | ||
| 64 | 864565-01 | 1 | ARRESTO | ES 3 Ph | CH | ||
| 64 | 864566-01 | 1 | ARRESTO | CH | |||
| 65 | 864655-01 | 1 | ASS. IMPUGNATURA | CH | |||
| 66 | 864462-03 | 1 | S/G ELEVATORE | CH | |||
| 70 | 000000-00 | 1 | NON PIU' FORNIBILE | CH | |||
| 101 | 37529 | 1 | ETICHETTA | CH | |||
| 102 | 863866-05 | 4 | GAMBA | CH | |||
| 103 | 942831-00 | 12 | VITE | CH | |||
| 104 | 860083-05 | 12 | NUT RH | CH | |||
| 105 | 860074-04 | 21 | RONDELLA | CH | |||
| 106 | 949882-01 | 1 | WRENCH 4 MM | CH | |||
| 107 | 949752-01 | 1 | CHIAVE | CH | |||
| 108 | 949726-07 | 9 | DADO | CH | |||
| 109 | 860073-03 | 12 | WASHER M8 | CH | |||
| 110 | 863880-00 | 9 | PRIGIONIERO | CH | |||
| 111 | 863882-00 | 2 | DISTANZIALE | CH | |||
| 112 | 866974-02 | 2 | MANOPOLA | CH | |||
| 113 | 132433 | 1 | STAFFA | CH | |||
| 114 | 132434 | 1 | STAFFA | CH | |||
| 115 | 132435 | 1 | STAFFA | CH | |||
| 116 | 133032 | 1 | ASS. BASE | CH | |||
| 117 | 860089-16 | 12 | VITE | CH | |||
| 118 | 860089-18 | 2 | VITE | CH | |||
| 119 | 864877-00 | 1 | PANNELLO | GB 3 Ph | CH | ||
| 119 | 864877-00 | 1 | PANNELLO | ES 3 Ph | CH | ||
| 119 | 55031 | 1 | PANNELLO | CH | |||
| 120 | 864871-00 | 1 | GUIDA | CH | |||
| 121 | 55300 | 1 | PANNELLO | CH | |||
| 122 | 946111-00 | 2 | ENTRATA | GB 3 Ph | CH | ||
| 122 | 946111-00 | 2 | ENTRATA | ES 3 Ph | CH | ||
| 122 | 946111-00 | 3 | ENTRATA | CH | |||
| 123 | 44780 | 1 | INTERRUTTORE | ES 3 Ph | CH | ||
| 123 | 44779 | 1 | INTERRUTTORE | GB 3 Ph | CH | ||
| 124 | 949863-83 | 1 | CAVO | GB 3 Ph | CH | ||
| 124 | 949863-83 | 1 | CAVO | ES 3 Ph | CH | ||
| 124 | 144055 | 1 | CAVO | CH | |||
| 125 | 144325 | 1 | CAVO | GB 3 Ph | CH | ||
| 125 | 144325 | 1 | CAVO | CH | |||
| 125 | 144029 | 1 | CAVO | ES 3 Ph | CH | ||
| 126 | 860083-02 | 2 | DADO | CH | |||
| 127 | 946112-00 | 2 | PARACOLPI | CH | |||
| 128 | 949888-06 | 2 | VITE | CH | |||
| 129 | 860083-18 | 2 | NUT M5 | CH | |||
| 130 | 761035-00 | 2 | RONDELLA | CH | |||
| 131 | 860084-10 | 2 | VITE | CH | |||
| 132 | 37131 | 1 | STAFFA | CH | |||
| 133 | 860637-00 | 1 | SPINA 3 PHASE | CH | |||
| 134 | 863213-00 | 1 | FRENO | CH | |||
| 135 | 861252-02 | 1 | STAFFA | CH | |||
| 139 | 860074-01 | 2 | RONDELLA | CH | |||
| 140 | 861296-00 | 1 | FUSIBILE | CH | |||
| 151 | 199990 | 1 | ASS. INTERRUTTORE | GB 3 Ph | CH | ||
| 151 | 196807 | 1 | ASS. INTERRUTTORE | CH | |||
| 151 | 199684 | 1 | ASS. INTERRUTTORE | ES 3 Ph | CH | ||
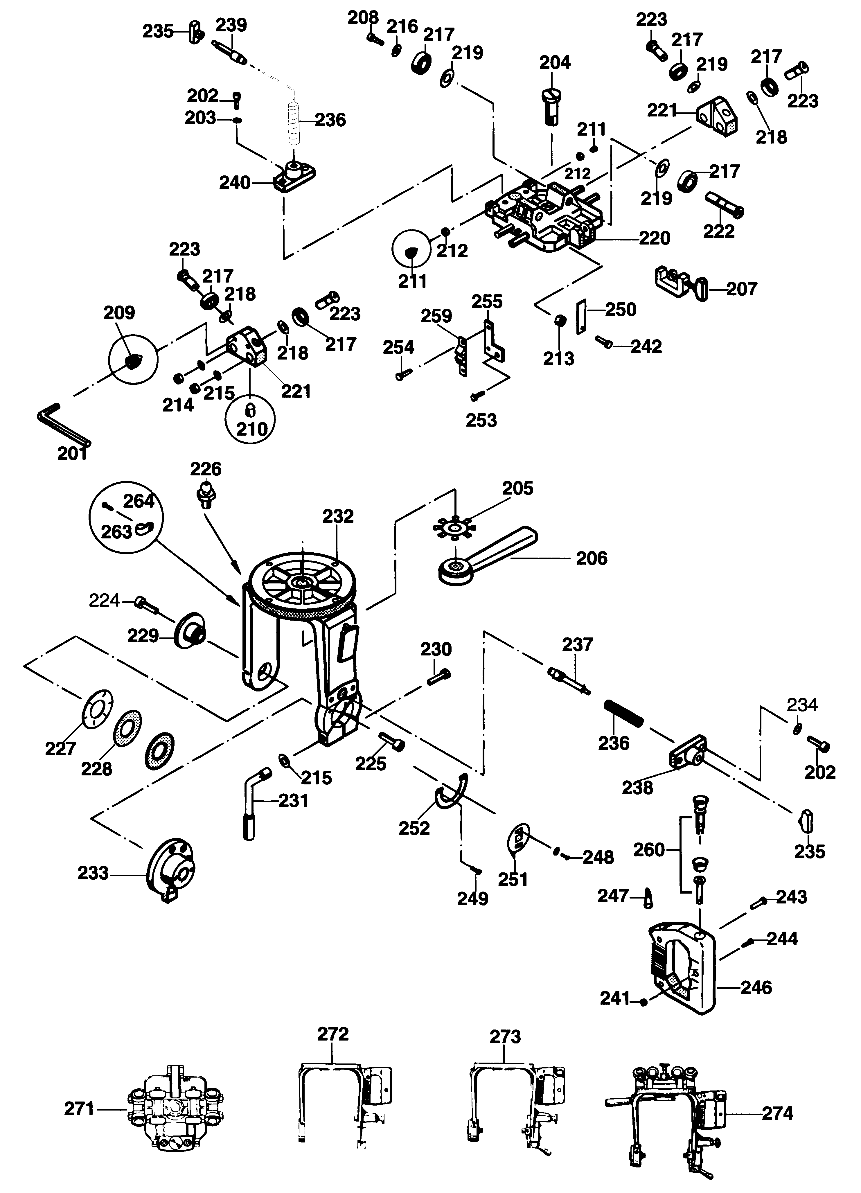
| 200 | 864878-00 | 1 | PANNELLO | CH | |||
| 201 | 938539-00 | 1 | CHIAVE | CH | |||
| 202 | 860093-02 | 4 | VITE | CH | |||
| 203 | 860074-03 | 2 | RONDELLA | CH | |||
| 204 | 863951-00 | 1 | VITE | CH | |||
| 205 | 863953-00 | 1 | ANELLO DI BLOCCO | CH | |||
| 206 | 862070-00 | 1 | LEVA | CH | |||
| 207 | 864575-01 | 1 | DISPOSITIVO DI FERMO | CH | |||
| 208 | 760219-00 | 2 | VITE | CH | |||
| 209 | 860088-27 | 4 | VITE | CH | |||
| 210 | 949853-03 | 4 | VITE | CH | |||
| 211 | 860088-10 | 2 | PERNO | CH | |||
| 212 | 860083-03 | 2 | DADO | CH | |||
| 213 | 860083-01 | 1 | DADO | CH | |||
| 214 | 860083-05 | 4 | NUT RH | CH | |||
| 215 | 860074-04 | 5 | RONDELLA | CH | |||
| 216 | 860073-14 | 2 | RONDELLA | CH | |||
| 217 | 861721-07 | 8 | CUSCINETTO | CH | |||
| 218 | 863971-00 | 4 | RONDELLA | CH | |||
| 219 | 860226-02 | 4 | RONDELLA | CH | |||
| 220 | 176385 | 1 | TESTA DEL RULLO | CH | |||
| 221 | 862259-90 | 2 | STAFFA | CH | |||
| 222 | 862380-00 | 2 | ALBERO | CH | |||
| 223 | 863969-00 | 4 | ALBERO | CH | |||
| 224 | 949886-06 | 1 | VITE | CH | |||
| 225 | 949886-07 | 1 | VITE | CH | |||
| 226 | 860650-01 | 1 | NIPPLO | CH | |||
| 227 | 863989-00 | 1 | RONDELLA | CH | |||
| 228 | 863991-00 | 1 | RONDELLA | CH | |||
| 229 | 862261-90 | 1 | PERNO PORTANTE | CH | |||
| 230 | 949702-04 | 1 | VITE | CH | |||
| 231 | 863978-00 | 1 | HANDLE | CH | |||
| 232 | 862194-03 | 1 | FORCELLA | CH | |||
| 233 | 862260-90 | 1 | PERNO PORTANTE | CH | |||
| 234 | 860073-03 | 2 | WASHER M8 | CH | |||
| 235 | 946469-01 | 2 | MANOPOLA | CH | |||
| 236 | 860112-11 | 2 | MOLLA | CH | |||
| 237 | 863977-00 | 1 | PERNO | CH | |||
| 238 | 860835-01 | 1 | SUPPORTO | CH | |||
| 239 | 863961-00 | 1 | PERNO | CH | |||
| 240 | 860835-00 | 1 | SUPPORTO | CH | |||
| 241 | 860083-02 | 3 | DADO | CH | |||
| 242 | 860094-03 | 1 | VITE | CH | |||
| 243 | 860089-39 | 2 | VITE | CH | |||
| 244 | 860089-17 | 1 | SCREW.TEMP | CH | |||
| 246 | 866680-02 | 1 | HANDLE | CH | |||
| 247 | 860540-00 | 4 | CONNETTORE | CH | |||
| 248 | 860238-04 | 2 | VITE | CH | |||
| 249 | 860205-06 | 2 | VITE | CH | |||
| 250 | 863964-00 | 1 | INDICE | CH | |||
| 251 | 862721-01 | 1 | INDICE | CH | |||
| 252 | 860829-00 | 1 | INDICE | CH | |||
| 253 | 860538-04 | 1 | VITE | CH | |||
| 254 | 860238-00 | 2 | VITE | CH | |||
| 255 | 861016-00 | 1 | PIASTRA | CH | |||
| 259 | 864839-00 | 1 | BLOCCAGGIO | CH | |||
| 260 | 867077-00 | 1 | INTERRUTTORE | CH | |||
| 263 | 860843-02 | 1 | STAFFA | CH | |||
| 264 | 860094-03 | 1 | VITE | CH | |||
| 271 | 861672-00 | 1 | ASS. TESTA RULLO | CH | |||
| 272 | 196379 | 1 | GIOGO | CH | |||
| 273 | 196375 | 1 | YOKE SA | CH | |||
| 274 | 196373 | 1 | YOKE SA | CH | |||
| 301 | 860060-01 | 2 | RIBATTINO | CH | |||
| 303 | 860088-10 | 2 | PERNO | CH | |||
| 304 | 860083-03 | 2 | DADO | CH | |||
| 305 | 941880-00 | 1 | VITE | CH | |||
| 306 | 949889-02 | 4 | VITE | CH | |||
| 307 | 868768-07 | 1 | CUSCINETTO | CH | |||
| 308 | 868768-11 | 1 | CUSCINETTO | CH | |||
| 309 | 862003-00 | 1 | FLANGIA | CH | |||
| 310 | 862127-00 | 1 | CORPO | CH | |||
| 311 | 864390-07 | 1 | STATOR 380V | GB 3 Ph | CH | ||
| 311 | 198192 | 1 | STATOR 3 PH | ES 3 Ph | CH | ||
| 311 | 198192 | 1 | STATOR 3 PH | CH | |||
| 312 | 199409 | 1 | ROTORE | CH | |||
| 313 | 860088-27 | 1 | VITE | CH | |||
| 314 | 860080-02 | 1 | ANELLO | CH | |||
| 315 | 863410-01 | 1 | GUARNIZIONE | CH | |||
| 316 | 949870-04 | 7 | VITE | CH | |||
| 317 | 863503-00 | 1 | ETICHETTA | CH | |||
| 318 | 944653-00 | 1 | ANELLO DI TENUTA | CH | |||
| 319 | 76299 | 1 | CORPO | CH | |||
| 320 | 862165-00 | 1 | COPERTURA | CH | |||
| 321 | 862126-00 | 1 | VENTOLA | CH | |||
| 322 | 862217-92 | 1 | CORPO | CH | |||
| 323 | 860094-03 | 6 | VITE | CH | |||
| 324 | 860094-01 | 1 | VITE | CH | |||
| 325 | 949747-18 | 1 | CALOTTA | GB 3 Ph | CH | ||
| 325 | 949747-18 | 1 | CALOTTA | ES 3 Ph | CH | ||
| 326 | 944654-00 | 1 | ANELLO DI TENUTA | CH | |||
| 327 | 944590-00 | 2 | DADO | GB 3 Ph | CH | ||
| 327 | 944590-00 | 2 | DADO | ES 3 Ph | CH | ||
| 328 | 33302 | 1 | COLLARE | CH | |||
| 329 | 944650-00 | 1 | RONDELLA ELASTICA | CH | |||
| 330 | 944455-01 | 1 | CONDENSATORE | GB 3 Ph | CH | ||
| 330 | 944455-01 | 1 | CONDENSATORE | ES 3 Ph | CH | ||
| 332 | 863716-00 | 1 | GUARNIZIONE | CH | |||
| 333 | 860133-00 | 1 | CALOTTA | GB 3 Ph | CH | ||
| 333 | 860133-00 | 1 | CALOTTA | ES 3 Ph | CH | ||
| 334 | 860692-03 | 1 | MANICOTTO | GB 3 Ph | CH | ||
| 334 | 860692-03 | 1 | MANICOTTO | ES 3 Ph | CH | ||
| 335 | 862219-00 | 1 | COPERTURA | CH | |||
| 336 | 860074-04 | 1 | RONDELLA | CH | |||
| 337 | 949758-02 | 1 | DADO | CH | |||
| 338 | 860318-00 | 1 | CHIAVE | CH | |||
| 339 | 863526-00 | 1 | DADO | CH | |||
| 340 | 864007-00 | 1 | COLLARE | CH | |||
| 341 | 863877-00 | 1 | ANELLO | CH | |||
| 342 | 949747-07 | 1 | ANELLO PREMISTOPPA | CH | |||
| 343 | 11728 | 1 | MORSETTO | CH | |||
| 343 | 123106-00 | 1 | NASTRO | GB 3 Ph | CH | ||
| 343 | 123106-00 | 1 | NASTRO | ES 3 Ph | CH | ||
| 344 | 860843-02 | 1 | STAFFA | CH | |||
| 344 | 860642-00 | 1 | GRAFFA | GB 3 Ph | CH | ||
| 344 | 860642-00 | 1 | GRAFFA | ES 3 Ph | CH | ||
| 345 | 946085-00 | 1 | CONNETTORE | CH | |||
| 346 | 000000-00 | 1 | NON PIU' FORNIBILE | CH | |||
| 347 | 949747-20 | 1 | CALOTTA | CH | |||
| 348 | 949882-02 | 1 | CHIAVE INGLESE | CH | |||
| 349 | 949751-04 | 1 | CHIAVE | CH | |||
| 351 | 144031 | 1 | CAVO | CH | |||
| 362 | 868486-00 | 1 | MOTOR SA 220/380 | 3 PHASE 220/380V | CH | ||
| 362 | 199362 | 1 | MOTOR SA 240/415 | 3 PHASE 240/415V | CH | ||
| 363 | 196259 | 1 | ASS. TESTA | 3 PHASE 240/415V | CH | ||
| 363 | 196372 | 1 | ASS. TESTA | 3 PHASE 220/380V | CH | ||
| 401 | 864095-00 | 1 | TUBO ESTRAZIONE | CH | |||
| 402 | 760219-00 | 1 | VITE | CH | |||
| 403 | 860083-04 | 2 | DADO | CH | |||
| 404 | 249412-20 | 1 | VITE | CH | |||
| 405 | 949888-06 | 1 | VITE | CH | |||
| 406 | 860074-01 | 4 | RONDELLA | CH | |||
| 407 | 860074-02 | 1 | RONDELLA | CH | |||
| 408 | 860074-03 | 2 | RONDELLA | CH | |||
| 409 | 861842-01 | 1 | MANOPOLA | CH | |||
| 411 | 760273-00 | 3 | VITE | CH | |||
| 412 | 760998-00 | 2 | VITE | CH | |||
| 413 | 941518-00 | 1 | VITE | CH | |||
| 414 | 946469-01 | 1 | MANOPOLA | CH | |||
| 415 | 863703-00 | 1 | MANICOTTO | CH | |||
| 416 | 863705-00 | 1 | GUAINA ISOLANTE | CH | |||
| 417 | 863707-01 | 1 | STAFFA | CH | |||
| 418 | 863708-00 | 1 | SQUADRA | CH | |||
| 419 | 863709-00 | 1 | SUPPORTO | CH | |||
| 420 | 32538 | 1 | MANICOTTO | CH | |||
| 421 | 32539 | 1 | MOLLA | CH | |||
| 422 | 945632-90 | 1 | STAFFA | CH | |||
| 422 | 864538-02 | 1 | RESISTENZA | GB 3 Ph | CH | ||
| 422 | 864538-02 | 1 | RESISTENZA | ES 3 Ph | CH | ||
| 423 | 863687-00 | 1 | KNIFE | CH | |||
| 424 | 864037-00 | 2 | PIASTRA | CH | |||
| 425 | 949892-02 | 2 | VITE | CH | |||
| 426 | 864053-00 | 4 | RONDELLA | CH | |||
| 427 | 864054-00 | 2 | RULLO | CH | |||
| 428 | 860075-00 | 4 | RONDELLA | CH | |||
| 429 | 33962 | 1 | SQUADRA | CH | |||
| 430 | N036977 | 1 | PROTEZIONE | CH | |||
| 431 | 862087-90 | 1 | STAFFA | CH | |||
| 432 | 869325-00 | 1 | SC PROTEZIONE INF. | CH | |||
| 433 | 863621-00 | 1 | PROTEZIONE | CH | |||
| 434 | 863620-00 | 1 | STAFFA | CH | |||
| 435 | 861840-00 | 1 | HANDLE | CH | |||
| 436 | 860301-16 | 1 | VITE | CH | |||
| 437 | 941602-00 | 1 | RONDELLA | CH | |||
| 438 | 860301-00 | 1 | VITE | CH | |||
| 439 | 930574-00 | 1 | HEX KEY 5 MM | CH | |||
| 440 | 869235-00 | 1 | CHIAVE A STELLA | CH | |||
| 441 | 863982-00 | 1 | ETICHETTA DI AVVISO | CH | |||
| 442 | 32523 | 1 | ETICHETTA DI AVVISO | CH | |||
| 443 | 862808-00 | 1 | ETICHETTA DI AVVISO | CH | |||
| 444 | 862089-01 | 2 | LEVA | CH | |||
| 846 | 869322-02 | 1 | ASS. PROTEZIONE | CH |