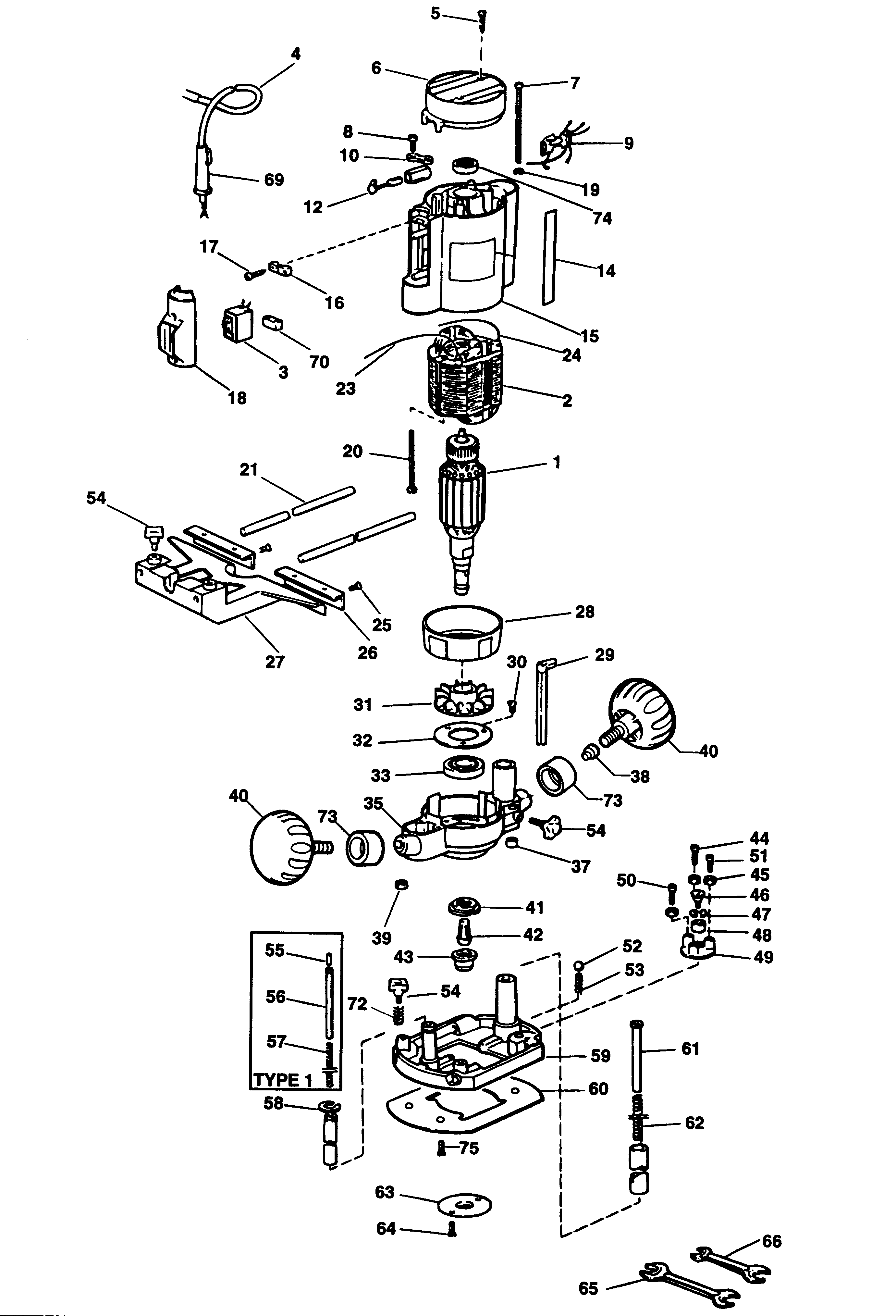
SR100 PLUNGE ROUTER Type 1 | Disegni
Documenti
Si prega di visualizzare il menu a tendina dal momento che alcuni prodotti potrebbero avere più disegni
 
        
                                        | Item No. | Product Number | Qty Per | Product Description | INFORMAZIONI | Altre informazioni | Markets | Product Status | 
|---|---|---|---|---|---|---|---|
| 1 | 868389-00 | 1 | ARMATURE 230V | QS | |||
| 2 | 868107-00 | 1 | STATORE | QS | |||
| 3 | N566709 | 1 | INTERRUTTORE | QS | |||
| 4 | 179101901 | 1 | CAVO | M | QS | ||
| 4 | 179101904 | 1 | CAVO | M | QS | ||
| 4 | 179101902 | 1 | CAVO | M | QS | ||
| 4 | 868536-00 | 1 | ASS. CAVO | QS | |||
| 4 | 179101903 | 1 | CAVO | M | QS | ||
| 5 | 949896-12 | 2 | VITE | QS | |||
| 6 | 179120201 | 1 | COPERTURA | QS | |||
| 7 | 179910344 | 4 | VITE | QS | |||
| 8 | 949896-12 | 4 | VITE | QS | |||
| 10 | 868069-00 | 2 | MORSETTO | QS | |||
| 12 | 247533-11 | 2 | BRUSH & HOLDER 230V | QS | |||
| 14 | 248963-01 | 1 | SCALA | TYPE 2 | QS | ||
| 14 | 249278-00 | 1 | SCALA | TYPE 1 | QS | ||
| 15 | 179120100 | 1 | CORPO | TYPE 1 | QS | ||
| 15 | 248966-00 | 1 | CORPO | TYPE 2 | QS | ||
| 16 | 141162700 | 1 | SERRAFILO | QS | |||
| 17 | 249416-06 | 2 | VITE | QS | |||
| 18 | 179120202 | 1 | COPERTURA | QS | |||
| 19 | 093820600 | 4 | RONDELLA DENTATA | QS | |||
| 20 | 249416-11 | 2 | VITE | QS | |||
| 21 | 868080-00 | 2 | ASTA | QS | |||
| 23 | 179164503 | 1 | LEAD 160MM BLUE | QS | |||
| 25 | 248084-10 | 4 | VITE | QS | |||
| 26 | 249090-00 | 2 | GUIDA | QS | |||
| 27 | 948651-00 | 1 | ASS. GUIDA | QS | |||
| 28 | 179120600 | 1 | BAFFLE FAN | QS | |||
| 29 | 868523-01 | 1 | ARRESTO PROFONDITA' | QS | |||
| 30 | 249417-00 | 3 | VITE | QS | |||
| 31 | 943054-00 | 1 | VENTOLA | QS | |||
| 32 | 868047-00 | 1 | PIASTRA | QS | |||
| 33 | 051830000 | 1 | CUSCINETTO | QS | |||
| 35 | 179105100 | 1 | SCATOLA INGRANAGGI | TYPE 1 | QS | ||
| 35 | 248967-00 | 1 | SCATOLA INGRANAGGI | TYPE 2 | QS | ||
| 37 | 179120901 | 1 | GUAINA ISOLANTE | TYPE 1 | QS | ||
| 38 | 179123500 | 1 | PERNO DI BLOCCO | QS | |||
| 39 | 249232-00 | 4 | NUT M4 | QS | |||
| 40 | 869284-05 | 2 | ASS. IMPUGNATURA | QS | |||
| 41 | 868052-00 | 1 | DADO | QS | |||
| 43 | 326286-00 | 1 | SG COLLETTO E DADO | 8mm | QS | ||
| 43 | 326286-01 | 1 | SG COLLETTO E DADO | 6.35mm 1/4 inch | QS | ||
| 44 | 942931-01 | 1 | VITE | QS | |||
| 45 | 860083-02 | 3 | DADO | QS | |||
| 46 | 249432-00 | 1 | VITE | QS | |||
| 47 | 860658-01 | 1 | RONDELLA | QS | |||
| 48 | 868092-00 | 1 | RONDELLA | QS | |||
| 49 | 720674-01 | 1 | TORRETTA | QS | |||
| 50 | 249404-00 | 1 | VITE | QS | |||
| 51 | 249400-00 | 1 | VITE | QS | |||
| 52 | 720664-00 | 1 | SFERA | QS | |||
| 53 | 868082-00 | 1 | MOLLA | QS | |||
| 54 | 025922908 | 5 | MANOPOLA | QS | |||
| 55 | 096815000 | 1 | RIBATTINO | TYPE 1 | QS | ||
| 56 | 096815201 | 1 | ASTA | TYPE 1 | QS | ||
| 57 | 096934010 | 1 | MOLLA | TYPE 1 | QS | ||
| 58 | 943032-00 | 1 | ANELLO D'ARRESTO | QS | |||
| 59 | 179103400 | 1 | PIASTRA DI BASE | TYPE 1 | QS | ||
| 59 | 868613-00 | 1 | ASS. PIASTRA BASE | TYPE 2 | QS | ||
| 60 | 943042-00 | 1 | BASE | TYPE 2 | QS | ||
| 60 | 096120702 | 1 | BASE | TYPE 1 | QS | ||
| 61 | 868566-00 | 1 | ASTA | QS | |||
| 62 | 096934007 | 1 | MOLLA | TYPE 1 | QS | ||
| 62 | 248953-00 | 1 | MOLLA | TYPE 2 | QS | ||
| 63 | 249014-01 | 1 | GUAINA ISOLANTE | QS | |||
| 64 | 249412-20 | 2 | VITE | QS | |||
| 65 | 941580-00 | 1 | SPANNER 13-17MM | QS | |||
| 66 | 868078-00 | 1 | CHIAVE | QS | |||
| 66 | 868078-00 | 1 | CHIAVE | QS | |||
| 69 | 868520-00 | 1 | CORD PROTECTOR | QS | |||
| 70 | 096120703 | 1 | GUIDA | QS | |||
| 72 | 868082-00 | 2 | MOLLA | QS | |||
| 73 | 249108-00 | 2 | GUAINA ISOLANTE | TYPE 2 | QS | ||
| 74 | N110358 | 1 | CUSCINETTO | QS | |||
| 75 | 248084-10 | 4 | VITE | TYPE 2 | QS | 
 
                     
                 Elenco Ricambi
Elenco Ricambi
                         Stampabile
Stampabile
                         Visualizza Pagina intera
Visualizza Pagina intera
                         
     
     
     
     
    