BCASK81D MULTI ATTREZZO Type 1 | Disegni
Documenti
Si prega di visualizzare il menu a tendina dal momento che alcuni prodotti potrebbero avere più disegni
| Item No. | Product Number | Qty Per | Product Description | INFORMAZIONI | Altre informazioni | Markets | Product Status | Guida ai prezzi |
|---|---|---|---|---|---|---|---|---|
| 401 | N490120 | 1 | ASS CORPO | QW | ![]() |
14.00 EUR | ||
| 402 | N501772 | 1 | SG MOTORE | QW | ![]() |
16.88 EUR | ||
| 403 | N498351 | 2 | MORSETTO | QW | ![]() |
1.10 EUR | ||
| 404 | N504087 | 1 | INTERRUTTORE | QW | ![]() |
1.54 EUR | ||
| 405 | N561352 | 1 | MOLLA | QW | ![]() |
1.00 EUR | ||
| 406 | N504468 | 1 | BARRA | QW | ![]() |
1.10 EUR | ||
| 407 | N490297 | 1 | SCATOLA INGRANAGGI | QW | ![]() |
2.00 EUR | ||
| 408 | 330004-02 | 1 | BOCCOLA AD AGHI | QW | ![]() |
2.00 EUR | ||
| 409 | N510015 | 1 | PIGNONE | QW | ![]() |
1.44 EUR | ||
| 410 | N542375 | 2 | KIT DI VITI | QW | ![]() |
1.00 EUR | ||
| 411 | N490311 | 1 | ALBERINO | QW | ![]() |
3.80 EUR | ||
| 412 | N510013 | 1 | INGRANAGGI | QW | ![]() |
3.08 EUR | ||
| 413 | N490299 | 1 | COPERTURA | QW | ![]() |
4.87 EUR | ||
| 414 | N525319 | 3 | MOLLA | QW | ![]() |
1.00 EUR | ||
| 415 | N490312 | 1 | PIGNONE | QW | ![]() |
1.44 EUR | ||
| 416 | N490623 | 1 | ANELLO DI BLOCCO | QW | ![]() |
4.21 EUR | ||
| 417 | 90611829 | 4 | VITE | QW | ![]() |
1.00 EUR | ||
| 418 | N521783 | 1 | ASS. INTERRUTTORE | QW | ![]() |
16.88 EUR | ||
| 419 | 90613570 | 1 | GRILLETTO | QW | ![]() |
2.00 EUR | ||
| 420 | 90638274 | 1 | MOLLA | QW | ![]() |
1.00 EUR | ||
| 421 | N554509 | 1 | leva di sgancio | QW | ![]() |
1.33 EUR | ||
| 422 | 90604113 | 1 | MOLLA | QW | ![]() |
1.00 EUR | ||
| 423 | 478230-00 | 1 | CUSCINETTO | QW | ![]() |
1.00 EUR | ||
| 424 | N541722 | 11 | VITE | QW | ![]() |
1.00 EUR | ||
| 425 | N513389 | 1 | HANDLE | QW | ![]() |
6.05 EUR | ||
| 426 | N542972 | 1 | MOLLA | QW | ![]() |
1.00 EUR | ||
| 427 | N513390 | 1 | HANDLE | QW | ![]() |
4.87 EUR | ||
| 428 | 90565960 | 2 | INSERTO | QW | 1.44 EUR | |||
| 497 | N879820 | 1 | BATTERIA 18V - 2.0AH - 36WH | Li-Ion - BL2018-XJ | QW | ![]() |
56.94 EUR | |
| 498 | 90634971 | 1 | ASS. CARICABATTERIEA | 1A - BDCA1-QW | QW | ![]() |
29.65 EUR | |
| 499 | N545510 | 1 | VOTO ETICHETTA | QW | ![]() |
1.20 EUR | ||
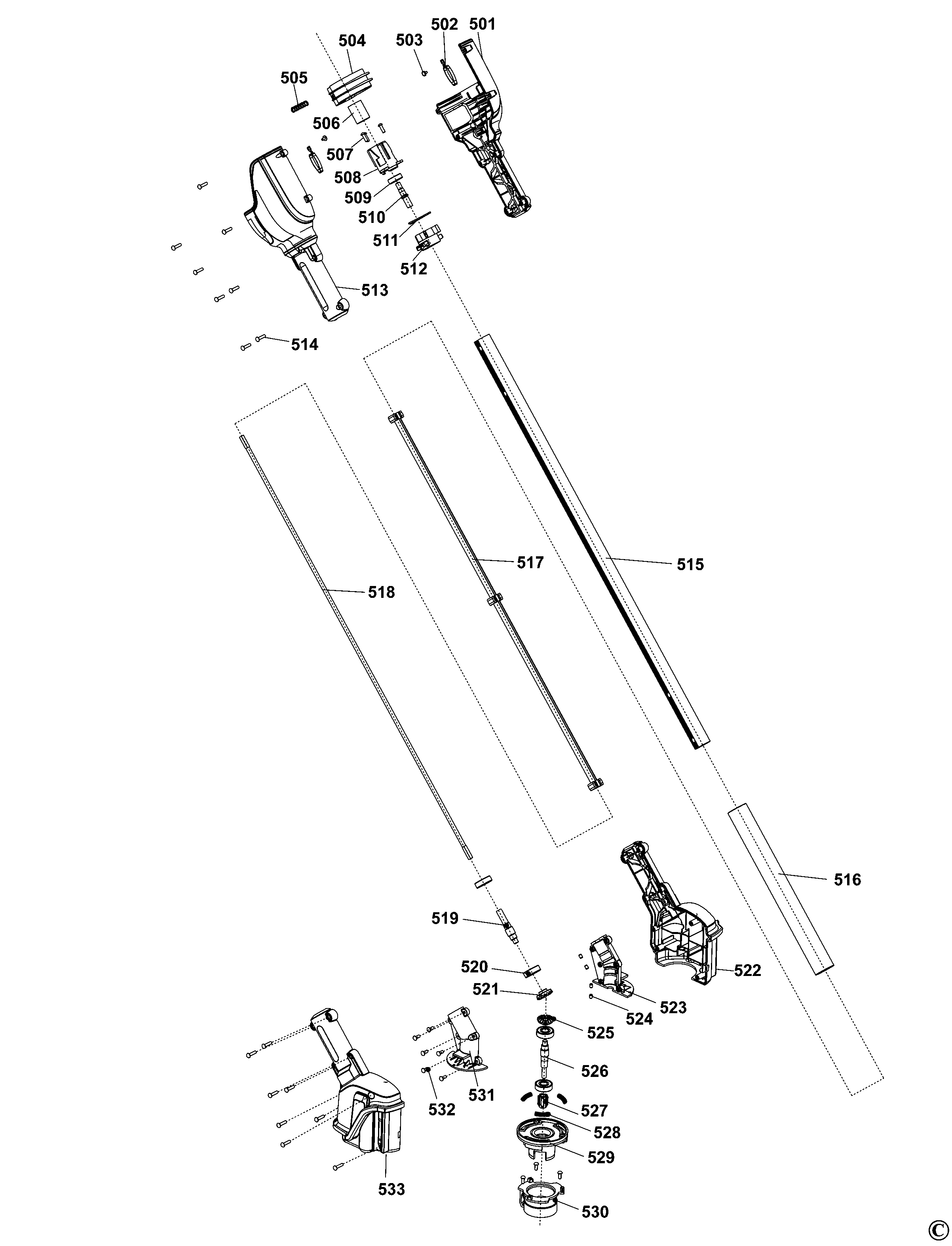
| 501 | N490610 | 1 | ASS CORPO | QW | ![]() |
2.87 EUR | ||
| 502 | N529957 | 2 | MOLLA | QW | ![]() |
1.10 EUR | ||
| 503 | N532358 | 2 | VITE | QW | ![]() |
1.00 EUR | ||
| 504 | N526587 | 1 | MANICOTTO | QW | ![]() |
1.33 EUR | ||
| 505 | N532371 | 1 | MOLLA | QW | ![]() |
1.00 EUR | ||
| 506 | N490313 | 1 | ACCOPIATORE IMPERM. | QW | ![]() |
2.36 EUR | ||
| 507 | 90611829 | 3 | VITE | QW | ![]() |
1.00 EUR | ||
| 508 | N490598 | 1 | PIGNONE | QW | ![]() |
1.33 EUR | ||
| 509 | 574853-08 | 1 | CUSCINETTO | QW | ![]() |
1.74 EUR | ||
| 510 | N490620 | 1 | ALBERINO | QW | ![]() |
8.52 EUR | ||
| 511 | N520834 | 1 | PIASTRA | QW | ![]() |
1.33 EUR | ||
| 512 | N501431 | 1 | MORSETTO | QW | ![]() |
1.33 EUR | ||
| 513 | N490611 | 1 | CORPO | QW | ![]() |
2.87 EUR | ||
| 514 | N541722 | 1 | VITE | QW | ![]() |
1.00 EUR | ||
| 515 | N557859 | 1 | GANASCIA | QW | ![]() |
8.52 EUR | ||
| 516 | N523824 | 1 | GANASCIA | QW | ![]() |
2.36 EUR | ||
| 517 | N557862 | 1 | SUPPORTO | QW | ![]() |
3.80 EUR | ||
| 518 | N557864 | 1 | ALBERO | QW | ![]() |
16.88 EUR | ||
| 519 | N557864 | 1 | ALBERO | QW | ![]() |
16.88 EUR | ||
| 520 | 90581548 | 4 | BEARING,BALL | QW | ![]() |
2.87 EUR | ||
| 521 | N557864 | 1 | ALBERO | QW | ![]() |
16.88 EUR | ||
| 522 | N506380 | 1 | ASS CORPO | QW | ![]() |
3.80 EUR | ||
| 523 | N511602 | 1 | SCATOLA INGRANAGGI | QW | ![]() |
1.54 EUR | ||
| 524 | 90621610 | 4 | SPINA | QW | ![]() |
1.00 EUR | ||
| 525 | N510767 | 1 | ALBERO IN USCITA | QW | ![]() |
8.52 EUR | ||
| 526 | N510767 | 1 | ALBERO IN USCITA | QW | ![]() |
8.52 EUR | ||
| 527 | N490312 | 1 | PIGNONE | QW | ![]() |
1.44 EUR | ||
| 528 | N525319 | 3 | MOLLA | QW | ![]() |
1.00 EUR | ||
| 529 | N490615 | 1 | ACCOPIATORE IMPERM. | QW | ![]() |
2.00 EUR | ||
| 530 | N490623 | 1 | ANELLO DI BLOCCO | QW | ![]() |
4.21 EUR | ||
| 531 | N511603 | 1 | COPERTURA | QW | ![]() |
1.54 EUR | ||
| 532 | 90614124-03 | 9 | VITE | QW | ![]() |
1.00 EUR | ||
| 533 | N506381 | 1 | CORPO | QW | ![]() |
3.08 EUR | ||
| 601 | N490592 | 1 | CORPO | QW | ![]() |
7.18 EUR | ||
| 602 | N541153 | 1 | SCATOLA INGRANAGGI | QW | ![]() |
3.80 EUR | ||
| 603 | N490597 | 1 | ALBERINO | QW | ![]() |
3.08 EUR | ||
| 604 | 624474-01 | 1 | BEARING,NEEDLE | QW | ![]() |
1.33 EUR | ||
| 605 | N508331 | 1 | PIGNONE | QW | ![]() |
1.33 EUR | ||
| 606 | 90581539 | 1 | GRAFFA | QW | ![]() |
1.00 EUR | ||
| 607 | 90559833 | 1 | CUSCINETTO | QW | ![]() |
2.26 EUR | ||
| 608 | N490313 | 1 | ACCOPIATORE IMPERM. | QW | ![]() |
2.36 EUR | ||
| 609 | N490598 | 1 | PIGNONE | QW | ![]() |
1.33 EUR | ||
| 610 | N490605 | 2 | LAMA | QW | ![]() |
10.05 EUR | ||
| 611 | 90568477 | 2 | PIASTRA | QW | ![]() |
1.20 EUR | ||
| 612 | 90566227 | 2 | DISCO | QW | ![]() |
1.10 EUR | ||
| 613 | 90568476 | 1 | DISTANZIALE | QW | ![]() |
1.10 EUR | ||
| 614 | N501801 | 2 | PERNO | QW | ![]() |
1.20 EUR | ||
| 615 | N501792 | 1 | ALBERO IN USCITA | QW | ![]() |
4.87 EUR | ||
| 616 | 574853-01 | 1 | BEARING,BALL | QW | ![]() |
2.67 EUR | ||
| 617 | N529735 | 1 | ANELLO | QW | ![]() |
1.00 EUR | ||
| 618 | N508332 | 1 | INGRANAGGI | QW | ![]() |
4.21 EUR | ||
| 619 | 330004-02 | 1 | BOCCOLA AD AGHI | QW | ![]() |
2.00 EUR | ||
| 620 | N490607 | 1 | SUPPORTO | QW | ![]() |
3.80 EUR | ||
| 621 | 376614-01 | 2 | DISTANZIALE | QW | ![]() |
1.10 EUR | ||
| 622 | 90568482 | 6 | DISTANZIALE | QW | ![]() |
1.00 EUR | ||
| 623 | 098022-16 | 6 | VITE | QW | ![]() |
1.00 EUR | ||
| 624 | 330021-06 | 6 | DADO | QW | ![]() |
1.00 EUR | ||
| 625 | 90568498 | 1 | PIASTRA | QW | ![]() |
1.33 EUR | ||
| 626 | N552914 | 2 | VITE | QW | ![]() |
1.10 EUR | ||
| 627 | N541722 | 7 | VITE | QW | ![]() |
1.00 EUR | ||
| 628 | 90611829 | 3 | VITE | QW | ![]() |
1.00 EUR | ||
| 629 | 90621610 | 3 | SPINA | QW | ![]() |
1.00 EUR | ||
| 630 | 585381-00 | 1 | GRASSO | 4 grams | QW | 32.42 EUR | ||
| 631 | N526587 | 1 | MANICOTTO | QW | ![]() |
1.33 EUR | ||
| 632 | N529957 | 2 | MOLLA | QW | ![]() |
1.10 EUR | ||
| 633 | N532358 | 2 | VITE | QW | ![]() |
1.00 EUR | ||
| 634 | N532371 | 1 | MOLLA | QW | ![]() |
1.00 EUR | ||
| 635 | N541722 | 9 | VITE | QW | ![]() |
1.00 EUR | ||
| 699 | N545868 | 1 | VOTO ETICHETTA | QW | ![]() |
1.10 EUR |
* I prezzi indicati possono subire variazioni e non sono inclusivi di IVA ed eventuali spese di trasporto. Ci riserviamo la possibilità di variare i prezzi e le condizioni senza preavviso.

